Главная Случайная страница


Полезное:

Как сделать разговор полезным и приятным Как сделать объемную звезду своими руками Как сделать то, что делать не хочется? Как сделать погремушку Как сделать так чтобы женщины сами знакомились с вами Как сделать идею коммерческой Как сделать хорошую растяжку ног? Как сделать наш разум здоровым? Как сделать, чтобы люди обманывали меньше Вопрос 4. Как сделать так, чтобы вас уважали и ценили? Как сделать лучше себе и другим людям Как сделать свидание интересным?


Категории:

АрхитектураАстрономияБиологияГеографияГеологияИнформатикаИскусствоИсторияКулинарияКультураМаркетингМатематикаМедицинаМенеджментОхрана трудаПравоПроизводствоПсихологияРелигияСоциологияСпортТехникаФизикаФилософияХимияЭкологияЭкономикаЭлектроника






Техническое обслуживание ПНР в пожарных частях





Отмочка (оттаивание). ПНР на пожарах загрязняются различными веществами, которые перед мойкой рукавов необходимо удалить. Для этого рукава помещают в ванну с водой, размером 0,5´1,5´6 м. Продолжительность отмочки, в зависимости от степени загрязнения, может продолжаться от нескольких минут до нескольких часов. Сокращение времени отмочки достигается использованием моющих веществ, применением барботажа, подогревом воды.

Замерзшие рукава оттаивают, подавая в ванну горячую воду или пар.

Мойка рукавов может осуществляться различными способами.

Мойка струями из пожарных стволов наиболее доступна. Однако она требует большого расхода воды и времени (20 – 25 мин на один рукав).

Мойку можно производить и щетками с водой, поступающей через полую ручку щетки. Этот способ лучше первого, так как обеспечивает более тщательную очистку, чем первый. Однако его производительность очень низкая.

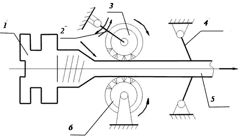
Наилучшим способом является мойка рукаво-моечными машинами. Принципиальная схема такой машины представлена на рис. 14.10. Щетки 3 и 6 приводятся во вращение общим приводом от электродвигателя. Верхняя цилиндрическая щетка 3 шарнирно закреплена и перемещается рычагом 2 при продвижении соединительной головки.

На машине имеются устройства для подвода и отвода воды (на рисунке показано условно стрелками). На выходе из машины установлены упругие пластины 4 (резино-тканевые), снимающие излишки воды с поверхности чехлов.

 
 

 


Рис. 14.10. Кинематическая схема рукавомоечной машины:

1 – соединительная головка; 2 – рычаг; 3 – верхняя щетка; 4 – упругая пластина;
5 – рукав; 6 – нижняя щетка

 

Протягивание рукавов может производиться вручную или механически.

Испытание рукавов. Испытанию подвергаются все рукава: всасывающие, напорно-всасывающие и напорные. Нормативы испытаний приводятся в Инструкции по эксплуатации пожарных рукавов.

Всасывающие рукава испытывают при проведении ТО-1 пожарного автомобиля, а также после ремонта. Всасывающие рукава испытывают на герметичность давлением и при вакууме. Второй метод испытаний позволяет определять отслоение внутреннего слоя резины.

Для испытания под давлением один конец рукава подсоединяют к источнику давления, а другой закрывают заглушкой с краником для выпуска воздуха. Давление создают водой.

В зависимости от диаметра рукава в них создают давление от 0,2 до 1,0 МПа и выдерживают его в течение 10 мин.

При испытании на рукаве не должно быть разрывов, просачивания воды в виде росы и местных вздутий, а также деформации металлической спирали.

Для испытания на герметичность один конец рукава присоединяют к вакуумному насосу, а второй закрывают заглушкой. В рукаве создают вакуум 0,8±0,1 МПа и выдерживают его три минуты. Падение вакуума при этом не должно превышать 0,013 МПа. В процессе испытания не должно быть сплющиваний и изломов рукавов.

Рукава, не выдержавшие испытаний, а также забракованные новые рукава, вышедшие из строя ранее двух лет с момента ввода в эксплуатацию, списывают и составляют акт для их замены.

Напорные рукава испытывают при введении в эксплуатацию после каждого обслуживания, после пожара, а также два раза в год при сезонном обслуживании пожарных автомобилей. На новые рукава после испытания заводят паспорта и передают в эксплуатацию.

ПНР испытывают под давлением 1 МПа, создаваемым пожарными насосами. Рукава на рабочее давление 3 МПа испытывают от насосов высокого давления. На втором конце необходимо поставить заглушку.

Созданное давление поддерживают на время, достаточное для осмотра, но не менее трех мин.

Рукава первого сорта не должны иметь свищей и должны быть герметичны в месте навязки их на соединительные головки. У рукавов второго сорта допускается не более трех пылевидных свищей, не превышающих при направлении вверх 150 мм.

Сушка рукавов. Влага в чехлах рукавов, конденсирующаяся на гидроизоляционном слое, оказывает влияние на их прочность. В чехле могут развиваться микробиологические процессы. Зимой при следовании на пожар влажные рукава замерзают, их трудно раскатывать.

Сушка рукавов может производиться искусственно в сушильных установках и естественным способом.

Искусственная сушка ПНР осуществлятся нагретым воздухом до температуры, не превышающей 50 °С – для прорезиненных рукавов и 70 °С – для льняных рукавов. Повышение температуры сушки приводит к неоправданному старению материалов рукавов.

Выбор способа сушки обусловлен количеством рукавов, поступающих на обслуживание, возможностями пожарных частей.


Башенная сушилка представляет собой вертикальный канал с квадратным или прямоугольным сечением площадью 8 – 10 м2, высотой более 20 м. Вместимость такой башни до 45 рукавов (рис. 14.11). Нагрев воздуха в ней может осуществляться различными нагревателями. Подачу нагретого воздуха целесообразно организовывать равномерно по высоте. Подвод нагретого и отвод увлажненного воздуха регулируется заслонками, расположенными в верхней и нижней частях канала так, чтобы скорость теплоносителя не превышала 4 м/с.

Продолжительность сушки в среднем составляет 2 – 3 суток.

Недостаток башенных сушилок обусловлен высокой стоимостью, низким КПД, неравномерностью сушки рукавов, трудностями регулирования параметров теплоносителя.

Барабанная сушилка (рис. 14.12) представляет собой цилиндрическую камеру 4, внутри которой вращается барабан 8 типа “беличьего колеса”. Привод барабана осуществляется от электромотора 1 через червячный редуктор 2 и цепную передачу 3.

Несколько мокрых рукавов наматывают на барабан так, чтобы один конец рукавной линии подсоединялся к штуцеру 9 для подвода внутрь рукавов нагретого до 50 °С воздуха (до 70 °С – для льняных рукавов). Воздух от нагревателя 11 поступает в рукава, как показано на рис. 14.12. Сушка производится при циркуляции воздуха, осуществляемой вентилятором 10.

При отсутствии рукавных сушилок рукава можно сушить вне помещений и в помещениях.

В помещениях рукава сушат, если в них достаточно нагрет воздух или
при наличии теплоизлучающих приборов. Рукава рекомендуется распола-
гать на решетчатых стеллажах, размещаемых на расстоянии не менее 1 м
от теплоизлучающих приборов. Продолжительность сушки не должна пре-
вышать 24 ч.

 
 

 


Рис. 14.12. Схема сушилки барабанного типа:

1 – электродвигатель; 2 – червячный редуктор; 3 – цепная передача;
4 – цилиндрическая камера; 5 – рукав; 6 – выпускное отверстие; 7 – конденсатор;
8 – барабан; 9 – штуцер; 10 – вентилятор; 11 – подогреватель; 12 – приемное отверстие

 

Вне помещения рукава сушат на воздухе при температуре выше 20 °С и относительной влажности ниже 80 %. Рукава размещают на решетчатых стеллажах, защищенных от прямого действия солнечных лучей и осадков.

Запрещается сушить рукава на отопительных батареях и котлах, крышах зданий, а также подвешивать их на металлических предметах. В этих случаях не обеспечивается равномерное удаление влаги, а неравномерный прогрев способствует локальному старению рукавов.

Сматывание рукавов можно осуществлять в одинарную или двойную скатку на специальных станках (рис. 14.13).

При сматывании одинарной скатки соединтельную головку с рукавом вставляют между вилками верхнего диска 3. Этот диск приводится во вращение с помощью цепной передачи 2 от электромотора 1.

При сматывании двойной скатки соединительную головку рукава закрепляют на нижнем диске 4 и наматывают первую половину рукава до специальной метки. После этого среднюю часть рукава закладывают в вилку верхнего диска 3 и перематывают на него часть скатки с нижнего диска и свободный конец рукава. Скользящая муфта 5 выравнивает линейные скорости дисков при сматывании двойной скатки.


Для перемотки рукавов на новую складку(ребро) на станок устанавливают, в качестве направлющего устройства, две пары свободно вращающихся валиков. Они попарно расположены в горизонтальной и вертикальной плоскостях. Проходя через них, рукава скатываются на новую складку с одновременным формированием скатки на верхнем диске. Рукава перекатывают на новую скатку два раза в год.

Не следует скатывать рукава туго. Этим предотвращаются чрезмерные напряжения в местах складки и обеспечивается свободный доступ воздуха к ткани чехла внутренних витков складки.

Ремонт рукавов осуществляют различными способами. На пожарах течи и свищи устраняют наложением зажимов на поврежденные места. В пожарных частях рукава ремонтируют способом наклеивания или вулканизации заплат на поврежденные места.

Хранение рукавов на постах осуществляется в помещениях при температуре воздуха от 0 до 25 °С и относительной влажности
50 – 60 %. Температура и относительная влажность контролируются приборами.

Объем помещения определяется из условия размещения 7 рукавов
в 1 м2. На складе должна быть естественная вентиляция, а проникновение солнечных лучей необходимо исключить. Стеллажи должны устанавливаться на расстоянии не менее одного метра от отопительных приборов.

Рукава рекомендуется укладывать на стеллажи в поддонах, охватывающих 1/3 окружности одинарной скатки.

Организация технического обслуживания ПНР в пожарных частях имеет ряд недостатков:

1. Оборудование для технического обслуживания используется неэффективно ввиду малой его загрузки.

2. Замена пожарных рукавов возможна только при возвращении ПА после пожара в часть.

3. В каждой пожарной части на каждую автоцистерну необходимо иметь по три комплекта ПНР.

Принцип обслуживания, при реализации которого она осуществляется в каждой пожарной части, называется децентрализованным обслуживанием ПНР.

Изыскивая пути совершенствования обслуживания ПНР, была обоснована централизованная система их в масштабе гарнизонов пожарной охраны.

Централизованная система обслуживания ПНР. Ее сущность состоит в том, что рукава всех пожарных частей обслуживаются на одном посту по обслуживанию ПНР. На этом же посту осуществляется хранение одного комплекта ПНР, равного их суммарному количеству на всех пожарных автомобилях в частях гарнизона пожарной охраны. Таким образом, вместо трех комплектов ПНР при децентрализованном обслуживании используется только два их комплекта.

На посту обслуживания ПНР используется такое же оборудование, как и в пожарных частях. Следовательно, во много раз уменьшилось его количество в гарнизоне пожарной охраны.

Для создания поточной линии обслуживания ПНР применяется специальный многофункциональный агрегат, обеспечивающий их испытание и сушку. Он является основой поточного обслуживания рукавов.

Принципиальная схема агрегата испытания сушки и талькирования рукавов (АИСТ) представлена на рис. 14.14. В исходном положении краны и вентили закрыты. Для обслуживания рукавов их помещают на барабан 16 и соединяют с напорными головками 10 и 14 (через переходники). На барабан помещают рукава различных диаметров: 51, 61, 77, 84 и 150 мм в количестве, соответственно равном 5, 4, 3, 2 и 1 рукав. Перед испытанием клапан 9 переключают в положение “Закрыто”, т.е. он становится заглушкой.


 

 
 

 


Рис. 14.14. Принципиальная схема коммуникаций АИСТ:

1, 2, 6 – вентили; 3, 4 – шаровые краны; 5 – баллон с тальком; 7 – узел уплотнения
вращающихся и неподвижных деталей; 8 – корпус; 9 – двойной клапан;
10, 14 – рукавные головки; 11 – полый вал; 12 – испытуемые рукава; 13 – калорифер;
15 – цепная передача с электромотором; 16 – барабан типа “беличьего колеса”

Испытание рукавов производят водой, подаваемой от насосной станции, входящей в комплект АИСТа, насосом НШН-600. Вода поступает при открывании вентиля 2 в полый вал 11, а затем в рукава 12. Давление контролируют по манометру, расположенному выше вентиля 2. Состояние рукавов проверяют визуально, вращая барабан 16, используя цепную передачу 15.

Сушка рукавов производится воздухом, подаваемом от компрессора при открытых кране 3 и вентиле 6, а также клапане 9. Сжатый воздух удалит воду из системы и она уйдет в слив. Поступивший в корпус 8 агрегата воздух, нагреваясь в калорифере 13, будет поступать снова в корпус агрегата, высушивая чехлы рукава. Воздух, проходящий в полостях вала и рукавов, удалит из них остатки влаги.

При необходимости талькирования рукавов открывают кран 4 и тальк из баллона 5 будет эжектироваться в систему.

Оборудование по обслуживанию ПНР устанавливают в соответствии с принятой последовательностью обслуживания (рис. 14.15). В этой линии предусмотрена накопительная катушка для подготовки необходимого количества ПНР, закладываемых в АИСТ.

 
 

 


Рис. 14.15. Технологическая линия обслуживания ПНР:

1 – ванна для отмочки рукавов; 2 – рукавомоечная машина (РМ); 3 – накопительная
катушка (НК); 4 – АИСТ; 5 – устройство для скатки рукавов

 

Для обслуживания ПНР создаются рукавные посты. Их оснащение, а следовательно, и размеры помещения зависят от величины обслуживаемых пожарных частей. На рис.14.16 представлен план рукавного поста с использованием двух агрегатов АИСТ. Размер помещения такого поста 12´48 м. На нем указаны используемое оборудование и его размещение, а в кружочках – основные помещения.

Система централизованного обслуживания ПНР предусматривает проведение их ремонта, а также организацию замены использованных на пожарах рукавов рукавами, которые были обслужены. Для этой цели на посту имеется специальный рукавный перевозчик, обеспечивающий замену рукавов.

Рукавный перевозчик можно использовать по одному из трех вариантов.

Вариант 1. Замена рукавов на месте тушения пожара. Таким образом, восстанавливается боевая готовность ПА.

Вариант 2. В случае использования на пожаре (или учении) от 1 до 3 рукавов, их замена производится в пожарной части. Для этого в ПА предусматривается иметь по три резервные рукава диаметром 51 мм. Рукавный перевозчик один или два раза объезжает пожарные части и заменяет использованные рукава.

Вариант 3. Доставка использованных рукавов на рукавный пост осуществляется силами пожарных частей, если маршрут ПА при возвращении их в часть проходит недалеко от рукавного поста.

 

 

Рис. 14.16. План рукавного поста:

1 – участок мойки, испытаний и сушки рукавов; 2 – гараж (стоянка рукавного
перевозчика); 3 – мастерская технического обслуживания; 4 – склад рукавов; 5 – склад новых рукавов; 6 – помещение дежурного; 7 – тамбур-шлюз; 8 – стеллаж для рукавов;
9 – ванна для отмочки рукавов; 10 – накопительная катушка; 11 – АИСТ;
12 – приспособление для намотки рукавов; 13 – стол контроля и ремонта рукавов;
14 – рукавомоечная машина

 

В небольших гарнизонах пожарной охраны (не более трех пожарных частей) рукавный перевозчик нецелесообразен и обмен ПНР осуществляется только по этому варианту.

Основы расчета централизованных рукавных баз постов. Для проектирования рукавных постов необходимо определить их пропускную способность, количество резервных ПНР и перевозчиков, а также место дислокации.

Пропускная способность поста оценивается количеством потребных основных агрегатов – АИСТов. Их количество, шт., определяется по формуле

N А = (14 N н + 400 N пч)16-4, (14.21)

где N н – численность населения города, тыс. человек; N пч – число пожарных частей в городе.

Число рукавомоечных машин, устройств для скатки рукавов и ванн отмочек принимают по одному образцу на 4 АИСТа.

Количество автомобилей доставки руковов (N АДР) определяется из двух условий: по интенсивности потока их выездов λАДР и необходимости прибытия рукавного автомобиля к месту вызова не позднее времени локализации пожара.

Интенсивность λАДР, вызовов/сут, вычисляют по формуле

λАДР = (16 N н + 500 N пч)10-4. (14.22)

По значению λАДР определяют N АДР по табл. 14.4.

Таблица 14.4

λАДР До 0,4 0,4-2,8 2,8-7,6 7,6-14,8 Более 14,8
N АДР          

 

По второму условию N АДР определяют по формуле

N' АДР = L/ 2 R АДР, (14.23)

где L – наибольшая протяженность города, км; R АДР – радиус обслуживания рукавного автомобиля, равный 12 км.

Сравнивая N АДР и N' АДР, выбирают большее из них.

Численность водительского состава рекомендуется определять по
К в = 3,5 N АДР.

Численность производственных рабочих определяется по выражению

К р = (6 N н + 400 N пч)10-4 + , (14.24)

где – число рукавов в боевых расчетах пожарных частей, шт.;
– число резервных рукавов, шт.

Резервный запас рукавов в гарнизоне,шт., определяют по формуле

= (1 + 4,6 10-4) + 3 N пч, (14.25)

где – требуемое расчетное число используемых на пожаре рукавов (в табл. 14.5 N н – численность жителей в тыс.чел); N А– количество АИСТов на посту, шт.

В каждой пожарной части рекомендуется иметь 3 резервных ПНР.

Таблица 14.5

N н До 50 50-100 100-250 250-500 500-1000 1000-2000 2000-3000 3000-4000 4000-5000 5000-6000 6000-7000 7000-8000
                       

Численность водительского состава ЦРБ определяют по формуле

. (14.26)

Координаты Х и У места дислокации рукавного поста,км, на территории гарнизона города определяют по формулам:

и (14.27)

где Хi и У – координаты дислокации пожарных частей на территории города, км; ni – число боевых и учебных выездов с использованием ПНР в течение года.

Обосновать размещение поста в городах по координатам Х и У трудно. Поэтому стремятся выбрать место для его размещения недалеко от рассчитанного варианта.

 







Date: 2015-05-09; view: 1121; Нарушение авторских прав



mydocx.ru - 2015-2026 year. (1.275 sec.) Все материалы представленные на сайте исключительно с целью ознакомления читателями и не преследуют коммерческих целей или нарушение авторских прав - Пожаловаться на публикацию