Главная Случайная страница


Полезное:

Как сделать разговор полезным и приятным Как сделать объемную звезду своими руками Как сделать то, что делать не хочется? Как сделать погремушку Как сделать так чтобы женщины сами знакомились с вами Как сделать идею коммерческой Как сделать хорошую растяжку ног? Как сделать наш разум здоровым? Как сделать, чтобы люди обманывали меньше Вопрос 4. Как сделать так, чтобы вас уважали и ценили? Как сделать лучше себе и другим людям Как сделать свидание интересным?


Категории:

АрхитектураАстрономияБиологияГеографияГеологияИнформатикаИскусствоИсторияКулинарияКультураМаркетингМатематикаМедицинаМенеджментОхрана трудаПравоПроизводствоПсихологияРелигияСоциологияСпортТехникаФизикаФилософияХимияЭкологияЭкономикаЭлектроника






Устойчивость и управляемость пожарного автомобиля





Тягово-скоростные свойства ПА определяют потенциальную, т.е. предельно возможную скорость следования ПА к месту вызова. Устойчивость и управляемость ПА ограничивают v max в зависимости от дорожных и транспортных условий.

Устойчивость АТС – способность АТС сохранять заданное водителем движение. Показатели устойчивости ПА характеризуют только возможности АТС без учета возможностей водителя по управлению автомобилем для реализации задаваемого движения.

Управляемость АТС – способность АТС реагировать на воздействие водителя на органы управления (руль, педаль муфты сцепления, педаль тормоза, рычаг коробки передач). Показатели управляемости АТС характеризуют поведение системы автомобиль – водитель.

Единых оценочных показателей устойчивости и управляемости АТС нет. «Исключить» водителя удалось только при одном виде испытаний на устойчивость – опрокидывание АТС на наклонной платформе. При всех других видах испытаний АТС на устойчивость и управляемость фактически оценивается поведение системы автомобиль – водитель. Поэтому сейчас принято говорить об устойчивости управления АТС, которую классифицируют:

По виду потери устойчивости управления (рис. 6.10, а, б, в): продольная; поперечная.

           
 
 
   
 
   
в

 

 


Рис. 6.10. Потеря устойчивости управления автомобилем:

а – на уклоне (продольная); б – на уклоне (поперечная); в – на повороте (поперечная)

По результату (проявлению) потери устойчивости управления (рис. 6.10):

опрокидывание (проявление – разгрузка колес одной оси или стороны автомобиля);

занос – скольжение колес относительно опорной поверхности, не выполняется условие (6.9);

отклонение от траектории движения (рис. 6.11, а) – траекторная устойчивость управления АТС;

отклонение от курса (направления) движения (рис. 6.11, б) курсовая устойчивость управления АТС

 

 


Рис. 6.11. Потеря устойчивости управления автомобилем:

а – траекторией; б – курсом; В К – ширина разметки полосы движения; 1 – поперечное смещение; 2 – угловое смещение; 1 – центр полосы движения; 2 – разметка;
3 – автомобиль до потери устойчивости управления; 4 – автомобиль при потере
устойчивости управления

 

По режиму движения, при котором наступила потеря устойчивости управления АТС: статическая, динамическая.

Устойчивость ПА против опрокидывания. Опрокидывание ПА может произойти из-за действия поперечной составляющей силы веса (Gg)τ при движении по косогору или из-за действия силы инерции Pj при движении на повороте. Опрокидывание ПА наступает при разгрузке колес одной стороны автомобиля, т. е. при R 13 = 0 (рис. 6.10, б, в). Поэтому для движения ПА по косогору и на повороте необходимо выполнение соответственно двух условий:

 

t
; (6.57)

. (6.58)

Так как

(Gg) n = Gg cosb, (6.59)

(Gg) t = Gg sinb, (6.60)

Pj= G (v2/R) (6.61)

(R – радиус поворота ПА), то для движения ПА без опрокидывания необходимо выполнение условий:

tgb £ B/ 2 H; (6.62)

v
, (6.63)

 

которые получены соответственно из формул (6.57) и (6.58).

Отношение

К=В/ 2 Н (6.64)

 

называют коэффициентом устойчивости автомобиля против опрокидывания. Для определения К автомобиль устанавливают на наклонную платформу (см. рис. 6.10, б), замеряют угол b, при котором произошла разгрузка колес одной стороны автомобиля, и затем по формуле (6.63) определяют численное значение K.

Неравенства (6.58) и (6.59) составлены без учета деформации шин, подвески и кузова АТС, поэтому значения К, вычисленные по экспериментальному значению b, на 10 – 15 % меньше, чем определенные по формуле (6.64). При определении коэффициента К пожарных автоцистерн необходимо учитывать также уменьшение К из-за смещения центра масс жидкости относительно цистерны при частичном ее заполнении. Если масса жидкости составляет не более 30 % от общей массы ПА, то уменьшение коэффициента К не превышает 5 – 7 % и определить его экспериментально сложно. Поэтому для оценки эффективности мероприятий по обеспечению безопасности движения пожарных автоцистерн необходимо использовать другие виды испытаний на устойчивость управления АТС. Такими видами испытаний являются «поворот» и «переставка» (рис. 6.12).

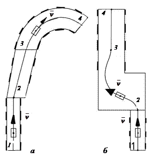
При испытании «поворот» водитель ПА постепенно, от заезда к заезду, увеличивает скорость движения по прямой 12 (рис.6.12, а). На участке 23 водитель должен, не снижая скорости, пройти дугу поворота радиусом R = 30 – 60 м. При испытании фиксируется скорость, при которой на участке 23 происходит или отрыв колес одной стороны ПА от дороги, или занос, или выход ПА из коридора безопасности (под коридором безопасности понимается ширина разметки проезжей части дороги на повороте
30 – 60 м).


 

 
 

 


Рис. 6.12. Определение предельной скорости пожарного автомобиля:

а – на повороте; б – при смене полосы движения (обгоне); 12 – прямолинейное
движение с – v- const; 23 – переходной участок; 34 – движение с постоянной
скоростью и углом поворота управляемых колес

 

При испытании «переставка» имитируется обгон или объезд ПА внезапного препятствия. Испытания проводятся аналогично испытанию «поворот», но на участке с иной разметкой (рис. 6.12, б). Испытание при длине «переставки» L п=12 м имитирует обгон в городских условиях движения, L п=20 м при движении за городом.

Испытания «поворот» и «переставка» проводятся на специально оборудованных площадках автомобильных полигонов водителями, прошедшими курс специальной подготовки.

Устойчивость ПА против заноса. Занос ПА может произойти из-за действия поперечной составляющей силы веса (Gg)t при движении по косогору или из-за действия силы инерции Рj при движении на повороте.

Занос колеса ПА наступает при невыполнении неравенства (6.63). Если Р к n= 0, то, чтобы избежать бокового скольжения колес по косогору и при повороте, необходимо выполнение соответственно двух условий:

(Gg) t £ j (Gg) n; (6.65)

Рj £ j G. (6.66)

 

После преобразований формул (6.65) и (6.66) с учетом формул (6.59), (6.60) и (6.61) условия движения без заноса записываются в виде

 

; (6.67)

v
. (6.68)

 

Сравнение формул (6.62) и (6.67) и формул (6.63) и (6.68) позволяет заключить, что в большинстве случаев занос ПА будет предшествовать его опрокидыванию (j < K). Следовательно, опрокидывание ПА в реальных условиях может произойти при углах косогора и скоростях меньших, чем определенных экспериментально на стенде опрокидывания и при испытаниях «поворот» и «переставка». Поэтому угол косогора, который разрешается преодолевать ПА, уменьшается вдвое, т. е. [b] < 0,5b.

При наличии продольной силы Xn (см. рис. 6.2) вероятность бокового скольжения колеса увеличивается, так как часть силы сцепления Р j n использована силой тяги Р к или торможения Р т колеса. Поэтому при движении в режиме, предшествующем буксованию ведущих колес или блокировке колес при торможении, достаточно незначительной боковой силы для потери поперечной устойчивости ПА. Так как у большинства ПА ведущими являются колеса задней оси, то для устранения заноса заднего моста ПА при повороте или торможении необходимо уменьшить касательную реакцию Хп на ведущих колесах, отпустив педаль подачи топлива или прекратив торможение, и повернуть колеса в сторону начавшегося заноса. Вся сила сцепления Р j n будет реализовываться для предотвращения бокового скольжения Yn – занос прекратится. Сразу же после прекращения заноса управляемые колеса следует повернуть в нейтральное положение.

Потеря устойчивости управления в результате отклонения от траектории движения (см. рис. 6.11, а) наблюдается, как правило, при движении ПА со скоростью, близкой к v max. Предельной скоростью [ v т] по траекторной устойчивости управления считается скорость, после превышения которой водитель не может на прямой дороге обеспечить движение ПА в коридоре безопасности (внутри разметки на дороге полосы движения). На дорогах с ровным асфальтобетонным покрытием конструкция всех исправных ПА обеспечивает v mах < [ v т]. Появление [ v т] < v max возможно только у технически неисправных ПА или у пожарных автоцистерн с частичным заполнением цистерны. Основные причины уменьшения [ v т]: неправильная установка управляемых колес ПА, дисбаланс (неуравновешенность) управляемых колес, незначительный разворот одной оси ПА из-за «проседания» рессор с одной стороны автомобиля, различие между давлениями шин колес одной оси (уменьшение давления в шине меньше номинального).


Потеря устойчивости управления в результате отклонения от курса (направления) движения (рис. 6.12, б) наблюдается при движении со скоростью, близкой к v max, и при торможении. Предельной скоростью [ v к] по курсовой устойчивости управления считается скорость, после превышения которой водитель не может обеспечить движение ПА в коридоре безопасности. С увеличением длины ПА требования к курсовой устойчивости управления ужесточаются, так как выход части автомобиля за пределы коридора безопасности появляется при меньших углах отклонения от курса. Причины ухудшения курсовой устойчивости управления при движении по прямой ровной дороге те же, что и для [ v т]. Основное внимание при обеспечении курсовой устойчивости управления необходимо уделять исправности тормозной системы.

При скорости [ v к] на торможение ПА оказывает влияние соотношение между тормозными усилиями колес и последовательностью срабатывания тормозов. Тормозные усилия колес одной оси ПА должны быть равны, их срабатывание должно быть одновременным. Раннее включение тормозов передней оси ПА позволяет уменьшить S т из-за лучшего использования максимальной силы сцепления при увеличении нагрузки на передние колеса при торможении, но уменьшает [ v к], т. е. увеличивает вероятность заноса задней оси, особенно на дорогах с малым коэффициентом сцепления .

Обеспечение [ v т] > v max и [ v к] > v max при эксплуатации ПА зависит от систематического контроля за техническим состоянием шин, ходовой части и рулевого управления.

 







Date: 2015-05-09; view: 1258; Нарушение авторских прав



mydocx.ru - 2015-2026 year. (0.791 sec.) Все материалы представленные на сайте исключительно с целью ознакомления читателями и не преследуют коммерческих целей или нарушение авторских прав - Пожаловаться на публикацию