Главная Случайная страница


Полезное:

Как сделать разговор полезным и приятным Как сделать объемную звезду своими руками Как сделать то, что делать не хочется? Как сделать погремушку Как сделать так чтобы женщины сами знакомились с вами Как сделать идею коммерческой Как сделать хорошую растяжку ног? Как сделать наш разум здоровым? Как сделать, чтобы люди обманывали меньше Вопрос 4. Как сделать так, чтобы вас уважали и ценили? Как сделать лучше себе и другим людям Как сделать свидание интересным?


Категории:

АрхитектураАстрономияБиологияГеографияГеологияИнформатикаИскусствоИсторияКулинарияКультураМаркетингМатематикаМедицинаМенеджментОхрана трудаПравоПроизводствоПсихологияРелигияСоциологияСпортТехникаФизикаФилософияХимияЭкологияЭкономикаЭлектроника






Классификация пожарных рукавов





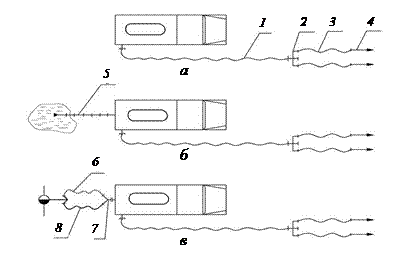
Вода для тушения пожаров подается насосами пожарных автомобилей и мотопомп из различных водоисточников. Наиболее простая схема подачи воды – это забор ее из цистерны пожарного автомобиля и подача насосом через магистральные 1 и рабочие 3 рукавные линии
к стволам 4 (рис. 3.1, а).

 

Рис. 3.1. Схемы забора и подачи воды:

а – от цистерны пожарного автомобиля; б – от открытого водоисточника;
в – от водопроводной сети; 1 – магистральная рукавная линия; 2 – разветвление
трехходовое; 3 – рабочая рукавная линия; 4 – ствол пожарный ручной;
5 – всасывающий рукав; 6 –напорно-всасывающий рукав; 7 – рукавный водосборник;
8 – рукав напорный для работы от гидранта

Пожарные рукава, по которым огнетушащие вещества подаются под давлением, называются напорными. В случае использования открытых водоисточников (рис. 3.1, б) для забора воды используют всасывающие рукава 5. При заборе воды из водопроводной сети (рис. 3.1, в) используется напорно-всасывающий рукав 6 и короткий напорный рукав 8.

При достаточном давлении в водопроводной сети вода поступает в насос по рукавам 6 и 8. В случае недостаточного напора она всасывается насосом по напорно-всасывающему рукаву 6.

Всасывающие рукава. Для комплектации пожарных автомобилей и мотопомп используются рукава всасывающие классов «В» (рабочая среда – вода) и «КЩ» (рабочая среда – слабые растворы неорганических кислот и щелочей), подразделяющиеся в зависимости от условий работы на две группы: 1) всасывающие – для работы при разрежении и забора воды из открытых водоисточников; 2) напорно-всасывающие – для работы под давлением и при разрежении.

Устройство всасывающих рукавов показано на рис.3.2. Они состоят из внутренней резиновой камеры 3, двух текстильных слоев 2 и 6, проволочной спирали 4, промежуточного резинового слоя 5 и наружного текстильного слоя 1.

Резиновые слои обеспечивают рукаву воздухо- и водонепроницаемость, а также эластичность и гибкость. Проволочная спираль 4 увеличивает механическую прочность и исключает сплющивание рукава под действием атмосферного давления. На концах всасывающих рукавов имеются мягкие (без спирали) манжеты для навязывания рукава на головки соединительные всасывающие 7 отожженной оцинкованной проволокой диаметром 2,0 – 2,6 мм или металлическими оцинкованными хомутами.

 
 

 

 


Рис. 3.2. Конструктивное исполнение всасывающих и напорно-всасывающих рукавов:

1 – наружный текстильный слой; 2, 6 – текстильный слой; 3 – внутренняя резиновая камера; 4 – проволочная спираль; 5 – промежуточный резиновый слой;
7 – головка соединительная всасывающая

 

На наружную поверхность манжеты каждого рукава наносится маркировка, содержащая наименование завода-изготовителя, номер стандарта, группу, тип, внутренний диаметр, рабочее давление (для рукавов 2-й группы), длину и дату изготовления.

Технические характеристики всасывающих рукавов, используемых на передвижной пожарной технике, представлены в табл. 3.1.

Таблица 3.1

Параметры Размерность Внутренний диаметр рукава, мм
     
Длина манжеты мм      
Толщина резинового слоя, не менее: внутреннего промежуточного   мм мм   2,0 1,5   2,0 1,5   2,2 1,5
Длина рукава мм      
Минимальный радиус изгиба мм      
Рабочее давление МПа 0,5 - -
Рабочий вакуум МПа 0,08 0,08 0,08
Масса 1 м рукава кг 3,1 6,3 13,5

 

Длина всасывающих рукавов определяется конструктивной особенностью пожарных автомобилей. Пенал для хранения всасывающих рукавов размещается, как правило, на надстройке пожарного автомобиля и имеет длину более 4 м. Конструкция пенала обеспечивает сушку всасывающих рукавов за счет обдува при движении пожарного автомобиля.

Всасывающие рукава, поступившие в пожарную часть или на рукавную базу, подвергаются входному контролю. При этом прежде всего проверяется наличие и данные маркировки. Рукава, прошедшие входной контроль, навязывают на головки соединительные всасывающие, после чего их подвергают испытаниям на герметичность при гидравлическом давлении и вакууме. Создав давление 0,2 МПа, его выдерживают 10 мин. На рукаве не должно быть разрывов, местных вздутий, деформации металлической спирали. Под вакуумом 0,08 МПа рукав выдерживают 3 мин, падение разрежения при этом не должно превышать 0,013 МПа. При испытании не должно быть сплющиваний и изломов. Находящиеся на пожарных автомобилях всасывающие рукава испытывают при проведении ТО-1 автомобиля.


Напорные рукава предназначены для транспортирования огнетушащих веществ под избыточным давлением и могут быть использованы для комплектации как пожарных кранов и переносных мотопомп (рабочее давление 1,0 МПа), так и передвижной пожарной техники.

В зависимости от конструктивных особенностей и используемых материалов напорные рукава подразделяются на типы, которые приведены на рис. 3.3.

Конструкция напорного рукава состоит из следующих элементов: армирующего каркаса (чехла), внутреннего гидроизоляционного слоя и наружного защитного слоя. Армирующие каркасы напорных рукавов ткут или вяжут из натуральных нитей (льна, хлопка и т.д.) или искусственных (лавсан, капрон и т.д.) волокон. Армирующий каркас образуется переплетением нитей под углом 90о. Продольные нити называются основой, а поперечные – утком.

 

 


 

 

Рис. 3.3. Классификация пожарных напорных рукавов

 

При использовании в различных климатических зонах напорные рукава могут быть двух видов. Исполнения «У», рассчитанные на работу при температуре окружающей среды от – 40 до + 45 °С и исполнения «УХЛ», рассчитанные на работу при температуре окружающей среды
от – 50 до + 45 °С.

На передвижной пожарной технике применяют напорные рукава длиной (20±1) м, диаметром 51, 66, 77, 89, 150 мм.

Пожарные напорные рукава должны обладать высокой прочностью, способностью сопротивляться истиранию, действию солнечных лучей, гнилостным процессам, агрессивным средам, низким и высоким температурам. Гидравлическое сопротивление потоку воды должно быть возможно малым. Кроме того, к ним предъявляется ряд эргономических требований: легкость, малые габариты скаток, эластичность.

Напорные рукава из натуральных волокон имеют ограниченное применение. Сухие чистые льняные рукава сравнительно легкие, а их скатки малогабаритны. При подаче воды по таким рукавам наружная поверхность ткани чехла увлажняется вследствие просачивания воды через стенки чехла (перколяция). Это повышает термостойкость льняных рукавов в условиях пожаров. Однако повышенная склонность льняных рукавов к гнилостным процессам, большие гидравлические потери, а также сложность эксплуатации в условиях низких температур ограничивают область их применения на пожарных машинах.

Напорные рукава с армирующим каркасом из синтетических волокон имеют несколько вариантов конструктивного исполнения (см. рис. 3.3).

Устройство прорезиненного рукава, относящегося к типу напорных рукавов с внутренним гидроизоляционным слоем без наружного покрытия каркаса, показано на рис. 3.4. Такой рукав имеет армирующий каркас 1, выполненный из синтетических волокон. В качестве внутреннего гидроизоляционного слоя 2 применяется резиновая камера, которая вводится внутрь армирующего каркаса 1, предварительно смазанного резиновым клеем 3, и вулканизируется паром под давлением 0,3 – 0,4 МПа при температуре 120 – 140 °С в течение 40 – 45 мин.

Конструкция латексированного рукава представлена на рис. 3.5. Он относится к типу напорных рукавов с внутренним гидроизоляционным слоем и с пропиткой армирующего каркаса тем же материалом, что и гидроизоляционный слой.


Армирующий каркас 1 латексированного рукава изготавливают из синтетических волокон. Такой рукав имеет внутренний гидроизоляционный слой 2, выполненный из латексной пленки. Кроме того, армирующий каркас имеет пропитку раствором латекса, который образует наружную латексную пленку 3, выполняя функцию защитного слоя.

3
 
Конструкция напорного рукава с двусторонним покрытием показана на рис. 3.6. Рукава двухслойной конструкции с внутренним гидроизоляционным 2 и наружным защитным 3 покрытием обладают рядом преимуществ по сравнению с другими типами рукавов. Внутренний гидроизоляционный слой 2 обеспечивает минимальные гидравлические потери для потока огнетушащего вещества, а наружный защитный слой 3 предохраняет ткань армирующего каркаса от истирания, действия солнечных лучей. Это повышает надежность и долговечность рукавов.

К типу рукавов с двусторонним покрытием относятся напорные рукава с двусторонним полимерным покрытием и напорные рукава на рабочее давление 3,0 МПа.

Технические характеристики напорных пожарных рукавов для передвижной пожарной техники изложены в НПБ 152-2000, некоторые из них представлены в табл. 3.2.

 

 

Таблица 3.2

 

Параметры Размерность Все типы напорных рукавов для передвижной пожарной техники Рукава на рабочее давление 3,0 МПа  
Внутренний диаметр, мм
             
Рабочее давление МПа 1,6 1,4 1,2 3,0
Разрывное давление, не менее МПа 3,5 2,8 2,4 6,0
Масса рукава длиной 1 м, не более кг 0,45 0,55 0,65 0,75 1,20 0,45 0,55
Толщина внутреннего слоя покрытия, не менее мм 0,35 0,35

 

Пожарные напорные рукава диаметром 77 мм и более применяют для прокладки магистральных линий (см. рис. 3.1), а диаметром 51 и 66 мм – рабочих рукавных линий.

Параметры технических характеристик напорных рукавов во многом определяют эффективность действий пожарных подразделений. Так, шероховатость внутренней поверхности рукавов оказывает влияние на потери напора воды в рукавной линии и регламентирует предельно возможную длину этой линии.

В напорных рукавах при подаче воды изменяется их длина и площадь поперечного сечения. Внутренний гидроизоляционный слой рукава под напором воды вдавливается в армирующий каркас (чехол) рукава. При этом формируется профиль шероховатости его внутренней поверхности, определяющей величину сопротивления потоку воды. Для рукавов длиной 20 м определены коэффициенты сопротивления S p , указанные в табл. 3.3.

Таблица 3.3

Рукава Диаметр рукава, мм
         
С армирующим каркасом из синтетических волокон с внутренним гидроизоляционным слоем 0,13 0,034 0,015 0,007 0,0004
С армирующим каркасом из натуральных волокон без гидроизоляционного слоя 0,24 0,077 0,030 - -

 


Потери напора в магистральной рукавной линии, м, определяем по формуле

h м.р.л = N p S p Q 2, (3.1)

где S p – коэффициент сопротивления одного рукава длиной 20 м
(см. табл. 3.3); Q – расход воды в магистральной линии, л/с; N p – число рукавов в магистральной линии, шт., которое определяем по формуле

N p = 1,2 L/ 20, (3.2)

где L – расстояние от пожарного автомобиля до места подачи стволов, м.

Длина любой рукавной линии зависит, прежде всего, от гидравлических сопротивлений рукавов S p и расхода Q подаваемой воды. Так, предельную длину магистральной рукавной линии, м, определяем по формуле

l пр = , (3.3)

где Z м – наибольшая высота подъема (+) или спуска (-) местности на предельном расстоянии, м; Z пр – наибольшая высота подъема (+) или
спуска (-) приборов тушения, м.

 

 

 
Потери напора в рукаве длиной 20 м h p, м  
 
2
1
 

 
 
Рис. 3.7. Зависимость потерь напора в одном рукаве длиной 20 м от расхода протекаемой воды: 1 – диаметр рукава 77 мм; 2 – диаметр рукава 66 мм

 

 


Определяющим параметром в технических характеристиках напорных рукавов является его внутренний диаметр, от которого зависит масса скатки рукава (см. табл. 3.2), рабочее давление, а также гидравлическая характеристика рукавной линии. На рис. 3.7 приведена зависимость потерь напора в одном рукаве магистральной линии длиной 20 м от расхода воды. Показано, как диаметр рукавов влияет на потери напора в линии.

Рукава различают и по теплофизическим характеристикам (рис. 3.8). Из анализа следует, что наилучшей теплоизолирующей способностью
обладают латексированные рукава. У них меньшее значение коэффициента теплопроводности материала λ при отрицательных температурах. Это значит, что при подаче воды в условиях низких температур, ее охлаждение в линии из латексированных рукавов будет менее интенсивное по сравнению с другими типами рукавов. Вероятность обледенения такой рукавной линии снижается.

Указанные выше параметры напорных рукавов следует учитывать при их выборе для заданных условий эксплуатации.

Напорные рукава, поступившие в пожарную часть или на рукавную базу, после входного контроля навязываются на соединительные головки мягкой оцинкованной проволокой диаметром 1,6 – 1,8 мм (для рукавов диаметром 150 мм используется проволока диаметром 2,0 мм). После этого на рукав наносится маркировка принадлежности к рукавной базе или пожарной части. На рукавах, эксплуатируемых на рукавных базах, маркируется их порядковый номер. На рукавах, принадлежащих пожарной части, маркировка состоит из дроби, где в числителе указывается номер пожарной части, а в знаменателе – порядковый номер рукава. Далее рукава подвергаются гидравлическим испытаниям под давлением 1,0 МПа. Рукава на рабочее давление 3,0 МПа испытывают при рабочем давлении насоса
автомобиля высокого давления.

 
1
 
 
 
-50
0,2
0,3
0,4
Температура окружающей среды, °С
 
 
Т
3
 
 
 
2
 

 

 
 
Рис. 3.8. Зависимость коэффициента теплопроводности материала рукавов от температуры окружающей среды: 1 – прорезиненный рукав; 2 – льняной рукав; 3 – латексный рукав

 

 


Рукава, выдержавшие гидравлические испытания, поступают на сушку и передаются для эксплуатации. На новые рукава заводят паспорта. Находящиеся в эксплуатации рукава испытывают после каждого обслуживания и ремонта, а также два раза в год при сезонном обслуживании пожарной техники.







Date: 2015-05-09; view: 1380; Нарушение авторских прав



mydocx.ru - 2015-2026 year. (2.309 sec.) Все материалы представленные на сайте исключительно с целью ознакомления читателями и не преследуют коммерческих целей или нарушение авторских прав - Пожаловаться на публикацию