Главная Случайная страница


Полезное:

Как сделать разговор полезным и приятным Как сделать объемную звезду своими руками Как сделать то, что делать не хочется? Как сделать погремушку Как сделать так чтобы женщины сами знакомились с вами Как сделать идею коммерческой Как сделать хорошую растяжку ног? Как сделать наш разум здоровым? Как сделать, чтобы люди обманывали меньше Вопрос 4. Как сделать так, чтобы вас уважали и ценили? Как сделать лучше себе и другим людям Как сделать свидание интересным?


Категории:

АрхитектураАстрономияБиологияГеографияГеологияИнформатикаИскусствоИсторияКулинарияКультураМаркетингМатематикаМедицинаМенеджментОхрана трудаПравоПроизводствоПсихологияРелигияСоциологияСпортТехникаФизикаФилософияХимияЭкологияЭкономикаЭлектроника






Газоструйные вакуумные системы. Эти системы применяются на АЦ и АНР с насосами ПН-40, ПН-60 и ПН-110





В их систему входят вакуумные краны, газоструйные вакуумные аппараты (ГСВА), трубопроводы.

Вакуумный кран предназначен для соединения внутренней полости насоса с газоструйным вакуумным аппаратом. Он устанавливается на коллекторе насоса. Его устройство показано на рис. 2.44, а принципиальная схема – на рис. 2.45. На этом рисунке показано положение, когда кулачковый валик 11 отжал нижний клапан 13. В этом положении пружина верхнего клапана 8 прижмет его к седлу и разобщит полости Б и В. При таком положении клапанов 8 и 11 отсасываемый из насоса ГСВА воздух пройдет в полость А и Б и по трубке б к струйному насосу. Это показано сплошными стрелками. По заполнении насоса водой кулачковый валик поворачивают так, чтобы нижний клапан 13 разобщил полости А и Б, а верхний клапан 8 соединил полость Б и В. В этом положении струйный насос отсосет из полости Б и трубки, соединяющей вакуумный клапан с ГСВА, попавшую туда воду. Воздух по отверстию а поступит в полость В и Б и в трубку б.

В нижней части крана имеются два отверстия, закрытые глазками 1 из органического стекла (см. рис. 2.44). К одному из них крепится корпус 4 электрической лампочки. Через глазок контролируют заполнение насоса водой.

 

 

 


Газоструйные вакуумные аппараты устанавливают в системе выпуска отработавших газов двигателя внутреннего сгорания АЦ или АНР.

ГСВА состоит из корпуса с заслонками, струйного газового насоса и газовой сирены.

Блок газоструйного вакуум-аппарата и газовой сирены (рис. 2.46) состоит из корпуса 5 и крышки 10, изготовленных из серого чугуна. К корпусу 5 присоединены резонатор 1 и распределитель 2, составляющие газовую сирену, и струйный насос 12. Внутри корпуса на осях 6 установлены заслонки 3 и 14. На концах осей закреплены рычаги 7 и 11. Пружиной 13 заслонки прижаты к своим седлам. В этом положении отработавшие газы проходят от двигателя к глушителю.

 
 

 

 


Условия работы ГСВА очень тяжелые. Все его детали омываются горячими отработавшими газами двигателя. Поэтому большой и малый диски заслонок выполнены из жаростойкой легированной стали и приварены к стальным цилиндрам.

Заслонки 3, 14 устанавливаются так, что могут отклоняться от их осей на 5 – 6о. Этим обеспечивается плотное прилегание заслонок к седлам. Рычаги 4 жестко соединены с осями 6, поворачивающимися в стальных втулках. Струйный насос 12 крепится к фланцу ГСВА. К фланцу 8 диффузора присоединяется трубопровод от вакуумного крана.

Герметичность в месте соединения корпуса и крышки обеспечивается прокладками из асбостального полотна и подмоткой шнурового асбеста в выточках осей. Оси заслонок собирают на графитной смазке.

Включение ГВСА производят из насосного отделения при заднем размещении насоса. При этом заслонка 14 займет вертикальное положение и будет открыт путь отработавшим газам в струйный насос 12.

Сирену включает водитель в кабине. При этом заслонка 3 займет вертикальное положение, отработавшие газы будут проходить через распределитель 2 в резонатор 1. Изменяя обороты двигателя и, следовательно, количество выходящих отработавших газов, изменяют силу и тон звука, издаваемого сиреной.

Работу системы всасывания рассмотрим по схеме, представленной на рис. 2.47. При вертикальном положении заслонки 7 ГСВА и включенном вакуумном кране 4 отработавшие газы двигателя Q p поступят в струйный насос 9. В его камере будет создано разрежение и из полости насоса 3 и всасывающих рукавов 2 начнется удаление воздуха Q э. Под влиянием разности атмосферного давления Р а и разрежения поднимется обратный клапан во всасывающей сетке 1 и вода заполнит всасывающую линию. При выключении вакуумного крана камера струйного насоса будет соединена с атмосферой. Это позволит ГСВА удалить воду из трубки 10, если она туда попала при несвоевременном выключении вакуумного крана.

Проверка работоспособности вакуумной системы производится по величине создаваемого разрежения в насосе за нормативное время. Его величина 0,073–0,0076 МПа должна достигаться за 20 с. Герметичность насоса оценивается по падению разрежения в насосе. Оно не должно превышать 0,013 МПа за 2,5 мин.

Проверка осуществляется в такой последовательности. Всасывающий патрубок насоса должен быть закрыт заглушкой, вакуумный кран включен. Запустив двигатель, увеличивая его обороты, создают вакуум, оцениваемый по мановакуумметру. Выключив вакуумный кран, по секундомеру фиксируют время падения вакуума. Если в течение 2,5 мин оно будет меньше 0,013 МПа, насос и всасывающая система исправны и работоспособны.


Вакуумные системы с пластинчатыми насосами. Эти системы предназначены для обеспечения забора воды из открытых водоемов, автоматического восстановления подачи воды при обрыве водяного столба и проверки работоспособности системы и герметичности пожарного насоса. Включение ее в работу может осуществляться вручную или автоматически. Геометрическая высота всасывания этих систем до 7,5 м. Время всасывания 40 с. Такие системы используются на пожарных насосах ПЦНН-40/100, ПЦНВ-20/200.

Вакуумная система насоса ПЦНН-40/100. Эта система включает пластинчатый вакуумный насос, вакуумный шаровой кран и гидроблок. Гидроблок служит для передачи давления напорной полости насоса в рабочую полость механизма автоматического отключения вакуумного насоса и вакуумного затвора.

Механизм отключения (рис. 2.48) предназначен для автоматического отключения и включения вакуумного насоса при заборе воды из открытых водоисточников. Он работает следующим образом.

При увеличении давления в коллекторе насоса будет деформироваться мембрана 6. Гидравлическая жидкость, заполняющая пространство между корпусом 1 и сильфоном 4, воздействуя на основание 5 сильфона 4, поднимет шток 3 и рычаг 11 (см. рис. 2.50) вверх. При уменьшении давления в насосе пружина 2 преодолеет усилие сильфона и механизм займет исходное положение.

Вакуумный затвор (рис. 2.49) предназначен для разъединения и соединения полостей вакуумного насоса и пожарного насоса. Его устройство и работа отличается от механизма отключения наличием дополнительного клапана 3 с пружиной 4. При повышении давления в корпусе 1 шток 2, поднимаясь, будет сжимать пружину, а затем плотно прижмет клапан к его седлу. При уменьшении давления в корпусе механизма шток постепенно обеспечит перемещение клапана и разъединяемые полости будут соединены.

Стабильная работа вакуумной системы обеспечивается тем, что порог срабатывания механизма отключения выше, чем порог срабатывания вакуумного затвора. Это обеспечивается регулированием затвора D (см. рис. 2.50).

Принципиальная схема вакуумной системы ПЦНН-40/100 представлена на рис. 2.50. Каток 5 фрикционной передачи, установленный на вакуумном насосе, силой собственного веса и пружиной 16 прижат к катку 2, установленному на валу пожарного насоса (см. рис. 5.14). Катки можно разобщить вручную, как показано стрелками. В разобщенном состоянии катков рычаг стопорится (на рисунке не показано). Разобщение катков 2 и 5 и их соединение может осуществляться также и автоматически. При заборе воды из цистерны или от пожарного водопровода вакуумный насос выключается вручную. Работа в автоматическом режиме осуществляется следующим образом. После ус-
тановки рукавной всасывающей линии включают вакуумный кран 17 и пожарный насос. От катка 2 к катку 5 будет передаваться крутящий момент. Пластинчатый насос создает вакуум во всасывающей системе. В вакуумный насос непрерывно подается масло из резервуара 6. Под влиянием давления воды, поступающей из пожарного насоса по трубопроводу 8, в вакуумном затворе 10 клапан отключит вакуумный насос. Затем сработает механизм отключения 12 и системой рычагов 11 и 4 разобщит катки 5 и 2. В случае прекращения подачи воды насосом (обрыв водяного столба) механизм отключения примет исходное положение и каток 5 вакуумного насоса под тяжестью собственного веса и силой пружины 16 будет прижат к катку 2 насоса. Процесс всасывания воды восстановится.


Из изложенного выше (см. рис. 2.47) следует, что вакуумные системы пожарных насосов серии ПН включаются в работу от двигателя внутреннего сгорания и центробежный насос заполняется водой при невращающемся вале с рабочим колесом.

Пожарные насосы серии ПЦН имеют вакуумные системы, которые включаются в работу от привода центробежного насоса. Следовательно, вал и рабочее колесо на нем должны приводиться во вращение от КОМ при незаполненном водой насосе, т.е. элементы торцевого уплотнения не охлаждаются. В таком положении их нормальная работа допускается в течение не более одной минуты, как указывалось раньше. Это требует жесткой проверки работоспособности вакуумных систем.

Проверка работоспособности вакуумной системы осуществляется по двум параметрам.

Во-первых, проверяется герметичность насоса включением вакуумного насоса при скорости вращения вала насоса 2000–2500 об/мин. Вакуум должен создаваться в течение 20 с, равным 0,073–0,076 МПа. Его уменьшение на 0,0198 МПа не должно превышать 3,5 мин. Превышение этого времени свидетельствует о наличии в системе неплотностей. Их обнаруживают по утечкам воды при работе или опрессовкой избыточным давлением 0,6 МПа.

Во-вторых, проводится проверка производительности вакуумного насоса в следующей последовательности:

к всасывающему патрубку присоединяют два всасывающих рукава с заглушкой на свободном конце;

отключают вакуумный насос и открывают вакуумный кран;

запускают двигатель и при оборотах (2700±100) об/мин плавно включают вакуумный насос и секундомер;

отмечают время достижения разрежения 0,074 МПа; оно не должно превышать 40 с.

Если время разрежения будет больше 40 с, а его падение не превышает 3,5 мин (см. п. 1), то это свидетельствует о потере производительности вакуумного насоса.

В этом случае следует проверить целостность трубопроводов вакуумной системы. При необходимости разбирают вакуумный насос, проверяют состояние лопаток, гильзы и уплотнительных колец. Обнаруженные неисправности устраняют.

Проводится также проверка элементов привода вакуумного насоса. Рабочие поверхности катков должны быть гладкими, без выкрашивания и признаков неравномерного износа. Усилие прижатия катков проверяется динамометром при неработающем насосе. Усилие размыкания, измеренное на рычаге, должно быть в пределах (18±3) кг. Регулирование его осуществляется путем поджатия или ослабления пружины на рычаге.

Вакуумная система насоса ПЦНВ-20/200. Она предназначена для включения пластинчатого вакуумного насоса, гидрокамеры, водоотделителя, механизма отключения, вакуумного затвора и вакуумного шарового крана.


Гидрокамера предназначена для управления элементами автоматической вакуумной системы: вакуумным затвором (ВЗ), механизмом автоматического отключения (МО) вакуумного насоса и управления клапаном пеносмесителя (ПС).

Гидрокамера (рис. 2.51) работает следующим образом. При повышении давления в пожарном насосе и в полости между корпусом 1 и сильфоном 2 он будет, преодолевая усилие пру-
жины 4, сжиматься. При этом давление гидрав-
лической жидкости в полости 5 будет увели-
чиваться и жидкость через тройник 3 будет подаваться в МО, ВЗ и клапан ПС.

Исходное положение сильфон займет при уменьшении давления в пожарном насосе.

Механизм отключения по устройству и принципу аналогичен МО ПЦНН 40/100. Различие состоит в том, что сильфон деформируется не под давлением воды из пожарного насоса, а под влиянием гидравлической жидкости, передающей давление из гидрокамеры.

Водоотделитель (рис. 2.52) предназначен для задержания воды, поступающей в вакуумную систему на конечной стадии заполнения водой центробежного насоса. При этом будет повышаться давление в ГК, поплавок 2 поднимется по стержню 3 и закроет проход к вакуумному затвору.

 
 

 

 


Вакуумный затвор (рис. 2.53) предназначен для автоматического разобщения вакуумного насоса со всасывающей полостью ПЦНВ-20/200 при появлении избыточного давления в его напорной полости.

В исходном положении золотник 3 отжат пружиной 4, при этом открыт проход от ВО к ВН. При повышении давления в гидрокамере ГК мембрана 2 сожмет пружину 4 и золотник 3 перекроет проход от ВО к ВН.

Порог срабатывания вакуумного затвора, равный 0,74 МПа
(7,5 кгс/см2), предусмотрен разработчиками его конструкции. Он меньше порога срабатывания механизма отключения.

Принципиальная схема вакуумной системы ПЦНВ-20/200 представлена на рис. 2.54. Она функционирует следующим образом.

Вручную рычагом 8 возможно разобщить катки 2 и 4. В этом положении вакуумный насос будет выключен и забор воды возможно осуществлять из цистерны или водопроводной сети.

При заборе воды из открытых водоисточников необходимо установить всасывающие рукава, включить вакуумный кран 12, а затем пожарный насос. Крутящий момент будет передаваться катками 2 и 4. Вакуумный насос начнет откачивать воздух из всасывающего патрубка насоса 1 через струйный насос 16 пеносмесителя 15, вакуумный кран 12, трубку в, водоотделитель 10, вакуумный затвор 9 и через пластинчатый насос с катком 4 в атмосферу. Насос начнет забирать воду и она будет поступать в гидрокамеру 11. Когда давление воды достигнет 0,74 МПа (7,5 кгс/см2), сработает гидрокамера 11. При этом водой будет заполняться трубопровод в и в водоотделителе 10 поплавок закроет ей доступ в вакуумный затвор. Повышенное давление в гидрокамере обеспечит срабатывание вакуумного затвора 9. Система всасывания будет отключена. Затем штоком механизма отключения 7 будет поднят рычаг 6. Катки 2 и 4 будут разъединены. При обрыве столба воды или уменьшении давления в пожарном насосе придут в исходное положение механизмы 7 и 9 и автоматически начнется процесс заполнения насоса водой. Работа вакуумного насоса сопровождается эжектированием масла из резервуара 5.

 
 

 

 


Рис. 2.54. Вакуумная система пожарного насоса ПЦНВ-20/200:

1 – всасывающий патрубок центробежного насоса; 2 – каток на валу насоса;
3 – коллектор; 4 – каток пластинчатого насоса; 5 – резервуар с маслом; 6 – рычаг;
7 – механизм отключения; 8 – ручной привод; 9 – вакуумный затвор;
10 – водоотделитель; 11 – гидрокамера; 12 – вакуумный шаровой кран;
13 – клапан пеносмесителя; 14 – обратный клапан; 15 – пеносмеситель; 16 – струйный
насос; 17 – дозатор; 18 – сливной кран; 19 – кран включения пеносмесителя

 

Порог срабатывания, равный 0,74 МПа, регулируется величиной зазора Г. Она должна быть в пределах (1,5±5) мм.

Проверка работоспособности вакуумной системы этого насоса производится аналогично тому, как это делается для насоса ПЦНН-40/100.

Вакуумная система насоса частично задействована для регулирования подачи пенообразователя. В пеносмеситель 15, включающий дозатор 17, струйный насос 16, кран включения пеносмесителя 19 и сливной кран 18 пенообразователь поступает из пенобака через обратный клапан 14 к клапану пеносмесителя 13. При уменьшении напора в насосе давление от гидрокамеры 11 выключит клапан 13. При увеличении напора в насосе он будет включен.

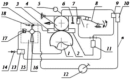
Схема вакуумной системы МАВ 200 IVEKO (рис. 2.55). Вакуумный водокольцевой насос 3 автоматически начинает работать при включении пожарного насоса 1. При этом на пульте управления насосом срабатывает сигнализатор. При достижении в напорной линии достаточного давления вакуумный насос автоматически отключается и лампочка сигнализатора гаснет.

Для работы вакуумного насоса необходимо питание его водой из бачка 6. Бачок заполняется водой не менее чем на 1/3 своего объема.

Зимой бачок заполняется смесью, состоящей из 20 % глицерина и 80 % воды. Можно использовать антифриз.

Работает система следующим образом. При включении вакуумного насоса 3 проходит его заполнение водой из бачка 6 по трубопроводу 4. При образовании водяного кольца в насосе 3 начнется образование вакуума в насосе 1. Воздух из насоса 1 будет поступать по трубопроводу 2 в насос 3, а затем по трубопроводу 5 и воздухоотводящей трубе 7 в атмосферу.

 

 







Date: 2015-05-09; view: 1410; Нарушение авторских прав



mydocx.ru - 2015-2026 year. (0.302 sec.) Все материалы представленные на сайте исключительно с целью ознакомления читателями и не преследуют коммерческих целей или нарушение авторских прав - Пожаловаться на публикацию