Главная Случайная страница


Полезное:

Как сделать разговор полезным и приятным Как сделать объемную звезду своими руками Как сделать то, что делать не хочется? Как сделать погремушку Как сделать так чтобы женщины сами знакомились с вами Как сделать идею коммерческой Как сделать хорошую растяжку ног? Как сделать наш разум здоровым? Как сделать, чтобы люди обманывали меньше Вопрос 4. Как сделать так, чтобы вас уважали и ценили? Как сделать лучше себе и другим людям Как сделать свидание интересным?


Категории:

АрхитектураАстрономияБиологияГеографияГеологияИнформатикаИскусствоИсторияКулинарияКультураМаркетингМатематикаМедицинаМенеджментОхрана трудаПравоПроизводствоПсихологияРелигияСоциологияСпортТехникаФизикаФилософияХимияЭкологияЭкономикаЭлектроника






Определение увеличения зрительной трубы





Видимое увеличение зрительной трубы Гт определяется по формулам

ГТ = tg ω '/tg ω = – f ′ об/ fок;

Но увеличение зрительной трубы можно определить по формуле Гт =D /D′

Из формул следует, что для определения увеличения необходимо знать фокусные расстояния объектива и окуляра или диаметры входного и выходного зрачков. Измерим диаметры входного и выходного зрачков (рис.16). Так как апертурная диафрагма в зрительной трубе Кеплера совпадает с оправой объектива, то входной зрачок тоже совпадает с оправой объектива и его величину можно измерить насадкой 1 со шкалой, которую одевают прямо на оправу объектива (рис.16, а). Цена деления шкалы τ1 = l мм. Выходной зрачок 3 – это изображение апертурной диафрагмы в прямом ходе лучей через последующую систему, т.е. окуляр. На рис.16, б построено изображение выходного зрачка 3.

 

Рис.16.

Рис.17.

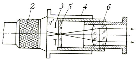
Величину выходного зрачка можно измерить с помощью динаметра Рамсдена (рис.17), который представляет собой лупу 6, в передней фокальной плоскости которой расположена шкала 5 с ценой деления τ2 = 0,1 мм

Динаметр следует расположить за окуляром зрительной трубы 2 так, чтобы его шкала 5 совпала с выходным зрачком 3 трубы 2. Наблюдатель должен четко видеть шкалу динаметра и изображение зрачка (рис.18). Для определения диаметра выходного зрачка необходимо посчитать, сколько делений шкалы динаметра умещается по диаметру выходного зрачка. Число делений шкалы n2, умноженное на цену деления τ2, и даст размер выходного зрачка. Тогда







Date: 2015-05-08; view: 1902; Нарушение авторских прав



mydocx.ru - 2015-2026 year. (0.409 sec.) Все материалы представленные на сайте исключительно с целью ознакомления читателями и не преследуют коммерческих целей или нарушение авторских прав - Пожаловаться на публикацию