Главная Случайная страница


Полезное:

Как сделать разговор полезным и приятным Как сделать объемную звезду своими руками Как сделать то, что делать не хочется? Как сделать погремушку Как сделать так чтобы женщины сами знакомились с вами Как сделать идею коммерческой Как сделать хорошую растяжку ног? Как сделать наш разум здоровым? Как сделать, чтобы люди обманывали меньше Вопрос 4. Как сделать так, чтобы вас уважали и ценили? Как сделать лучше себе и другим людям Как сделать свидание интересным?


Категории:

АрхитектураАстрономияБиологияГеографияГеологияИнформатикаИскусствоИсторияКулинарияКультураМаркетингМатематикаМедицинаМенеджментОхрана трудаПравоПроизводствоПсихологияРелигияСоциологияСпортТехникаФизикаФилософияХимияЭкологияЭкономикаЭлектроника






Принципиальная схема конденсационной установки





Конденсатор – теплообменный аппарат, предназначенный для превращения отработавшего в турбине пара в жидкое состояние (конденсат). Конденсация пара происходит при соприкосновении его с поверхностью тела, имеющего более низкую температуру, чем температура насыщения пара при данном давлении в конденсаторе. Конденсация пара сопровождается выделением теплоты, затраченной ранее на испарение жидкости, которая отводится при помощи охлаждающей среды. В зависимости от вида охлаждающей среды конденсаторы разделяются на водяные (охлаждающая среда - вода) и воздушные (охлаждающая среда – воздух). Современные ПТУ снабжены водяными конденсаторами. Воздушные имеют по сравнению с водяными более сложную конструкцию и не получили в настоящее время широкого распространения.

Конденсационная установка паровой турбины состоит из собственно конденсатора и дополнительных устройств, обеспечивающих его работу (рис.89). Конденсация отработавшего в турбине пара происходит в конденсаторе 1. Подача охлаждающей воды в конденсатор осуществляется циркуляционным насосом 2. Конденсатные насосы 3 служат для откачки из нижней части конденсатора конденсата и подачи его в систему регенеративного подогрева питательной воды. Воздухоотсасывающие устройства 4 предназначены для удаления воздуха, поступающего в турбину и конденсатор вместе с паром и через неплотности фланцевых соединений, концевые уплотнения и другие места.

 

Рисунок 89 - Принципиальная схема конденсационной установки:

1 - конденсатор; 2 - циркуляционный насос; 3 - конденсатный насос;

4 - воздухоотсасывающее устройство

Схема простейшего поверхностного конденсатора водяного типа и конструкция конденсатора К-7520 ХТЗ приведены на рис.90 и 91.

 

 

Рисунок 90 - Схема двухходового поверхностного конденсатора:1- корпус; 2,3- крышки водяных камер; 4- трубные доски; 5- конденсаторные трубки; 6- приемный паровой патрубок; 7- конденсатосборник; 8- патрубок отсоса паровоздушной смеси; 9- воздухоохладитель; 10- паронаправляющий щит; 11,12- входной и выходной патрубок для воды; 13- разделительная перегородка; 14- паровое пространство конденсатора; 15-17 – входная, поворотная и выходная камеры охлаждающей воды, соответственно; А- вход пара; Б- отсос паровоздушной смеси; В,Г- вход и выход охлаждающей воды; Д- отвод конденсата

 

Он состоит из корпуса, торцевые стороны которого закрыты трубными досками с конденсаторными трубками, выходящими своими концами в водяные камеры (рис.90). Камеры разделяются перегородкой, которая делит все конденсаторные трубки на две секции, образующие так называемые «ходы» воды (на схеме два хода). Вода поступает в водяную камеру через патрубок и проходит по трубкам, расположенным ниже перегородки. В камере вода переходит во вторую секцию трубок, расположенную на высоте выше перегородки. По трубкам этой секции вода идет в обратном направлении, совершая второй «ход», попадает в камеру и через выходной патрубок направляется на слив. Число ходов воды бывает от одного до четырех, в соответствии с чем устанавливается число разделительных перегородок в водяных камерах. В современных конденсаторах турбин большой единичной мощности число ходов охлаждающей воды редко превышает два.

Пар, поступающий из турбины в паровое пространство, конденсируется на поверхности конденсаторных трубок, внутри которых протекает охлаждающая вода. За счет резкого уменьшения удельного объема пара в конденсаторе создается низкое давление (вакуум). Чем ниже температура и больше расход охлаждающей среды, тем более глубокий вакуум можно получить в конденсаторе. Образующийся конденсат стекает в нижнюю часть корпуса конденсатора, а затем в кондесатосборник.

Удаление воздуха (паровоздушной смеси) из конденсатора производится воздухоотсасывающим устройством. В целях уменьшения объема отсасываемой паровоздушной смеси ее охлаждают в специально выделенном с помощью перегородки отсеке конденсатора – воздухоохладителе.

В конденсатор поступает не чистый пар, а смесь пара с неконденсирующимися газами (в основном с воздухом), которую принято называть паровоздушной смесью. По мере движения паровоздушной смеси и конденсации пара температура в конденсаторе уменьшается, так как снижается парциальное давление насыщенного пара. Это происходит из-за присутствия воздуха и возрастания его относительного содержания в паровоздушной смеси, а также наличия парового сопротивления конденсатора и снижения общего давления паровоздушной смеси. Особенно заметное влияние на температуру пара воздух оказывает в самом конце процесса конденсации.


Наиболее ответственной деталью конденсатора являются конденсаторные трубки. Одним из основных требований к ним является стойкость против коррозии и поэтому их изготавливают из сплавов цветных металлов на основе меди, латуней (сплав меди и цинка), а также хромоникелевой нержавеющей стали.

Совокупность конденсаторных трубок, на которых осуществляется конденсация пара, называется трубным пучком. К компоновке трубного пучка предъявляют следующие основные требования: максимально возможное увеличение площади «живого» сечения для прохода пара; создание постоянной скорости протекания пара; организация наиболее короткого и прямого пути паровоздушной смеси к месту отсоса; улавливание и отвод конденсата на промежуточных уровнях по высоте пучка; создание «зеркала» конденсата на дне конденсатора; свободный доступ пара в нижнюю часть конденсатора под трубный пучок к месту сбора конденсата и др.

Общей особенностью компоновки трубного пучка конденсаторов современных паровых турбин является выполнение его в виде ленты (рис.92), свернутой симметрично относительно вертикальной оси с глубокими проходами в пучке для направления пара к возможно большей части поверхности теплообмена. Ленточная компоновка увеличивает периметр входной части основного пучка и снижает скорость натекания пара на трубки, чем достигается уменьшение парового сопротивления конденсатора.

В целях снижения температуры паровоздушной смеси, отсасываемой эжектором, к пучку воздухоохладителя, предназначенного для завершения процесса конденсации, смесь поступает только после прохождения основного пучка. Кроме того, к трубкам воздухоохладителя подводится охлаждающая вода низкой температуры (из первого хода).

Конденсаторные трубки крепятся в трубных досках развальцовкой. В целях предотвращения вибрации и провисания трубок устанавливаются промежуточные трубные доски (перегородки).


 

 

 

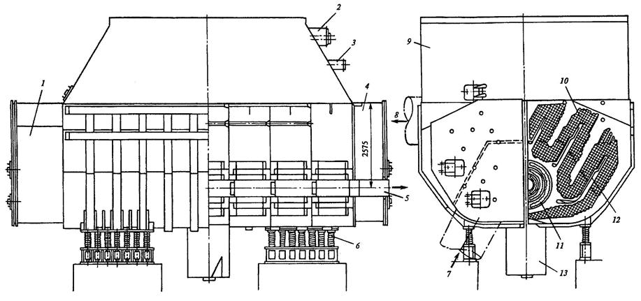
Рисунок 91 - Конденсатор К-7520 ХТЗ: 1, 4 – передняя и задняя водяные камеры; 2 – сбросное устройство; 3 – трубопровод отбора пара; 5 - отсос паровоздушной смеси; 6 – пружинная опора; 7, 8 – подвод и отвод охлаждающей воды; 9 – горловина; 10 – трубный пучок; 11 – воздухоохладитель; 12 – паровой щит; 13 - конденсатосборник


 

Рисунок 92 - Компоновка трубного пучка: 1- основной пучок; 2- сливные трубки; 3- первый ряд трубок; 4- трубки основного пучка; 5- отсос паровоздушной смеси; 6- пучок воздухоохладителя; 7- паронаправляющий и конденсатоулавливающий щиты; 8- окно в промежуточных трубных досках; 9- промежуточная трубная доска

 

Корпус конденсатора установлен на пружинных опорах и прикреплен к выходному патрубку турбины с помощью фланца. Пружинные опоры обеспечивают свободное тепловое расширение выходного патрубка и конденсатора в вертикальном направлении.

Конденсат сливается в конденсатосборник струями у трубных досок и перегородок.

Выполнить конденсатор в виде одного аппарата для турбин даже умеренной мощности не удается. Мощные турбины оснащают конденсаторной группой, состоящей из отдельных корпусов, которые, в свою очередь, могут состоять из отдельных конденсаторов. Отдельные конденсаторы могут собираться в корпуса, а корпуса – в конденсаторные группы по-разному. Схематически установка конденсаторных групп по отношению к ЦНД показана на рис.93.

 

 

Рисунок 93 - Установка поперечных конденсаторных групп по отношению к ЦНД турбины: а – один подвальный конденсатор; б – два подвальных, подключенных параллельно по охлаждающей воде; в - один подвальный конденсатор; г - один подвальный конденсатор; д - два подвальных, подключенных параллельно по охлаждающей воде; е – три подвальных, подключенных параллельно по охлаждающей воде

 

По расположению конденсаторной группы по отношению к турбине их делят на подвальные и бесподвальные. Подвальные конденсаторные группы устанавливают в помещении под машинным залом между колоннами фундамента, на которых покоится верхняя фундаментная плита с установленной на ней турбиной. Бесподвальная конденсаторная группа размещается на той же отметке машинного зала, что и турбина.

 







Date: 2015-05-08; view: 1120; Нарушение авторских прав



mydocx.ru - 2015-2026 year. (0.308 sec.) Все материалы представленные на сайте исключительно с целью ознакомления читателями и не преследуют коммерческих целей или нарушение авторских прав - Пожаловаться на публикацию