Главная Случайная страница


Полезное:

Как сделать разговор полезным и приятным Как сделать объемную звезду своими руками Как сделать то, что делать не хочется? Как сделать погремушку Как сделать так чтобы женщины сами знакомились с вами Как сделать идею коммерческой Как сделать хорошую растяжку ног? Как сделать наш разум здоровым? Как сделать, чтобы люди обманывали меньше Вопрос 4. Как сделать так, чтобы вас уважали и ценили? Как сделать лучше себе и другим людям Как сделать свидание интересным?


Категории:

АрхитектураАстрономияБиологияГеографияГеологияИнформатикаИскусствоИсторияКулинарияКультураМаркетингМатематикаМедицинаМенеджментОхрана трудаПравоПроизводствоПсихологияРелигияСоциологияСпортТехникаФизикаФилософияХимияЭкологияЭкономикаЭлектроника






Расчет ленточных фундаментов





Ленточные фундаменты наружных стен зданий с подвалами рассчитываются на нагрузки, передаваемые стеной подвала, и на действующее на них давление грунта.

Расчет ленточных фундаментов производится по сечению I-I, проходящему по краю фундаментной стены (рис.16), а при ступенчатой форме фундаментов – и по грани ступени. Расчетные усилия в сечении на 1 м длины фундамента при центральной нагрузке определяются по формулам:

М = 100 ра 2/2; (56)

Q = 100 ра, (57)

где р – среднее давление по подошве фундамента, передаваемое на грунт от расчетных нагрузок; а – вылет консоли фундамента.

 

 

Рис.16. К расчету ленточного фундамента

 

 

Расчетные усилия в сечении на 1 м длины фундамента при внецентренной нагрузке (см.рис.16) вычисляются по формулам:

М = а 2(2 рmax + р 1)/6; (58)

Q = а (2 рmax + р 1)/6; (58)

где рmax и р 1 – соответственно давления от расчетных нагрузок, передаваемых на грунт под краем фундамента и в расчетном сечении.

Расчет по прочности нормальных сечений производится на момент от расчетных нагрузок. Подбор площади сечения продольной арматуры производится по формуле

Аs = , (60)

где Rs – расчетное сопротивление арматуры растяжению; ν - коэффициент, определяемый по табл.3 в зависимости от параметра А`0; h 0 – рабочая высота сечения, принимаемая равной расстоянию от верха фундамента до центра арматуры.

ТАБЛИЦА 3. ЗНАЧЕНИЕ КОЭФФИЦИЕНТА ν

А`0 ν А`0 ν
0,039 0,058 0,077 0,095 0,113 0,98 0,97 0,96 0,95 0,94 0,139 0,164 0,18 0,204 0,92 0,91 0,9 0,88

 

Параметр А`0 определяется по формуле

А`0 = , (61)

где Rb – расчетное сопротивление бетона для предельного состояния первой группы; b – ширина сечения фундамента.

При расчете наклонных сечений на действие поперечной силы должно соблюдаться условие

Q ≤ 0,35 Rbbh 0. (62)

Расчет на действие поперечной силы не производится при

Qk1Rbtbh 0, (63)

где k1 – коэффициент, принимаемый для тяжелого бетона равным 0,75; Rbt – расчетное сопротивление бетона осевому растяжению для предельного состояния первой группы.

Расчет элементов без поперечной арматуры производится из условия

QQb, (64)

где Q – поперечная сила, действующая в наклонном сечении, т.е. равнодействующая всех поперечных сил от внешней нагрузки, расположенных по одну сторону от рассматриваемого наклонного сечения; Qb – поперечное усилие, воспринимаемое бетоном сжатой зоны в наклонном сечении:

Qb = k2Rbtbh 02/ c, (65)

где k2 – коэффициент, принимаемый для тяжелого бетона равным 1,5; с – длина проекции наклонного сечения на продольную ось.

Железобетонные фундаменты рассчитываются по раскрытию трещин, при этом ширина раскрытия трещин, нормальных к продольной оси элемента, определяется по формуле

ас = 1,2 , (66)

где η – коэффициент, принимаемый равным при стержневой арматуре периодического профиля 1,8, гладкой 1,3, при проволочной арматуре периодического профиля 1,2, гладкой 1,4; σs - напряжение в стержнях растянутой арматуры; μ - коэффициент армирования сечения, принимаемый равным отношению площади сечения арматуры к площади сечения b x h 0, но не более 0,02; d – средний диаметр растянутой арматуры:

d = (n1d12 + … + nkdk2)/(n1d1 + … + nkdk), (67)

где d1, …, dk – диаметры стержней растянутой арматуры; n1, …, nk – число стержней соответствующей арматуры.

Напряжение в арматуре определяется по формуле

σs = RsМ/М1, (68)

где М1 – момент от действия расчетной нагрузки при коэффициенте надежности по нагрузке γ f =1:

М1 = МАs`/Аs``; (69)

М – момент от действия расчетной нагрузки при коэффициенте надежности по нагрузке γ f > 1; Аs ` - фактическая площадь принятой арматуры; As `` - площадь арматуры, требуемая по расчету прочности.

 

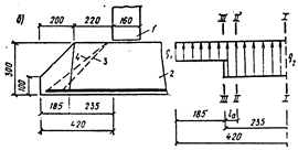
Пример 2. Рассчитать фундаментную плиту с угловыми вырезами (рис.17). На 1 м длины фундамента передается нагрузка 450 кН. Бетон марки М150, имеющий Rbt =0,63 МПа и Rb =7 МПа.

Решение. Среднее давление по подошве фундамента

р = 450·240/(0,4·1,6 + 0,6·2,4) = 0,52 МПа,

а с учетом коэффициента надежности по нагрузке

р ` = 1,2·0,52 = 0,62 МПа.

Нагрузка на 1 м ширины фундаментной плиты составит:

q1 = 0,62·1,6 = 995 кН/м; q2 = 0,62·2,4 = 1490 кН/м.

Расчет проводим в трех сечениях: I-I – по грани стеновой панели; II-II – по грани угловых вырезов с учетом анкеровки арматуры на величину lа, равную примерно 9 см; III-III – то же, без учета анкеровки. Расчетные усилия в этих сечениях будут:


МI-I = 995·0,422/2 + (1490 - 995)0,2352/2 = 101,3 кН·м;

QI-I = 995·0,185 + 1490·0,235 = 534 кН;

МII-II = 995·0,2752/2 + (1490 - 995)0,092/2 = 39,6 кН·м;

QII-II = 995·0,2 = 199 кН;

МIII-III = 37,5 кН·м;

QIII-III = 168 кН.


Рис.17. К расчету фундаментной плиты с угловыми вырезами

а – план плиты; б – поперечное сечение плиты; в – схема реактивного давления грунта; 1 – стена подвала; 2 – фундаментная плита; 3, 4 – расчетные наклонные сечения

 

 

Определяем необходимую площадь сечения арматуры при h 0=0,3-0,033=0,267 м:

А0 = (10·130000)/(700·240·26,72) = 0,0853;

По табл.3 находим ν =0,955; площадь сечения арматуры

Аs = (10·130000)/(34000·26,7·0,955) = 11,67 см2;

сечение II-II

А0 = (3·960000)/(700·240·26,72) = 0,033;

при ν =0,983 площадь сечения арматуры

Аs = (3·960000)/(34000·26,7·0,983) = 4,42 см2;

сечение III-III

А0 = 0,0472; ν =0,976; Аs = 4,23 см2.

Армируем двумя сетками – нижней, рабочая арматура которой принята диаметром 8 мм из стали класса А-III в количестве 16 стержней общей площадью 8,04 см2, и верхней из арматуры диаметром 5 мм класса Вр-I в количестве 24 стержней общей площадью 4,73 см2. Общая площадь арматуры в сечении I-I составляет 12,77 см2.

Рассматриваем наклонные сечения 3 и 4. Определяем по формуле (62):

Q = 0,35 Rbbh 0 = 0,35·0,7·26,7 = 1516 кН > 534 кН.

Находим по формуле (63):

Q1 = k1Rbtbh 0 = 0,75·0,063·240·26,7 = 292,4 < 534 кН,

т.е. требуется расчет на действие поперечной силы.

В сечении 3 с =26 см. Тогда а`=а-с =42-26=16 см. Высота сечения для а`:

h ` = 10 + 16(30-10)/20 = 26 см;

h 01 = 26-4=22 см;

h 0 = (22+26)/2=24 см.

Определяем усилие, воспринимаемое бетоном, и действующее усилие:

Qb = k2Rbtbh 02/ с = 1,5·0,063·238·242/26 = 498,3 кН;

Q = QI-I – qc = 534 – 1496·0,235 – 995(0,26-0,235) = 159 кН < 498,3 кН.

В сечении 4 принимаем с =37 см. Тогда а`= 42-37=5 см и h 0 =18,5 см, откуда:

Qb = 1,5·0,063·160·18,52/37 = 140 кН;

Q = 534 – 1490·0,235 – 995(0,37-0,235) = 50 кН < 140 кН.

Расчет по трещиностойкости производим для сечения I-I по расчетным нагрузкам с коэффициентом надежности по нагрузке, равным 1:

М`1 = M/γf = 101,3/1,2 = 84,4 кН·м;

АI-I =12,77 см2;

μ = АI-I/(bh0) = 12,77/(240·26,7) = 0,002;

М1 = МАs`/As`` = 101,3·12,77/11,68 = 110 кН·м;

σs = RsM1`/M1 = 34·103·844·104/11·105 = 259 МПа;

d = (24·0,52 + 16·0,82)/(24·0,5 + 16·0,8) = 6,6 мм;

ас = 1,2·1 = 0,191 мм < 0,3 мм.







Date: 2015-06-07; view: 1152; Нарушение авторских прав



mydocx.ru - 2015-2026 year. (0.459 sec.) Все материалы представленные на сайте исключительно с целью ознакомления читателями и не преследуют коммерческих целей или нарушение авторских прав - Пожаловаться на публикацию