Главная Случайная страница


Полезное:

Как сделать разговор полезным и приятным Как сделать объемную звезду своими руками Как сделать то, что делать не хочется? Как сделать погремушку Как сделать так чтобы женщины сами знакомились с вами Как сделать идею коммерческой Как сделать хорошую растяжку ног? Как сделать наш разум здоровым? Как сделать, чтобы люди обманывали меньше Вопрос 4. Как сделать так, чтобы вас уважали и ценили? Как сделать лучше себе и другим людям Как сделать свидание интересным?


Категории:

АрхитектураАстрономияБиологияГеографияГеологияИнформатикаИскусствоИсторияКулинарияКультураМаркетингМатематикаМедицинаМенеджментОхрана трудаПравоПроизводствоПсихологияРелигияСоциологияСпортТехникаФизикаФилософияХимияЭкологияЭкономикаЭлектроника






Лабораторная работа №3





ИССЛЕДОВАНИЕ МНОГОФАЗНЫХ ВЫПРЯМИТЕЛЕЙ

 

  1. Цель работы

 

Цель лабораторной работы:

- ознакомиться с работой схем выпрямления трехфазного тока и с ходом внешних характеристик этих выпрямителей;

- выполнить экспериментальную проверку основных соотношений между токами и напряжениями в различных звеньях схем;

- ознакомиться с формой кривых напряжения и тока в различных звеньях схем.

 

  1. Указания по подготовке к лабораторной работе

 

Ознакомиться с графиком выполнения лабораторной работы и сдачи отчета.

Изучить необходимый теоретический материал (см. список рекомендуемой литературы и раздел 3 данного методического руководства). Подготовиться к ответам на вопросы для допуска к выполнению работы (см.п.9.1).

Подготовить таблицы для снятия экспериментальных характеристик. Ознакомиться с порядком выполнения лабораторной работы.

 

  1. Основные теоретические сведения

 

3.1. Схема выпрямления трехфазного тока с выводом нулевой

точки трансформатора

 

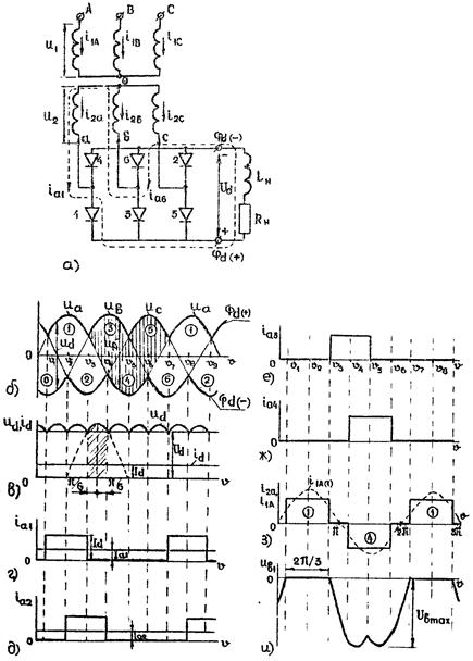
В схеме с выводом нулевой точки трансформатора (рис.1, а) аноды трех диодов присоединены к концам фаз вторичных обмоток трансформатора. Катоды диодов соединены вместе. Диоды поочередно пропускают ток в цепь нагрузки.

Общая точка катодов диодов служит положительным полюсом для цепи нагрузки, а нулевая точка вторичной обмотки трансформатора - отрицательным полюсом. Работа схемы иллюстрируется временными диаграммами, приведенными на рис.1, б-ж. (Рассмотрен режим чисто активной нагрузки). Из диаграмм вторичных фазных напряжений (рис.1, б) видно, что в течение 2.π/3 напряжение одной фазы относительно нулевой точки трансформатора выше напряжений двух других фаз. Следовательно, в любой момент времени ток пропускает

Рисунок 1 – Схема неуправляемого трехфазного выпрямителя (а) с нулевым выводом и его временные диаграммы при чисто активной нагрузке (б-ж)

только один диод, анод которого имеет наиболее высокий потенциал. Продолжительность работы каждого диода - треть периода. Переход тока от одного вентиля к другому происходит в момент пересечения кривых фазных напряжений (точки u1, u2, u3 … на диаграмме рис.1, б). Выпрямленный ток id проходит через нагрузку Rн и Lн непрерывно.

В каждый момент времени мгновенное значение выпрямленного напряжения ud (рис.1, в) определяется мгновенным значением напряжения той фазы, с которой соединен диод (падением напряжения на диоде пренебрегаем).

Среднее значение выпрямленного напряжения при холостом ходе для нулевых схем при числе фаз вентильной обмотки m:

(1)

При m=3

(2)

. (3)

Когда кривая выпрямленного напряжения описывается m- симметричными отрезками синусоид (см. рис.1,б), на основании уравнения для амплитуд гармонических составляющих ряда Фурье получаем:

 

, (4)

где n=1,2,3 …-номера гармоник.

Отношение амплитуды переменной составляющей Udνm к среднему значению Ud определяет коэффициент пульсаций мгновенного значения выпрямленного напряжения на выходе выпрямителя:

. (5)

Среднее значение тока диода (см.рис.3.1,г-е) в нулевой схеме равно:

, при m=3 . (6)

Максимальное значение тока диода Iamax=Idmax связано со средним значением тока Id так же, как связаны напряжения Udmax и Ud в уравнении (3) (нагрузка активная):

. (7)

Так как Id=3Ia, то .

Обратное напряжение на диоде u в в данной схеме равно междуфазному (линейному) напряжению вторичных обмоток трансформатора, так как анод неработающего диода присоединен к одной из фаз, а катод через работающий диод – к другой фазе вторичной обмотки. Мгновенные значения обратного напряжения между анодом и катодом одного диода показывают ординаты заштрихованной на рис.1,б, площади, в соответствии с этим построена линейная диаграмма обратного напряжения u в 1 относительно общей точки катодов (см.рис.1,ж).

Максимальное значение обратного напряжения

. (8)

По среднему и максимальному значениям токов и максимальному значению обратного напряжения выбираются диоды.

Действующее значение напряжения вторичной обмотки трансформатора определяется из уравнения (2). Действующее значение фазного тока в этой обмотке, (рис.1,г,д,е-пунктирная линия), если считать, что ток диода, а следовательно, и ток во вторичной обмотке трансформатора имеют вид прямоугольника с высотой Id и с основанием (в общем случае) 2p/m, находим из уравнения:

(9)

Для нулевой трехфазной схемы, где каждый диод работает в течение одной трети периода, получаем


. (10)

В схемах с выводом нулевой точки трансформатора ток i 2 во вторичной обмотке в любой момент протекает только в одной фазе и в одном направлении. В кривой вторичного тока содержится переменная и постоянная составляющие i2~ +I2-; постоянная составляющая (I2- = Id/m) не трансформируется в первичную обмотку. В первичной обмотке ток проходит во всех трех фазах. Наличие постоянной составляющей, протекающей через вторичную обмотку трансформатора, создает во всех трех сердечниках однонаправленный магнитный поток. Этот поток, называемый потоком однофазного или вынужденного намагничивания, при переходе тока с одного диода на другой не изменяет своего направления, а его значение пульсирует с тройной частотой в соответствии с пульсацией анодного тока. Магнитный поток замыкается через воздух и кожух трансформатора.

Наличие постоянной составляющей потока вынужденного намагничивания в сердечниках приводит к резкому увеличению намагничивающего тока трансформатора, а в некоторых случаях к необходимости увеличения сечения магнитопровода трансформатора во избежание его насыщения и нагрева.

Действующее значение фазного тока в первичной обмотке, если принять кривую этого тока прямоугольной, находим из уравнения

, (11)

где n=U1/U2 – коэффициент трансформации.

Типовая мощность трансформатора для конструктивного расчета магнитопровода и обмоток равна:

, (12)

где

.

Отсюда

 

3.2. Мостовая схема выпрямления трехфазного тока

 

Мостовая схема выпрямления трехфазного тока (схема А.Н.Ларионова) показана на рис.2, а. Диоды в этой схеме комплектуются в две группы:

1) нижнюю (на схеме), в которой объединены катоды, а аноды присоединены к концам фаз вторичных обмоток трансформатора;

2) верхнюю (на схеме), в которой объединены аноды, а к концам фаз трансформатора присоединены катоды.

Между общей точкой катодов и анодов присоединяется нагрузка. По отношению к внешней цепи общая точка катодов является положительным полюсом, а общая точка анодов – отрицательным полюсом.

Рисунок 2 – Схема трехфазного мостового неуправляемого

выпрямителя (а) и его временные диаграммы при Lн® ¥ (б-и)

Анализ схемы проводится при активно-индуктивной нагрузке, с Lн® ¥. Работа группы диодов с объединенными катодами повторяет режим работы трехфазной схемы с выводом нулевой точки трансформатора. В данной группе в течение одной трети периода работает диод с наиболее высоким положительным потенциалом анода (относительно потенциала общей точки катодов). В группе диодов с объединенными анодами потенциалы всех анодов одинаковы и в данную часть периода работает тот диод, у которого катод имеет наиболее отрицательный потенциал по отношению к общей точке анодов.

В мостовой схеме работают одновременно два диода: один из нижней, другой – из верхней группы, нагрузка в любой момент присоединяется через диоды к двум фазам вторичных обмоток трансформатора, т.е. ток нагрузки в мостовой схеме создается под действием линейного напряжения. Контур тока нагрузки при открытых вентилях 1и 6 показан на рис.2,а. Чередование работы отдельных диодов можно проследить по временным диаграммам, представленным на рис.2, г-ж. С учетом условия одновременной работы двух диодов (один в верхней, другой в нижней группах) можно сказать, что в проводящем состоянии будут находиться те два накрест лежащих вентиля выпрямительного моста, между которыми действует в проводящем направлении наибольшее линейное напряжение. Укажем на диаграммах интервалы проводимости вентилей (см.рис.2, б): на интервале u1÷u2 проводят вентили 6 и 1, на интервале u2÷u3 вентили 1 и 2, на интервале u3÷u4 – вентили 2, 3 и т.д. Из диаграммы видно, что интервал проводимости каждого вентиля составляет y=2p/3, а интервал совместной работы двух вентилей равен p/3. Таким образом, за период напряжения происходит шесть переключений вентилей, в связи, с чем схему часто называют шестипульсной.


Выпрямленное напряжение (см.рис.2, в) в этой схеме состоит из участков линейных напряжений вторичных обмоток трансформатора.

Среднее значение выпрямленного напряжения может быть вычислено по формуле (1), если вместо U2 подставить линейное напряжение U= U2. При m=6 получим

. (13)

Эту величину можно определить и по среднему значению напряжения за период повторяемости ud (заштрихованный участок на рис.2, в).

Как видно из формулы (13) при заданном напряжении Ud в мостовой схеме требуется вдвое меньшее напряжение U2:

, (14)

что заметно уменьшает размеры и массу трансформатора.

Из формулы (13) можно выяснить связь между максимальным и средним значениями выпрямленного напряжения:

. (15)

Среднее значение анодного тока диода Ia=Id/3, а максимальное значение анодного тока диода при активной нагрузке может быть найдено из равенства, аналогичного (15)

 

.

Амплитуда обратного напряжения (рис.2, и)

 

. (16)

Отношение Ubmax/Ud является показателем использования диода по обратному напряжению.

Ток во вторичной обмотке трансформатора, равный сумме токов диодов, присоединенных к данной фазе (см.рис.2, з), является чисто переменным. Действующее значение этого тока

 

. (17)

 

Форма тока первичной обмотки (см.рис.2,з) повторяет форму тока вторичной обмотки, поэтому отношение этих токов определяется коэффициентом трансформации:

 

, (18)

 

.

Типовая мощность трансформатора

. (19)

 

Достоинства мостовой схемы Ларионова:

- большое среднее значение выпрямленного напряжение по отношению к фазному напряжению вторичной обмотки трансформатора;

- высокий показатель использования диодов по обратному напряжению;

- малое значение коэффициента пульсаций мгновенного значения выпрямленного напряжения на выходе выпрямителя, что существенно уменьшает массу фильтров, при m=6 и n=1

 

, (5,7% от Ud);

 

- небольшое значение расчетной (типовой) мощности трансформатора по сравнению с мощностью в цепи постоянного тока, что характеризует коэффициент использования трансформатора;

- отсутствие потока вынужденного подмагничивания;


- сравнительно высокий коэффициент мощности по сравнению с нулевыми схемами.

К недостаткам мостовой схемы Ларионова относится удвоенное число диодов по сравнению с нулевой схемой.

 

3.3. Внешняя характеристика мощного выпрямителя

 

Среднее значение выпрямленного напряжения уменьшается при увеличении выпрямленного тока. В данной работе исследуется зависимость Ud =f(Id), называемая внешней (нагрузочной) характеристикой.

В большинстве схем мощных выпрямителей падение напряжения на диодах и в обмотках трансформаторов относительно мало, наибольшее влияние на ход внешней характеристики оказывают процессы коммутации тока в фазах обмоток трансформатора, обусловленные влиянием индуктивности рассеяния. В расчетах нормальных нагрузочных режимов индуктивность рассеяния приводится ко вторичной обмотке трансформатора и обозначается на схемах Хa.

Если пренебречь индуктивностью рассеяния обмоток трансформатора, то коммутацию тока в диодах и фазах обмоток трансформатора можно считать мгновенной. В этом случае кривые анодных токов будут ограничены вертикальными прямыми (см.рис.2,г-ж). В связи с наличием индуктивности рассеяния трансформатора ток в цепи диода, заканчивающего работу, не может мгновенно спадать до нуля, а в цепи диода, вступающего в работу, ток не может мгновенно возрасти от нуля до полного значения. Практически изменение происходит в течение определенного промежутка времени, определяемого углом g (рис.3,г), который называют углом коммутации.

В течении угла коммутации g в фазе обмотки трансформатора, к которой присоединен диод, где ток спадает до нуля, отдается энергия, накопленная в магнитном поле потока рассеяния трансформатора, а обмотка, к которой присоединен диод, где ток возрастает, накапливает энергия. В период коммутации ток id остается неизменным благодаря значительной индуктивности в цепи выпрямленного тока, т.е.

.

Если скорости изменения токов ia1 и ia2 принять одинаковыми, т.е.

то при одинаковом значении индуктивности рассеяния в фазах вторичной обмотки трансформатора э.д.с. самоиндукции в фазах будут также одинаковыми, т.е.

; ; .

Полные значения э.д.с. в одновременно работающих фазах по отношению к нулевой точке трансформатора будут соответственно равны:

,

откуда э.д.с. самоиндукции, возникшая в обмотках трансформатора при коммутации,

. (20)

 

Рисунок 3 – Схема трехфазного нулевого выпрямителя с учетом индуктивности рассеяния трансформатора (а); векторная (б) и временные диаграммы (в-д), учитывающие явление коммутации

 

Подставляя в (20) мгновенные значения э.д.с. u и u2b, находим для m-фазной схемы:

.

Напряжение ud на нагрузке, которая в период коммутации оказывается присоединенной параллельно коммутирующим фазам (см.рис.3, б) равно

. (21)

 

Из уравнения (21) следует, что кривая напряжения ud в период коммутации проходит между кривыми фазных э.д.с. (рис.3, в), поскольку э.д.с. самоиндукции в обмотке с нарастающим током (например, в фазе в) вычитается из фазной э.д.с. u2b, а в обмотке с убывающим током (например, фаза а) – суммируется с фазной э.д.с. u2 а .

По окончании коммутации кривая выпрямленного напряжения совпадает с кривой фазного напряжения, к которой присоединен работающий диод. Среднее значение выпрямленного напряжения с учетом процессов коммутации определяется по формуле

, (22)

где DUdg - среднее значение коммутационного снижения напряжения.

Среднее за период значение DUdg равно (см.рис.3.3,в)

Подставляя в это выражение значение ug, получаем среднее значение падения выпрямленного напряжения, возникающего вследствие затягивания коммутации тока в фазах обмоток трансформатора:

.

Для окончательного подсчета DUdg нужно знать угол коммутации g, значение которого можно определить, если известен ход кривых анодных токов в период коммутации (полный расчет угла g дан в [1]). В реальных схемах g»15-20 эл.град. Учитывая значение угла g получаем среднее значение падения напряжения, возникающего вследствие затягивания коммутации тока в фазах обмоток трансформатора:

. (23)

Полученное соотношение показывает, что падение напряжение на выходе выпрямителя прямо пропорционально току нагрузки Id индуктивности рассеяния обмоток трансформатора Х а (приведенной ко вторичной обмотке) и числу m (числу коммутационных процессов за период). Индуктивность рассеяния обмоток трансформатора Х а определяется по значению напряжения короткого замыкания uk трансформатора, соответствующего номинальному значению первичного тока I1ном:

.

 

Для большинства схем можно принять

 

, (24)

 

(индуктивность сети не учитываем).

Выпрямленное напряжение при учете падения напряжении, вызванного коммутацией, определяется уравнением (в относительных единицах)

. (25)

С учетом соотношений значений токов и напряжений в фазах обмоток трансформатора и в цепи выпрямленного тока:

 

находим

 

Подставляя значение в уравнение внешней характеристики, записанной в относительных единицах, получаем

. (26)

Внешняя характеристика выпрямителя представляет соответственно прямую линию.

 

 

3.4. Коэффициент мощности выпрямителя

 

Одним из существенных показателей работы всех схем выпрямления является коэффициент мощности. Для неуправляемых выпрямителей коэффициент мощности приближенно можно определить из уравнения

 

 

Коэффициент l показывает, насколько эффективно используется мощность, получаемая из сети:

 

 

где ; ;

 

I1n - гармонические составляющие в кривой тока первичной обмотки трансформатора;

j - угол сдвига фаз между основной составляющей тока и напряжением сети.

Гармонический состав потребляемого из сети тока зависит от числа фаз преобразователя m; для любой схемы (при m>1) справедливо выражение

 

n=km±1, k=1,2,3…

 

Для оценки действующего значения гармоники сетевого тока n-го порядка I1n полагаем, что выпрямленный ток полностью сглажен, а потребляемый от сети ток имеет прямоугольную форму. В этом случае можно принять I1n» I1/n.

 

 







Date: 2015-06-06; view: 1964; Нарушение авторских прав



mydocx.ru - 2015-2026 year. (0.546 sec.) Все материалы представленные на сайте исключительно с целью ознакомления читателями и не преследуют коммерческих целей или нарушение авторских прав - Пожаловаться на публикацию