Главная Случайная страница


Полезное:

Как сделать разговор полезным и приятным Как сделать объемную звезду своими руками Как сделать то, что делать не хочется? Как сделать погремушку Как сделать так чтобы женщины сами знакомились с вами Как сделать идею коммерческой Как сделать хорошую растяжку ног? Как сделать наш разум здоровым? Как сделать, чтобы люди обманывали меньше Вопрос 4. Как сделать так, чтобы вас уважали и ценили? Как сделать лучше себе и другим людям Как сделать свидание интересным?


Категории:

АрхитектураАстрономияБиологияГеографияГеологияИнформатикаИскусствоИсторияКулинарияКультураМаркетингМатематикаМедицинаМенеджментОхрана трудаПравоПроизводствоПсихологияРелигияСоциологияСпортТехникаФизикаФилософияХимияЭкологияЭкономикаЭлектроника






Раздел 3






 


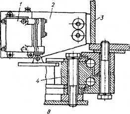
Ог ранич ит ель поворота башни (рис. 3.7) служит для ограничения ѵтла закручивания *абеля в пределах двух оборотов. Он состоит из конечного шпиндельного выключателя /, установленного на специальном кронштейне 2 на внутренней обечайке поворотной платформы 3. Ограничитель приводится в действие при помощи шестерни, насаженной на ось выключателя и сцепленной с венцом опорно-поворотного круга 7. Во время работы крана контакты замкнуты и он может вращаться в обе стороны. При подходе к крайнему положению ролик размыкающей шайбы нажимает на выступ собачки и освобождает рычаг, который под действием пружин размыкает контакты. При этом вращение крана прекращается и поворот можно осуществить только в обратном направлении, поскольку вторая пара неподвижных контактов замкнута.

Рис. 3.7. Ограничитель поворота башни:

1 — конечный выключатель; 2 — кронштейн; 3 — поворотная платформа; 4 — опорно-поворотный круг

Ог раничитель передвижения крана (рис. 3.8). Он служит для отключения механизма передвижения в конечных участках подкранового пути. В его состав входит конечный выключатель /, установленный на раме одной из ведущих тележек, и упоры 2, установленные на конечных участках подкранового пути. При подходе к конечным участкам подкранового пути вилка конечного выключателя упирается:і специальный упор, прикрепленный к шпале, возвращается, размыкает ч.псктрчческую цепь; электродвигатели механизма передвижения ія.'-і-тюч^отся. Регулирование ограничителя передвижения заключается і-, правильной установке упоров конечных выключателей.


Рис. 3.8. Ограничитель перемещения крана на подкрановом пути: 1 — конечный выключатель; 2 — упор

Огра ничи тель вылета каретки. Он состоит из конечного выключателя ВУ-250А, который приводится в движение цепной передачей от барабана лебедки передвижением каретки.

Рис. 3.9. Клещевой противоугонный захват

Пр отивоугонные устройства. С целью предотвращения случайного передвижения и опрокидывания крана под действием сильного ветра, вследствие проседания подкранового пути в нижней части рамы ходовых тележек между колесами устанавливают клещевые захваты (рис. 3.9). Клещевые захваты башенных кранов серии КБ работают с губками, постоянно подведенными под головку рельса. Это повышает безопасность работы крана, поскольку при этом исключается возможность соскакивания тележек с рельсов и опрокидывания крана.


 


246









Date: 2015-06-06; view: 1085; Нарушение авторских прав



mydocx.ru - 2015-2026 year. (0.981 sec.) Все материалы представленные на сайте исключительно с целью ознакомления читателями и не преследуют коммерческих целей или нарушение авторских прав - Пожаловаться на публикацию