Главная Случайная страница


Полезное:

Как сделать разговор полезным и приятным Как сделать объемную звезду своими руками Как сделать то, что делать не хочется? Как сделать погремушку Как сделать так чтобы женщины сами знакомились с вами Как сделать идею коммерческой Как сделать хорошую растяжку ног? Как сделать наш разум здоровым? Как сделать, чтобы люди обманывали меньше Вопрос 4. Как сделать так, чтобы вас уважали и ценили? Как сделать лучше себе и другим людям Как сделать свидание интересным?


Категории:

АрхитектураАстрономияБиологияГеографияГеологияИнформатикаИскусствоИсторияКулинарияКультураМаркетингМатематикаМедицинаМенеджментОхрана трудаПравоПроизводствоПсихологияРелигияСоциологияСпортТехникаФизикаФилософияХимияЭкологияЭкономикаЭлектроника






Тяговая сеть





 

Впервые передача электрической энергии движущемуся вагону была осуществлена в 1876 г. русским инже­нером Ф. А. Пироцким. Для этого использовались ходовые рельсы, изолированные друг от друга. Одному из них была придана поло­жительная полярность, другому – отрицательная. Чтобы рельсы не замыкались через оси вагона, его колеса были деревянными, а токосъем производился металлическими щетками, скользив­шими по рельсам. Позднее для подвода питания к вагону стали устанавливать третий рельс, получивший название контактного. Сначала этот рельс располагали на изоляторах между ходовыми рельсами, а затем сбоку от них.

В 1881 г. появилась первая воздушная контактная подвеска, предложенная немецкой фирмой «Сименс». Токосъем с висящего провода осуществлялся с помощью ролика, установленного на токоприемнике вагона. В первых таких конструкциях ролик пере­мещался по верхней части провода, в последующих – по нижней. Затем на токоприемниках на смену деталям, катящимся по про­воду, пришли элементы, скользящие по нему.

Основные способы токосъема, предложенные еще в прошлом веке, сохранились до наших дней. До сих пор элементы контакт­ной сети, имеющие непосредственный контакт с токоприемниками, выполняют в виде контактных рельсов и воздушных контакт­ных подвесок.

Но конструкция их, конечно, существенно изме­нилась. На рисунке 2.84 приведена схема токосъема на отечественных метрополитенах: контактный рельс 4 устанавливают сбоку от ходового рельса 2; на кpoнштейне 3 его крепят к шпале 1. Токоприемник 5 касается контактного рельса снизу. Этот рельс закрывают деревянным коробом 7 с изоляцией 6.

Тяговая сеть состоит из контакт­ной и рельсовой сетей, питающих и отсасывающих линий. Контакт­ная сеть представляет собой сово­купность проводов, конструкций и обору-дования, обеспечивающих пе­ре-дачу электрической энергии от

 

Рисунок 2.84 – Система токосъема на отечественных метрополитенах  
тяговых подстанций к токоприем-

­никам электроподвижного состава. Она устроена таким обра-

зом, что обеспечивает бесперебойный то­косъем локомотивами при наиболь­ших скоростях движения в любых атмосферных условиях.

Контактную сеть выполняют в ви­де воздушных подвесок. При движе­нии локомотива токоприемник не должен отрываться от контакт­ного провода, иначе нарушается токосъем и возможен пережог про­вода. Надежная работа контактной сети в значительной мере зависит от стрел провеса провода и нажатия токоприемника на провод.

Воздушные контактные подвески. Их делят на простые и цеп­ные. Простая контактная подвеска (рисунок 2.85) представляет собой провод, свободно висящий между точками подвеса, распо­ложенными на опорах. Расстояние между осями опор называют длиной пролета l п, или просто пролетом. Этот провод непосред­ственно вступает в контакт с токоприемниками ЭПС, и поэтому его называют контактным.

Рисунок 2.85 – В простой контактной под­веске контактный провод 1 подвешива­ют на гибком тросе 2 к кронштейну 3, расположенному на опоре 4. Гибкие тросы применяют при необходимости повышения эластичности подвески у опор  
Качество токосъема во многом зависит от стрелы провеса контактного провода. Стрела провеса – это расстояние, изме­ряемое в плоскости расположения провода между точкой его подвеса и точкой наибольшего провисания. Стрела провеса тем больше, чем больше нагрузка на провод, и тем меньше, чем силь­нее натянут провод. От длины пролета стре-

ла провеса провода находится в квадратичной зависимости: например, при уменьше­нии пролета в 2 раза стрела провеса уменьшится в 4 раза.

Если не принять специальных мер для поддержания натя­жения провода на определенном уровне, его натяжение и стрела провеса будут изменяться при колебаниях температуры и нагруз­ки. При увеличении температуры длина провода возрастает, а значит, увеличивается его стрела провеса и снижается натя­жение. При понижении температуры длина провода уменьшается, что вызывает уменьшение стрелы провеса и увеличение натяже­ния.

Стрела провеса провода будет меняться и при изменениях нагрузки на него. Например, в случае образования на проводе гололедных отложений нагрузка увеличится, и стрела провеса станет больше. Иногда во время сильных гололедов она даже больше, чем при максимальной температуре воздуха. Под давле­нием ветра нагрузка, действующая на провод, также увеличива­ется, и провод отклоняется в сторону от вертикального положения. Это отклонение и стрела провеса провода (в плоскости его откло­нения) будут тем больше, чем сильнее ветер.


Чтобы обеспечить лучшее качество токосъема, стремятся иметь небольшие стрелы провеса контактного провода, так как при этом токоприемник меньше перемещается по вертикали и ему легче следовать за изменениями

высоты контактного провода.

Уменьшения стрелы провеса контактного провода можно до­стичь, снижая нагрузку на провод, уменьшая длину пролета и увеличивая натяжение. Лучше всего было бы уменьшить длину пролета, но это нежелательно, так как возрастет число опор и, следовательно, увеличится стоимость контактной сети. Из­менить нагрузку на провод, за исключением удаления гололедных образований, нельзя – она определяется весом самого провода. Повысить натяжение провода можно, но только до предела, определяемого максимальным допускаемым в условиях эксплуа­тации значением – оно ограничено прочностью провода. Поэтому, если необходимо существенно уменьшить стрелу провеса кон­тактного провода, приходится усложнять контактную подвеску.

Большое значение для достижения бесперебойного токосъема имеет также равномерность эластичности контактной подвески вдоль пролета. Эластичность подвески характеризует ее способ­ность подниматься под воздействием токоприемника. Чем меньше разница в высоте подъема контактного провода в разных местах пролета, тем более плавно движется токоприемник и надежнее его контакт с проводом.

Эластичность измеряют отношением высоты, на которую под­нялся контактный провод, к силе нажатия токоприемника, выз­вавшей этот подъем. Величину, обратную эластичности контактной подвески, называют ее жесткостью. Жесткость подвески пока­зывает, какую силу нужно приложить к данной точке, чтобы поднять подвеску на 1 м. Эластичность простой контактной под­вески вдоль пролета резко неравномерна – наибольшая в сере­дине пролета, наименьшая – в точках подвеса.

Осложняет токосъем наличие на контактной подвеске жест­ких точек. Жесткой называют такую точку на подвеске, в ко­торой эластичность значительно меньше, чем в середине про­лета. При простой контактной подвеске каждая точка подвеса является жесткой. Следовательно, нежелательно уменьшать длину пролета как по экономическим соображениям, так и потому, что растет число жестких точек.

Простые контактные подвески обеспечи­вают удовлетворительный токосъем при сравнительно неболь­ших скоростях движения. Их в основном применяют для трамваев и троллейбусов. Поэтому простую подвеску называют иногда трам­вайной.

Цепные контактные подвески (рисунок 2.86) применяют на магистраль­ных и пригородных электрифицированных участках во всех стра­нах. В та

кой подвеске контактный провод в пролете между опо­рами висит не свободно, а на часто расположенных проволо­ках – так называемых струнах, которые прикреплены к другому, расположенному выше проводу, называемому несущим тросом. Для того чтобы контактный провод занимал опреде­ленное положение относительно оси токоприемника и не откло­нялся от нее под действием ветра на недопустимое расстояние, на опорах устанавливают

 

Рисунок 2.86 – В цепной контактной подвеске контактный провод 1 подвешивают на струнах 5 к несущему тросу 2, на опоре 3 устанавливают консоль 4 и фиксатор 6  



специальные устройства – фиксаторы.

Преимущества цепной подвески по сравнению с простой заключается в следующем. В цепной подвеске при определенных температуре и нагрузке благодаря наличию несущего троса можно задать любую стрелу про-

веса контактного провода, подобрав соответствующие длины струн в пролете. Можно достигнуть и так называемого беспровесного положения контактного провода, при котором нижние концы всех струн находятся на одном и том же расстоянии от головок ходовых рельсов. В этом случае счи­тают, что контактный провод располагается по прямой линии и его стрела провеса равна нулю. Для того чтобы при простой подвеске получить такие же стрелы провеса контактного провода, как между струнами цепной подвески, надо при прочих одинако­вых условиях уменьшить длину пролета между опорами до рас­стояния между струнами, что совершенно неприемлемо. Малые стрелы провеса контактного провода позволяют при цепной под­веске смягчить, уменьшить жесткость точек вблизи опор, т. е. улуч­шить качество токосъема. Эластичность цепной подвески можно выровнять не только увеличением ее у опор, но и снижением в средней части пролета.

Изменения стрел провеса контактного провода при цепной подвеске в основном зависят от изменений стрел провеса несущего троса, а не от их абсолютных размеров. Если устранить изменения стрелы провеса несущего троса, то можно считать, что стрела провеса контактного провода будет неизменной.

Стрелы провеса контактного провода между струнами можно довести до чрезвычайно малых, практически не ощутимых для токоприемника значений, поддерживая определенное натяжение контактного провода и уменьшая расстояние между струнами.

Высота подвески контактного провода над уровнем верха головки рель-

са должна быть на перегонах и станциях не ниже 5750 мм и не должна превышать 6800 мм. В гори­зонтальной плоскости контактный провод закреплен фиксаторами так, что относительно оси пути он подве­шен зигзагообразно с отклонением у каждой опоры на ±300 мм. Благодаря этому контактный провод достаточно устойчив против ветра и не перетирает контактные пластины токоприемников.

При цепных подвесках, как видим, значительно улучшается качество токосъема. Кроме того, удается выполнять довольно большие пролеты между опорами (примерно вдвое большие, чем при простых подвесках) и обеспечивать движение поездов с очень высокими скоростями (300 км/ч и более).

 

 

Рисунок 2.87 – Профиль контактного провода МФ
Наибольшее распространение получили мед­ные фасонные (МФ) контактные провода из твердотянутой электро­литической меди сечением 85, 100 и 150 мм2 (рисунок 2.87). Их заменяют через 6–7 лет и более. Износ контактных проводов снижает сухая графитовая смазка полозов токо­приемников, применение угольных полозов и износостойких медно-кадмиевых и медно-магниевых кон­тактных проводов.


Опоры применяют железобетон­ные (рисунок 2.88)

и металлические (рисунок 2.89). Расстояние от оси

крайнего пути до внутреннего края опор контактной сети на перего­нах и станциях должно быть не менее 3100 мм. На сущест-

 
 

 


вующих электрифицированных линиях, а так­же в особо трудных условиях на вновь электрифицированных линиях расстояние от оси пути до внутрен­него края опор допускается не менее 2450 мм на станциях и 2750 мм на перегонах.

Биметаллические несущие тросы имеют сечение до 95 мм2, а медные – до 120 мм2. С помощью изоляторов их подвешивают к консолям, укрепленным на опорах, или к жест­ким и гибким поперечинам, пере­крывающим железнодорожные пути. Струны из сталемедной проволоки выполнены так, что они не мешают подъему контактного провода токо­приемниками. Фиксаторы делают легкими и подвижными, чтобы при прохождении токоприемника воз­никали удары.

На крупных станциях контактные провода подвешены только на путях, предназначенных для приема и отправления поездов на перегоны с электротягой, а также на путях электровозных и мотор-вагонных де­по. На промежуточных станциях, где маневры выполняются электро­возами, контактной сетью оборудо­ваны осе пути. Над стрелочными переводами контактная сеть

имеет воздушные стрелки, образуемые пе­ресечением двух контактных под­весок.

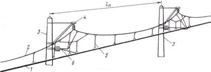
Устройство контактной сети на раздельных пунктах приведено на рисунке 2.90.

Рисунок 2.90 – Устройство контактной сети на раздельном пункте: поперечный несушнй трос 2, верхний 4 и нижний 7 фиксирующий тросы крепят к металлическим опорам /; тросы друг с другом соединяют электрическими оединителями 3; в нижнем тросе устраивают нейтральные участки 5 и

устанавливают секционирующие изоляторы 6

 

Для надежной работы и удоб­ства обслуживания контактную сеть делят на отдельные участки (сек­ции) с помощью воздушных про­межутков и нейтральных вставок (изолирующих сопряжений), а также секционных и врезных изоляторов. При проходе токоприемника элект­роподвижного состава по воздуш­ному промежутку он кратковремен­но электрически соединяет обе сек­ции контактной сети. Если по усло­виям питания секций это недопусти­мо, то их разделяют нейтральной вставкой, состоящей из нескольких последовательно включенных воз­душных промежутков. Применение таких вставок обязательно на участ­ках переменного тока, когда смеж­ные секции питаются от разных фаз трехфазного тока. Длина нейтраль­ной вставки устанавливается с таким расчетом, чтобы при любых комбинациях поднятых токоприем­ников подвижного состава пол­ностью исключалось одновременное замыкание контактных проводов нейтральной вставки с проводами при­легающих к ней секций контактной сети. В отдельные секции выделяют перегоны и промежуточные станции, а на крупных станциях – отдель­ные группы электрифицированных путей. Соединяют или разъединяют секции секционными разъединителя­ми, установленными на опорах контактной сети. Между соседними тяговыми подстанциями размещают посты секционирования, оборудо­ванные автоматическими выключа­телями для защиты контактной сети от коротких замыканий.

С целью безопасности обслужи­вающего персонала и других лиц, а также для улучшения защиты от токов короткого замыкания зазем­ляют или оборудуют устройствами защитного отключения металличес­кие опоры и элементы, к которым подвешена контактная сеть, а также все металлические конструкции, рас­положенные ближе 5 м от частей контактной сети, находящихся под напряжением.

Для снабжения электроэнергией линейных железнодорожных и район­ных потребителей на опорах кон­тактной сети дорог постоянного тока подвешивают специальную трехфаз­ную линию электропередачи на­пряжением 10 кВ. Кроме того, в необходимых случаях на этих опорах размещают провода теле­управления тяговыми подстанциями и постами секционирования, низко­вольтных осветительных и силовых линий и др.

Безопасность обслуживающего персонала и других лиц и увели­чение надежности защиты контакт­ной сети от токов короткого замы­кания обеспечиваются заземлением устройств, которые могут оказаться под напряжением вследствие нарушения изоляции или соприкоснове­ния их с оборванными проводами. Заземляют все металлические опоры и конструкции, расположенные на расстоянии не менее 5 м от контакт­ной сети. В зоне влияния контактной сети переменного тока зазем­ляют также все металлические соору­жения, на которых могут возник­нуть опасные наведенные напря­жения.

На электрифицированных доро­гах рельсы используют для пропуска тяговых токов, поэтому верхнее строение пути на таких дорогах имеет следующие особенности:

· к головкам рельсов с наружной стороны колеи прикреплены (приваре­-

ны) стыковые соединители из мед­ного троса, вследствие чего умень­шается электрическое сопротивление рельсовых стыков;

· применяют щебеночный балласт, обладающий хорошими диэлектри­ческими свойствами. Зазор между подошвой рельса и балластом делают не менее 3 см;

· деревянные шпалы пропитывают креозотом, а железобетонные надеж­но изолируют от рельсов резино­выми прокладками;

· рельсовые нити через определен­ные расстояния электрически соеди­няют между собой, что позволяет уменьшить сопротивление току;

· линии, оборудованные автоблоки­ровкой и электрической централиза­цией, имеют изолирующие стыки, с помощью которых образованы от­дельные блок-участки. Чтобы про­пустить тяговые токи в обход изо­лирующих стыков, устанавливают дроссель-трансформаторы или час­тотные фильтры.

Питающие и отсасывающие ли­нии (сети) выполняют воздушными или кабельными. Для предохранения подземных металлических сооруже­ний от повреждения блуждающими токами уменьшают сопротивление рельсовых цепей, улучшают их изоляцию от земли, а также устраи­вают специальную защиту.

 

 







Date: 2015-09-22; view: 976; Нарушение авторских прав



mydocx.ru - 2015-2026 year. (0.133 sec.) Все материалы представленные на сайте исключительно с целью ознакомления читателями и не преследуют коммерческих целей или нарушение авторских прав - Пожаловаться на публикацию