Главная
Случайная страница
Полезное:
Как сделать разговор полезным и приятным
Как сделать объемную звезду своими руками
Как сделать то, что делать не хочется?
Как сделать погремушку
Как сделать так чтобы женщины сами знакомились с вами
Как сделать идею коммерческой
Как сделать хорошую растяжку ног?
Как сделать наш разум здоровым?
Как сделать, чтобы люди обманывали меньше
Вопрос 4. Как сделать так, чтобы вас уважали и ценили?
Как сделать лучше себе и другим людям
Как сделать свидание интересным?
Категории:
АрхитектураАстрономияБиологияГеографияГеологияИнформатикаИскусствоИсторияКулинарияКультураМаркетингМатематикаМедицинаМенеджментОхрана трудаПравоПроизводствоПсихологияРелигияСоциологияСпортТехникаФизикаФилософияХимияЭкологияЭкономикаЭлектроника
|
Плоская ленточная черепица
| Плоскую ленточную черепицу укладывают как справа налево, так и слева направо с разбежкой швов и нахлесткой рядов. Для обеспечения разбежки швов все нечетные ряды выполняют из целых черепиц, а четные начинают с половинок. К обрешетке черепицу крепят кляммерами или гвоздями.
Укладывают черепицу горизонтальными рядами, от карниза к коньку, начиная от фронтонного свеса с инвентарных рабочих ходов. Для равномерной загрузки стропил и стен устройство кровли на противоположных скатах необходимо вести одновременно.
| | | Примечание Масса 1 м2 покрытия в насыщенном водой состоянии - 41 кг.
| | | Кровли из плоской ленточной черепицы выполняют в два слоя обычным или чешуйчатым способом.
| |
Рис. 9.3. Плоская ленточная черепица
(цементно-песчаная).
| Рис.9.5. Схема укладки ленточной черепицы при устройстве двухслойной кровли типа «Бобровый хвост»
| | | Рис.9.4. Схема укладки ленточной черепицы при устройстве двухслойной кровли
| |
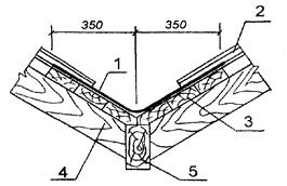
| Разжелобки покрывают оцинкованной сталью или специальной черепицей, а конек и ребра - коньковой желобчатой черепицей, которую кладут на раствор и крепят к обрешетке или коньковому брусу. Для улучшения изоляционных свойств кровли зазоры между черепицами промазывают со стороны чердака цементно-известковым раствором с наполнителем.
| | | Рис. 9.6. Схема устройства разжелобка
1 - морозостойкая резина с продольными желобками для стока воды или кровельная оцинкованная сталь; 2 - цементно-песчаная черепица; 3 - сплошные участки обрешетки; 4 - стропильная нога; 5 - продольный брус.
| |

| Пазовая ленточная (фальцевая) черепица – отличается от плоской тем, что имеет продольные закрои. Этим достигается плотное сопряжение черепиц между собой.
| | ПАЗОВАЯ ЛЕНТОЧНАЯ ЧЕРЕПИЦА
| Рис. 9.7. Пазовая ленточная двойная цементно-песчаная черепица
Примечание
Масса 1 м2 покрытия в насыщенном водой состоянии, кг:
при кассетной технологии - 36;
при вибропрокатной технологии - 36,4.
| |
Date: 2015-09-24; view: 1089; Нарушение авторских прав | Понравилась страница? Лайкни для друзей: |
|
|