Главная Случайная страница


Полезное:

Как сделать разговор полезным и приятным Как сделать объемную звезду своими руками Как сделать то, что делать не хочется? Как сделать погремушку Как сделать так чтобы женщины сами знакомились с вами Как сделать идею коммерческой Как сделать хорошую растяжку ног? Как сделать наш разум здоровым? Как сделать, чтобы люди обманывали меньше Вопрос 4. Как сделать так, чтобы вас уважали и ценили? Как сделать лучше себе и другим людям Как сделать свидание интересным?


Категории:

АрхитектураАстрономияБиологияГеографияГеологияИнформатикаИскусствоИсторияКулинарияКультураМаркетингМатематикаМедицинаМенеджментОхрана трудаПравоПроизводствоПсихологияРелигияСоциологияСпортТехникаФизикаФилософияХимияЭкологияЭкономикаЭлектроника






Шолушы (обзорная) фотография

 

Дактилоскопияға арналған жабдықтар кешені (тасымалданатын үлгісі)

 

 

ВК-10 Жарылыс техникалық кешені

ВК-100 Жарылыс техникалық кешені

КУБ 4000 Баллистикалық әмбебап кешен

Суық қарудың жүзінің қаттылығы мен серпінділігін тексеруге арналған жабдық

Тергеуші портфелі

Папиллярлық өрнектердің құрылысы 1 – базистік ағыс; 2 – сыртқы ағыс; 3 – ішкі ағыс; 4 – дельта

 

 

Доғал (дуговый) өрнектердің түрлері а) қарапайым; б) пирамида тәріздес;

в) шатыр тәріздес

 

Тұзақты (ілмекті-петлевой) өрнектердің түрлері а) қарапайым;

б) майысқан; в) тұйықталған

Шиыршықты (завитковый) өрнектердің түрлері а) қарапайым;

б) ұлу тәріздес ілмекті) в) спираль тәріздес

 

 

Папиллярлық өрнектердің жекелеген белгілері 1 – сызықтың бастауы; 2 – терідегі саңылаулар; 3 – сызықтардың айырылысуы; 4 – иіні; 5 – көпірше; 6 – қарсы сызық; 7 – көзше; 8 – сызықтардың қосылуы; 9 – папилляр арасындағы сызықтар (айдарлар) 10 – қысқа сызық; 11 – сызықтың аяқталуы; 12 – ілмек; 13 – аралшық; 14 – сызықтың үзілуі; 15 – сызықтың жуандауы

 

 

 

Адам қолының буындарының құрылысы

 

Тенар – бас бармақтың негізі жанында орналасқан аумақ;

 

Гипотенар – алақанның сыртқы шетінің шынашаққа қарсы орналасқан аумағы.

 

 

Иод трубкасы: 1 – алмұрт тәрізді пульверизатор; 2 – жалғастырушы шланг; 3 – кіретін вентиль; 4 – шыны мақта; 5 – иод кристалдары; 6 – шығатын вентиль; 7 – трубканың шүмегі

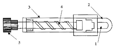
Магнитті кисть: 1 – магнитті стержень (шток); 2 – пластмасса қалпақша; 3 – пластмасса корпус; 4 – пружина; 5- штоктың басы.

 

 

Аяқ киімнің табаны: 1 – тұмсығы; 2 – табанның асты; 3 – табанның артқы шеті; 5 – аралық бөлшегі; 5 – өкшенің алдыңғы шеті; 6 – өкше; А – табанның алдыңғы шеті; Б – табанның сыртқы шеті; В – табанның артқы шеті; Г – табанның ішкі шеті

 

 

 

Адам табанының асты: 1 – май табан бөлімі; 2 – аралық бөлім; 3 – өкше бөлімі; А – алдыңғы шеті; Б – сыртқы шеті; В – артқы шеті; Г – ішкі шеті

 

 

 

 

Аяқ киімнің көлемді іздерін суретке түсіру барысында жарық көздерінің орналасуы

 

 

 

Аяқ киімнің ізін өлшеу: АБ – іздің ұзындығы; АК – табан ізінің ұзындығы; ВГ – табан ізінің еңдігі; ДЕ – аралық бөлім ізінің еңдігі; КЛ –

аралық бөлім ізінің ұзындығы; ЛБ – өкше ізінің ұзындығы; ЖЗ – өкше

ізінің ендігі

 

 

Жалаңаяқ ізді өлшеу АБ – іздің ұзындығы; ВГ – май табан ізінің ендігі; ДЕ – аралық бөлім ізінің ендігі; ЖЗ – өкше ізінің ендігі; И – аяқ бақайы ізінің ендігі; К – бақай ізінің ұзындығы

 

Іздерден түскен жол; АБ – қоғалыс бағытының сызығы; БГДЕ 1 – жүріс сызығы; Б1Г – оң аяқтың адымының ұзындығы; Г1Д – сол аяқтың адымының ұзындығы; Г1Г – адамның кеңдігі; ОГД1 – оң табанның бұрылыс бұрышы; СБГ1 – сол табанның бұрылыс бұрышы

 

 

 

 

Табанның және оның бөлшектерінің орта типтік байланысы (Д – табанның ұзындығы)


 

 

Аяқ киімді іздің ұзындығы (мм) Адамның бойы туралы мәліметті алу үшін аяқ киім ізінің ұзындығы көбейтетін сан шамасы
До 219 7,17
220-229 6.84
230-239 6,61
240-249 6.505
250-259 6,407
260-269 6,328
270-279 6,254
280-289 6,12
290-299 6,08

 

 



<== предыдущая | следующая ==>
Налоговая система РФ | ВВЕДЕНИЕ. I. Реферат на тему: «Особенности анестезии у больных с острой хирургической патологией органов брюшной полости»





Date: 2015-09-24; view: 1577; Нарушение авторских прав



mydocx.ru - 2015-2026 year. (0.195 sec.) Все материалы представленные на сайте исключительно с целью ознакомления читателями и не преследуют коммерческих целей или нарушение авторских прав - Пожаловаться на публикацию