Главная Случайная страница


Полезное:

Как сделать разговор полезным и приятным Как сделать объемную звезду своими руками Как сделать то, что делать не хочется? Как сделать погремушку Как сделать так чтобы женщины сами знакомились с вами Как сделать идею коммерческой Как сделать хорошую растяжку ног? Как сделать наш разум здоровым? Как сделать, чтобы люди обманывали меньше Вопрос 4. Как сделать так, чтобы вас уважали и ценили? Как сделать лучше себе и другим людям Как сделать свидание интересным?


Категории:

АрхитектураАстрономияБиологияГеографияГеологияИнформатикаИскусствоИсторияКулинарияКультураМаркетингМатематикаМедицинаМенеджментОхрана трудаПравоПроизводствоПсихологияРелигияСоциологияСпортТехникаФизикаФилософияХимияЭкологияЭкономикаЭлектроника






Рекогносцировка линий нивелирования III класса





При рекогносцировке изыскивают оптимальные варианты линий и узлов связи, намечают типы реперов и места для закладки, а также собирают необходимые сведения для организации и выполнения последующих работ.

Перед выездом на полевые работы необходимо собрать следующие сведенья о районе работ: названия и класс работ, наименование организации, выполняющей нивелирование, год исполнения, схемы линий, описание место положения и абрисы реперов а также выписки из каталогов и отчетов, карты наиболее крупного масштаба с нанесенными реперами. Рекогносцировка начинается с обследования состояния исходного репера и продолжается по направлению намеченной линии. Рекогносцировщик в поле наносит на крупномасштабную карту или на аэрофотоснимки места для закладки новых реперов, опознает местоположение существующих, составляет описание, абрисы и обозначает на местности места для закладки новых реперов.

При рекогносцировке нивелирных линий, пересекающих водные препятствия, выбирают такие участки, на которых:

· обеспечены хорошие подходы к берегам

· ширина водного препятствия не превышает 150 м.

· число переходов через водные препятствия шириной более 400 м. необходимо свести к минимуму

Поиск репера прекращают только с разрешения начальника партии, который выезжает на место и составляет акт об утрате пункта. В акт приводят сведения о репере, способах поиска, причинах утраты и делают заключение о том, что репер не найден или утрачен. Акт утверждают руководитель организации и инспектор ОТК.

Ненайденные реперы к утраченным не относятся. Причинами утраты считают разрушение репера, снос сооружения, в котором он был заложен, утрату головки репера, деформации трубчатого репера и т.д.

 

Все обнаруженные реперы оценивают по их надежности.

В результате рекогносцировки и обследования должны быть представлены следующие материалы:

 

· Пояснительная записка, список обследованных и восстановленных реперов, длины линий нивелирования, описание мест для закладки реперов и абрисы, геологическое строение территории и типы грунтов на трассе, глубина промерзания грунта, водопроницаемость грунтов и их засоленность, районы строительства крупных объектов и сооружений, добычи полезных ископаемых, акты на утраченные и не найденные реперы.

 

Составляют схему нивелирования на картах масштаба 1:100 000 и крупнее.

 

3. Закладка реперов: грунтовых, стенных, скальных

а) Грунтовые реперы.

Содержание работы:

Получение задания, окончательный выбор места для закладки репера. Разметка котлована. Рытье котлована вручную. Сборка и установка формы для отливки репера и опознавательного знака. Вязка арматуры для пилона. Перенос щебня, песка, воды на площадке. Дробление крупного камня или кирпича. Укладка бетона в форму. Снятие формы. Поддержание режима, необходимого для затвердения бетона. Зачистка поверхности репера. Установка репера в котловане. Засыпка репера и его внешнее оформление. Составление описания местоположения репера. Сдача заложенного репера на наблюдение за сохранностью. Составление списка заложенных реперов и нанесение на карту их местоположения. Сдача работ.

На объекте Хабаровский закладывается 467 грунтовых реперов. Применяется тип реперов № 165 или №150.

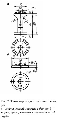
В северной и средней зоне области многолетнемерзлых грунтов закладывают в пробуренные или протаянные скважины трубчатые металлические реперы типа 150 (рис. 9). В качестве репера используют металлические трубы. Диаметр трубы 6 см толщина стенок трубы не менее 0,3 см. К верхнему концу трубы приваривают марку, а к нижнему - многодисковый якорь, состоящий из металлического диска и восьми полу дисков толщиной 0,5-0,6 см и диаметром 15 см.

Для лучшего ввинчивания (вдавливания) трубы в грунт металлический диск имеет лопасти. Трубу бетоном не заполняют. На наружную поверхность трубы наносят антикоррозийное покрытие и антипучинистое, а на внутреннюю только антикоррозийное.

При глубине протаивания грунта до 125 см основание репера располагают на 200 см ниже границы протаивания. Если глубина протаивания 125 см и более, то основание репера должно находиться на 300 см ниже границы протаивания.

При наличии в грунте каменистых включений, затрудняющих бурение и протаивание скважин, трубчатые реперы типа 165 оп. знак (рис. 10) закладывают в котлованы. Вместо многодискового делают бетонный якорь диаметром 48 см и высотой 20 см. Основание бетонного якоря располагают на 100 см ниже границы наибольшего протаивания грунта.


У всех реперов в области многолетнемерзлых грунтов верхний конец трубы с приваренной маркой располагают на уровне поверхности земли.

Размеры даны в мм.

Рис. 9. Грунтовой репер для области многолетней мерзлоты. Тип 150 оп. знак

 

 

 

б) Стенные и скальные реперы.

В стены искусственных сооружений, зданий и вертикальную поверхность скалы закладывают стенные реперы типа 143 (рис. 13).

При изготовлении стенного репера и марок (рис. 13) на знаках отливают начальные буквы названия организации, выполнявшей нивелирование, и номер репера.

Стенной репер, приведенный на рис.13 закладывают на линиях нивелирования III и IV классов.

 

Стенные марки и реперы закладывают в каменные и кирпичные здания и сооружения в соответствии с инструкцией “Центры и реперы государственной геодезической сети”.

На Магаданском объекте 122 стенных репера.

 

 

Документация, составляемая по окончанию работ по закладке реперов:

 

Отчет с пояснительной запиской; журналы закладки реперов; список заложенных реперов и схему их расположения; акты сдачи реперов под наблюдение за сохранностью; фотографии зданий и скал, в которые заложены стенные реперы; карты масштаба 1:25000 и крупнее, аэрофотоснимки, на которых показаны местонахождения заложенных реперов, абрисы.

Типы реперов (№165.№150) и области промерзания грунта определены согласно «Схеме промерзания грунта», приведенной ниже.

Границы промерзания грунтов для Хабаровского объекта – границы зон с различной глубиной промерзания (протаивания) и глубин закладки реперов (125см) определены согласно «Схеме промерзания и протаивания грунтов для определения глубины закладки центров и реперов» приведенной ниже.

 

 

 

 

4) Нивелирование III класса.

а) Согласно ЕНВ:

Организационно – технические условия.

Нивелирование III класса производят нивелирами типа Н3, Ni-007 и др. Рейки шашечные двусторонние или штриховые односторонние – трехметровые.

б) Содержание работы.

Полученные задания, подбор материалов. Ознакомление с проектом нивелирования. Проверка нивелира и реек. Отыскание, вскрытие и закрытие реперов. Нивелирование. Ведение полевого журнала. Контрольные вычисления. Оформление временных реперов на местных предметах. Опознавание местоположения реперов на картах или аэрофотоснимках и составление или уточнение их описания. Составление ведомости превышений, списка занивелированных знаков и схемы ходов. Переходы на участке работ. Сдача работ.

Из инструкции по нивелированию:

· Нивелирование III класса производят в прямом и обратном направлениях.

· Перед началом полевых работ нивелиры исследуют и поверяют по следующей программе: определение коэффициента дальномера, поверка установочного круглого уровня, поверка плавности вращения верхней части нивелира, определение угла i нивелира.

· При нивелировании III класса применяют нивелиры с уровнем Н-05, Н1, Н2 и другие, а также нивелиры с компенсатором Н-3К, Ni – 007 и другие.

· При нивелировании III класса применяют шашечные и штриховые инварные рейки.

· Порядок наблюдений на станции следующий:

· - отсчет по черной стороне (основной шкале) задней рейки;


· - отсчет по черной стороне (основной шкале) передней рейки;

· - отсчет по красной стороне (дополнительной шкале) задней рейки;

· - отсчет по красной стороне (дополнительной шкале) передней рейки.

· Нивелирование выполняют участками в 20-30 км. Переход от нивелирования в прямом направлении к нивелированию в обратном делают только на постоянных знаках. При этом рейки меняют местами.

· Нормальная длина луча визирования – 75 метров.

· Неравенство расстояний на станции допускают не более 2 м, а их накопление по секции – не более 5м.

· Высота луча визирования над подстилающей поверхностью должна быть не менее 0,3 м.

· Нивелирование выполняют при хорошей видимости, отчетливых и спокойных изображениях реек. В солнечные дни не следует нивелировать в периоды, близкие к восходу и заходу солнца.

· При работе на станции нивелир защищают от солнечных лучей зонтом.

· Рейки устанавливают по уровню на костыли или башмаки.

· После выполнения нивелирования по секции сравнивают между собой значения превышения, полученные из прямого и обратного ходов; расхождение между этими значениями не должно превышать 10мм L.

· Невязки в полигонах и по линиям допускают не более 10 мм L.

По окончании полевых работ исполнитель предъявляет следующие материалы:

 

оформленные и проверенные полевые журналы; пояснительную записку о полевых работах, содержащую все сведения, необходимые для составления технического отчета; результаты лабораторных и полевых исследований нивелира и реек; выписку с уравниваем инварных реек и контрольной линейки, заверенную лабораторией, выполнявшей эталонирование; полевую ведомость превышений; схему нивелирования; откорректированные описания и абрисы реперов или топографические карты масштаба 1:25000 и крупнее с нанесенными реперами; копии актов инспектирующих лиц и приемки работ.

Схему нивелирования вычерчивают тушью на картах масштабов 1:100000 – 1:200000 или на чертежной бумаге.

6) Раздел V: Организация работ на объекте

 

 

На Хабаровском объекте передвижение возможно на вездеходах, т.к. дорожная сеть развита плохо. Но так же существуют автомобильные дороги с твёрдым покрытием, поэтому передвижение так же осуществляется на легковых и грузовых автомобилях.

 

Связь осуществляется с помощью раций. По мере приближения начала работ формируются бригады. Всех рабочих ознакомляют с техникой безопасности. Каждая бригада получает приборы, оборудование, спецодежду и все необходимое для работы.

После этого бригады отправляют на объект.

 

Перед началом полевых работ местные органы власти должны быть проинформированы о работе на данном объекте.

Нивелирные хода в основном прокладываются вдоль автомобильных дорог и линий электропередач.

Организационные работы составляют 30% от числа основных денежных расходов.


 

7) Раздел VI: Сметная стоимость работ на объекте

Сметная стоимость работ на объекте определяется прямыми расчетами на основании сборника норм и справочника. Включает в себя Сметы №1, №2, №3.

 

Смета №1.

 

В этой смете производится расчет содержания бригады на один бригадомесяц. В соответствии со сборником Единых Норм Выработки (ЕНВ) выбираем квалификационный и численный состав бригады для каждого вида работ. В состав каждой бригады добавляется начальник партии на полевых работах из расчета 1 на 5 бригад (для одной бригады 0,2) и бригадир при камеральных работах из расчета 1 на 10 рабочих бригад (для одной бригады 0,1).

В соответствии с нормативными документами по оплате труда указываются по каждой квалификации, тарифные ставки без Р.К. и тарифные ставки с Р.К.Находим заработную плату каждого члена бригады в зависимости от квалификации с РК. Определяем процент полевого довольствия и умножаем его на тарифную ставку без РК и определяем ее для каждого члена бригады. По каждому виду работ подводим итог, находим суммы зарплат с Р.К. и сумму полевого довольствия.

 

Смета№2.

 

Расчет кол-ва бригадомесяцев, бригад, ИТР и рабочих. Определяем вид и объём работы по техническому проекту. В соответствии с физико-географическим описанием объекта, по виду работ устанавливается категория трудности и выбирается норма выработки по ЕНВ, норма выработки приводится к месяцу. Число бригадомесяцев – это время, которое необходимо затратить на выполнение данного объема работ. Так же из ЕНВ берем полевой сезон работы. Из полученных данных определяем количество бригад, которые выполнят данный объем за один полевой сезон. Затем определяем число ИТР и рабочих.

 

Смета №3

 

Сводная смета для подсчета всех затрат работы на объекте. Первые 7 граф сметы берем из второй сметы.

Основные расходы состоят из:

- Основная зарплата ИТР и рабочих (с надбавками, премиями, коэффициентами)

- дополнительная ЗП ИТР и рабочих - определяется в размере 15% от зарплаты ИТР и рабочих идет на оплату отпусков очередных и учебных, выполнение государственных обязанностей;

- начисление по социальному страхованию - сначала деньги в сметах начисляются, а затем отчисляются в фонды социального страхования (строго как налог), а затем из этих фондов возвращаются трудящимся при оплате больничных листов, пособий, пенсий и т.д. Определяется в размере 26% от основной и дополнительной зарплаты.

- полевое довольствие. В сметах технического проекта, определяется следующим способом 50% от зарплаты, без РК. В районах крайнего севера и к ним приравненных:

Там где РК›1,5 и 40% во всех остальных районах.

- материалы – стоимость сырья и материалов используемых при выпуске продукции;

- амортизация – возмещение стоимости приборов, инструментов и оборудования;

- износ – возмещение стоимости малоценного имущества, дополнительного снаряжения, оборудования;

- транспорт – отдельно учитываются затраты на содержание транспорта, хотя могут быть разнесены: сама машина, вездеход в амортизацию, горюче-смазочные материалы в материалы, запчасти в малоценные, зарплата водителя - основная зарплата.

Учитывается отдельно. ОРГЛИК высчитывается как 30% от суммы основных расходов, а накладные расходы как 25% от суммы основных расходов.

Смета№4.5

 

Рассчитываются по расценкам. В основу прямого расчета положена нормативная трудоемкость работ. Важнейшим моментом является определение категории трудности и нормы выработки.

 

Смета №1

Расчёт содержания бригады на один месяц.

 

 

  Вид работ, состав бригады   Число Работ-ников Основная зар. плата   П.Д.
Без Р.К. с Р.К. ИТР Раб.
             
1.Обследование и восстановление:            
Техник II категории   25,000 42,500 42,500   12,500
Замерщик 2 разряда   13,000 22,100   44,200 13,000
Начальник партии 0,2 35,000 59,500 11,900   3,500
  ИТР/РАБ          
Итого: 1,2/2     54,400 44,200 29,000
             
2.Рекогнасцировка            
Техник II категории   25,000 42,500 42,500   12,500
Замерщик 2 разряда   13,000 22,100   22,100 6,500
Начальник партии 0,2 35,000 59,500 11,900   3,500
  ИТР/РАБ          
Итого: 1,2/1     54,400 22,100 22,500
             
3.Закладка реперов            
-стенные            
Техник   20,000 34,000 34,000   10,000
Замерщик 3 разряда   16,000 27,200   108,800 32,000
Начальник партии 0,2 35,000 59,500 11,900   3,500
  ИТР/РАБ          
Итого: 1,2/4     45,900 108,800 45,500
             
-грунтовые            
Техник   20,000 34,000 34,000   10,000
Замерщик 3 разряда   16,000 27,200   108,800 32,000
Начальник партии 0,2 35,000 59,500 11,900   3,500
  ИТР/РАБ          
Итого: 1,2/4     45,900 108,800 45,500
             
4.Нивелировании III класса            
Техник II категории   25,000 42,500 42,500   12,500
Техник   20,000 34,000 34,000   10,000
Замерщик 2 разряда   13,000 22,100   88,400 26,000
Начальник партии 0,2 35,000 59,500 11,900   3,500
  ИТР/РАБ          
Итого: 2,2/4     88,400 88,400 52,000
 
5.Обработка результатов измерений            
Геодезист   28,000 47,600 47,600   14,000
Бригадир 0,1 30,000 51,000 5,100   1,500
  ИТР/РАБ          
Итого: 1,2/0     52,700   15,500

 

Смета №2

Расчёт количества бригад, ИТР и рабочих.

 

 

  Вид, процесс работ.   Еденица измерения   Объём работ по тех. проекту Категория трудности и Норма выр./мес Число бригадо месяцев Полевой Сезон мес. Кол-во
  Бр.   ИТР   Раб.
                 
1.Обследование и восстановление знак   IV 24,72 2,67 4,0   1,2  
                 
2.Рекогнасцировка км   II 559,2 11,49 4,0   3,6  
                 
3.Закладка реперов                
-стенной Реп   II 85,68 1,42 4,0   1,2  
                 
-грунтовый Реп   V 17,76 61,77 4,0   19,2  
                 
4.Нивелирование III класса км   VII 91,92 69,88 4,0   39,6 7,2
                 
5.Обработка результатов измерений км     32,12 4,0   8,8  
                 

 

 

 

 







Date: 2015-09-22; view: 1414; Нарушение авторских прав



mydocx.ru - 2015-2026 year. (1.278 sec.) Все материалы представленные на сайте исключительно с целью ознакомления читателями и не преследуют коммерческих целей или нарушение авторских прав - Пожаловаться на публикацию