Главная Случайная страница


Полезное:

Как сделать разговор полезным и приятным Как сделать объемную звезду своими руками Как сделать то, что делать не хочется? Как сделать погремушку Как сделать так чтобы женщины сами знакомились с вами Как сделать идею коммерческой Как сделать хорошую растяжку ног? Как сделать наш разум здоровым? Как сделать, чтобы люди обманывали меньше Вопрос 4. Как сделать так, чтобы вас уважали и ценили? Как сделать лучше себе и другим людям Как сделать свидание интересным?


Категории:

АрхитектураАстрономияБиологияГеографияГеологияИнформатикаИскусствоИсторияКулинарияКультураМаркетингМатематикаМедицинаМенеджментОхрана трудаПравоПроизводствоПсихологияРелигияСоциологияСпортТехникаФизикаФилософияХимияЭкологияЭкономикаЭлектроника






Расчет обмотки возбуждения





 

О бмотка возбуждения синхронных машин подключается к источнику постоянного тока. До недавнего времени для питания обмоток возбуждения применялись специальные генераторы постоянного тока — возбудители.

В настоящее время для возбуждения синхронных машин применяют статические устройства. Серии синхронных машин общего назначения 13—21-го габаритов (СД2, СГ2, СДН2 и т. д.) оснащены комплектными тиристорными возбудительными устройствами (ТВУ). Особенностью ТВУ является бесконтактное и быстродействующее управление током возбуждения во всех эксплуатационных режимах и наличие автоматического регулирования возбуждения. Это повышает надежность и улучшает использование машин. Кроме того, КПД тиристорных возбудительных устройств выше, чем генераторов постоянного тока.

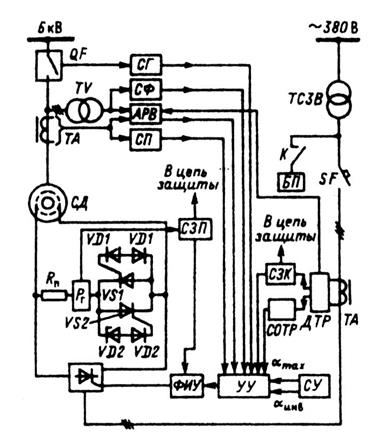
На рис. 10.30 приведена структурная схема одного из применяемых в настоящее время ТВУ. В ТВУ питание обмотки возбуждения происходит через тиристорный преобразователь или от сети переменного тока с напряжением 380 В через согласующий трансформатор ТСЗВ, или от дополнительной трехфазной обмотки, расположенной на статоре. Преобразователи осуществляют выпрямление переменного тока в постоянный и имеют трехфазную схему со средним выводом при выпрямленном напряжении до 100 В или трехфазную мостовую при напряжении выше 100 В. Параллельно обмотке возбуждения синхронного двигателя через тиристорный ключ подключен пусковой резистор.

Управление тиристорным преобразователем осуществляется фазоимпульсным устройством (ФИУ).

 

 

Рис. 10.30. Структурная схема тиристорного возбудителя

синхронного двигателя (питание от сети 380 В):

СГ — схема гашения поля; СФ — схема форсировки возбуждения;

АРВ — автоматический регулятор возбуждения; СП — схема пуска;

СЗП — схема защиты пускового сопротивления;

ФИУ — фазоимпульсное устройство; УУ — устройство управления;

БП — блок питания; СЗК — схема защиты от коротких замыканий;

СОТР — схема ограничения тока ротора; ДТР — датчик тока ротора;

СУ — схема установок угла регулирования; К — герконное реле

 

Функции управления и регулирования в ТВУ осуществляет электронная система управления, в комплект которой входит ряд блоков, показанных на рисунке.

В табл. 10.10 даны номинальные данные тиристорных возбудительных устройств серии ТВУ для синхронных двигателей.

 

Таблица 10.10. Номинальные данные тиристорных возбудительных устройств

 

Тип Номинальные данные ТВУ Пусковое сопротивление , Ом
, А , В , кВт , В
ТВУ-46-320     14,7   0,385
ТВУ-65-320     20,8   0,51
ТВУ-80-320     25,6   0,64
ТВУ-105-320     33,6   0,8
ТВУ-137-320     43,8   1,02
ТВУ-166-320         1,44
ТВУ-195-320         1,44
ТВУ-217-320         1,6

 

Кроме того, для синхронных машин 13-го и 14-го габаритов разработаны ТВУ с питанием от дополнительной обмотки статора. Выпрямленное напряжение этих устройств 25…36 B при токе 140…170 А.

Иногда для возбуждения синхронных машин применяют бесконтактные системы. В этом случае к обмотке возбуждения непосредственно (без контактных колец) подводят выпрямленное напряжение от машины переменного тока небольшой мощности (синхронной или асинхронной), якорь которой располагается на одном валу с синхронной машиной. Выпрямители закрепляют на роторе, и они вращаются вместе с ним.

При проектировании обмоток возбуждения для улучшения теплоотдачи и заполнения катушки медью стремятся увеличить сечение проводников обмотки и уменьшить число ее витков при соответствующем увеличении тока возбуждения.

В связи с этим напряжение для питания обмотки возбуждения выбирается низким и в некоторых случаях нестандартным. В качестве предварительных значений можно наметить следующую шкалу напряжений: 25, 35, 45, 65, 80, 100, 115, 160, 200, 230 B, которая, однако, не является строго обязательной, и в зависимости от конкретной схемы возбуждения напряжения могут иметь иные значения. Меньшие значения напряжения выбирают для машин небольшой мощности. Учитывая переходное падение напряжения в контакте между щеткой и кольцом, напряжение на обмотке возбуждения следует принимать на 1—2 B меньшим, чем напряжение ТВУ.

Обмотки возбуждения выполняют однорядными (рис. 10.31) и многорядными (рис. 10.32). Многорядные катушки в сечении имеют скошенную форму.


Рис. 10.31. Однорядные обмотки возбуждения

синхронных машин

 

 

Рис. 10.32. Многорядные обмотки возбуждения

Для синхронных машин мощностью от сотен киловатт и выше, как правило, применяют однорядные обмотки, которые выполняют из полосовой неизолированной меди сечением больше 30 мм2, намотанной на ребро. Однорядные обмотки более надежны и вследствие лучшего охлаждения допускают большие плотности тока, чем многорядные. Многорядные обмотки применяют для машин небольшой мощности.

Изоляция катушек однорядных обмоток возбуждения для машин мощностью свыше 100 кВт дана в табл. 10.11 в соответствии с рис. 10.33. В табл. 10.12 и на рис. 10.34 представлена изоляция многорядных обмоток для машин мощностью менее 100 кВт.

 

Рис. 10.33. Изоляция катушки однорядной

обмотки возбуждения

 

 

Рис. 10. 34. Изоляция многорядных катушек обмотки возбуждения

 

При расчете обмотки возбуждения ее МДС для запаса увеличивается на 10… 20% по сравнению со значением, полученным из векторной диаграммы для номинального режима:

. (10.106)

Сечение проводника обмотки возбуждения , м2, предварительно определяют по формуле

, (10.107)

где - удельное сопротивление меди при рабочей температуре обмотки, Ом·м; для однослойной обмотки из неизолированной меди и изоляции класса нагревостойкости B =1/39·106Ом·м, для многослойных обмоток при изоляции класса нагревостойкости B = 1/40 ·106Ом·м; — напряжение на обмотке возбуждения, B; — средняя длина витка обмотки возбуждения, м.

 

Таблица 10.11. Изоляция катушек ротора явнополюсных синхронных машин







Date: 2015-09-05; view: 1029; Нарушение авторских прав



mydocx.ru - 2015-2026 year. (1.837 sec.) Все материалы представленные на сайте исключительно с целью ознакомления читателями и не преследуют коммерческих целей или нарушение авторских прав - Пожаловаться на публикацию