Главная Случайная страница


Полезное:

Как сделать разговор полезным и приятным Как сделать объемную звезду своими руками Как сделать то, что делать не хочется? Как сделать погремушку Как сделать так чтобы женщины сами знакомились с вами Как сделать идею коммерческой Как сделать хорошую растяжку ног? Как сделать наш разум здоровым? Как сделать, чтобы люди обманывали меньше Вопрос 4. Как сделать так, чтобы вас уважали и ценили? Как сделать лучше себе и другим людям Как сделать свидание интересным?


Категории:

АрхитектураАстрономияБиологияГеографияГеологияИнформатикаИскусствоИсторияКулинарияКультураМаркетингМатематикаМедицинаМенеджментОхрана трудаПравоПроизводствоПсихологияРелигияСоциологияСпортТехникаФизикаФилософияХимияЭкологияЭкономикаЭлектроника






Пояснювальна записка





Текстова частина зброшурованого документа, що складається для кожного розділу комплексної проектної документації відповідної марки та назви згідно із складом проекту, яка дає стислу характеристику об’єкта будівництва та його склад, наводить конструктивні, технічні, технологічні та інженерні рішення об’єкта згідно з вимогами додатка Ж чи И ДБН А.2.2-3


4 ЗАГАЛЬНІ ВИМОГИ ДО СКЛАДУ ДОКУМЕНТАЦІЇ

4.1 Склад і зміст проектної документації на спорудження і реконструкцію будівель та споруд, встановлені чинними будівельними нормами та правилами.

4.2 До складу робочої документації на спорудження будинку або споруди у загальному випадку включають:

а) робочі креслення, призначені для виконання будівельних і монтажних робіт;

б) робочу документацію на будівельні вироби згідно з ДСТУ Б А.2.4-7;

в) ескізні креслення загальних видів нетипових виробів згідно з ДСТУ Б А.2.4-11*;

г) специфікації обладнання, виробів та матеріалів згідно з ДСТУ Б А.2.4-10;

д) іншу документацію, яка додається і що передбачена відповідними стандартами Системи проектної документації для будівництва (СПДБ);

е) кошторисну документацію за встановленими формами згідно з ДБН Д.1.1-1.


5 ЗАГАЛЬНІ ВИМОГИ ДО КОМПЛЕКТУВАННЯ ДОКУМЕНТАЦІЇ

5.1 Проектна документація

5.1.1 Проектну документацію, призначену для затвердження (стадії ескізний проект (ЕП), техніко-економічне обґрунтування (ТЕО), техніко-економічний розрахунок (ТЕР), проект (П), частина робочого проекту (РП), що затверджується), комплектують у томи, як правило, за окремими розділами, передбаченими ДБН А.2.2-3. Кожний том нумерують арабськими цифрами:

Приклад

Том 1 – Загальна пояснювальна записка

Том 2 – Генеральний план і транспорт

За необхідності томи діляться на частини. У цьому випадку томи нумерують за типом: Том 1.1, Том 1.2.

5.1.2 Текстові (у тому числі зброшуровані кошториси) і графічні матеріали, які включають у том, комплектують, як правило, у такому порядку:

- титульний аркуш;

- зміст;

- склад проекту;

- підтвердження ГАП (ГІП) про відповідність чинним нормам, правилам та стандартам;

- відомості про учасників проектування по кожному розділу проекту;

- основний текст документа;

- вихідні дані для проектування (додатки);

- основні креслення, передбачені будівельними нормами і правилами.

Правила оформлення титульного аркуша, складу проекту, змісту, підтвердження ГАП і відомості про учасників проектування наведені у розділі 10 та у додатку Т.

Кількість окремих документів визначається керівником проекту в залежності від обсягів проектної документації

5.1.3 Кожному текстовому і графічному документу, що включений в том, надають позначення, яке вказують на обкладинці, титульному аркуші та в основних написах. До складу позначення включають базове позначення, яке встановлюють за чинною в організації системою, та через дефіс – марку і/або шифр розділу проекту. Марки розділів проекту приймають за аналогією з марками основних комплектів робочих креслень, наведеними у додатку А.

Приклади

Для текстових документів:

2345-ПЗ Розділ "Загальна пояснювальна записка"

2345-ГТ Розділ "Генеральний план і транспорт"

Для графічних документів:

2345-12-АБ Архітектурно-будівельні рішення,

де 2345 – номер договору (контракту) або шифр об'єкта будівництва;

12 – номер будинку або споруди за генеральним планом*;

2345-12 – базове позначення;

ГТ і АБ – марки розділів проекту;

ПЗ – шифр розділу проекту.

5.1.4 Текстові і графічні матеріали, які включають в том, складають, як правило, за форматом А4 згідно з ГОСТ 2.301.

У кожний том включають, як правило, не більше 250 аркушів формату А4, 150 аркушів формату АЗ, 75 аркушів формату А2 та 50 аркушів формату А1.

5.1.5 Загальні вимоги до виконання графічної документації наведено у розділі 6.

Текстові документи виконують згідно з ГОСТ 2.105 з урахуванням вимог розділу 10 даного стандарту.

5.2 Робочі креслення

5.2.1 Робочі креслення, призначені для проведення будівельних та монтажних робіт, об'єднують у комплекти (далі – основні комплекти) за марками відповідно до додатка А.

5.2.2.Основний комплект робочих креслень будь-якої марки може бути розділений на кілька основних комплектів тієї самої марки (з доданням до неї порядкового номера) у відповідності з процесом організації будівельних і монтажних робіт.

Приклад

АБ1; АБ2; КБ1; КБ2.

5.2.3 Кожному основному комплекту робочих креслень надають позначення, до складу якого включають базове позначення, яке встановлюють за чинною в організації системою, та через дефіс – марку основного комплекту.


Приклад

2345-12-АР,

де 2345 – номер договору (контракту) або шифр об'єкта будівництва;

12 – номер будинку або споруди за генеральним планом;

2345-12 базове позначення;

АР – марка основного комплекту робочих креслень.

Для лінійних споруд, генерального плану та зовнішніх комунікацій:

Приклад: 2345-00-КЗ; 2345-00-ГП; 2345-00-ЗВК;

де КЗ; ГП; ЗВК – марки основних комплектів робочих креслень, наведених у додатку А.

5.2.4 До складу основних комплектів робочих креслень включають загальні дані за робочими кресленнями, а також креслення і схеми, передбачені відповідними стандартами СПДБ.

Загальні дані за робочими кресленнями

5.2.5 На перших аркушах кожного основного комплекту робочих креслень наводять загальні дані за робочими кресленнями, які включають:

а) відомість робочих креслень основного комплекту, яку виконують за формою 1 додатка Б;

б) відомість документів, на які посилаються та які додаються. Виконується за формою 2 додатка Б;

в) відомість основних комплектів робочих креслень, яку виконують за формою 2 додатка Б;

г) відомість специфікацій (за наявності в основному комплекті кількох схем розташування), яку виконують за формою 1 додатка Б;

д) умовні позначення, не встановлені державними стандартами, і значення яких не вказані на інших аркушах основного комплекту робочих креслень;

е) загальні вказівки;

ж) інші дані, передбачені відповідними стандартами СПДБ.

Вказівки щодо заповнення форм 1 і 2 наведено у додатку Б.

5.2.6 Відомість робочих креслень основного комплекту містить послідовний перелік аркушівосновного комплекту.

5.2.7 Відомість документів, на які посилаються та які додаються, складають за розділами:

а) документи, на які посилаються;

б) документи, які додаються.

У розділі "Документи, на які посилаються" зазначають документи, на які наведені посилання у робочих кресленнях, у тому числі:

а) креслення типових конструкцій, виробів та вузлів із зазначенням найменування та позначення серії і номера випуску;

б) стандарти, до складу яких входять креслення, призначені для виготовлення виробів, із зазначенням їх найменування і позначення.

Документи, на які посилаються, проектна організація видає замовнику тільки за окремим договором.

У розділі "Документи, які додаються" зазначають документи, розроблені як доповнення до робочих креслень основного комплекту, у тому числі:

- робочу документацію (кресленння) на будівельні вироби, якщо її розроблення передбачено договором;

- ескізні креслення загальних видів нетипових виробів[1];

- специфікацію обладнання, виробів і матеріалів;

- локальний кошторис;

- іншу документацію, передбачену відповідними стандартами СПДБ.

Документи, які додаються, проектна організація видає замовнику одночасно з основним комп­лектом робочих креслень.

5.2.8 Відомість основних комплектів робочих креслень наводять на аркушах загальних даних основного комплекту провідної марки.

За наявності кількох основних комплектів робочих креслень однієї марки складають відомість комплектів цієї марки за формою 2 додатка Б, яку наводять на аркуші загальних даних для кожного з цих комплектів.


5.2.9 У загальних вказівках наводять:

а) підставу для розроблення робочої документації (затверджена попередня стадія проекту­вання);

б) відмітку, прийняту у робочих кресленнях будинку або споруди умовно за нульову (як правило, наводять на архітектурно-будівельних кресленнях);

в) запис про результати перевірки на патентоспроможність і патентну чистоту технологічних процесів, вперше застосованих або розроблених в проекті, обладнання, приладів, конструкцій, виробів та матеріалів, а також номери авторських свідоцтв та заявок, за якими прийняті рішення про видачу авторських свідоцтв на винаходи, які використовують у робочій документації;

г) запис про те, що робочі креслення розроблені відповідно до чинних норм, правил і стандартів;

д) перелік видів робіт, для яких необхідне складання актів на приховані роботи, та актів проміжного приймання відповідальних конструкцій;

е) відомості про те, кому належить дана інтелектуальна власність (за необхідності) та авторське право згідно з законодавством України (охоронний знак захисту авторського права © з вказівкою організації (розробника) інтелектуальної власності та рік її розроблення розміщують на звороті сторінки «титульного аркуша» текстової документації в нижньому правому куті аркуша та біля прізвища автора див. 10.8);

ж) запис щодо необхідності створення страхового фонду документації, якщо такий об’єкт будівництва входить до переліку об’єктів і споруд за яким проектна документація обов’язково закладається до страхового фонду документації згідно з ДСТУ 33.201;

з) інші необхідні вказівки.

У загальних вказівках не слід повторювати технічні вимоги, розміщені на інших аркушах основного комплекту робочих креслень, і давати опис прийнятих у робочих кресленнях технічних рішень.


6 ЗАГАЛЬНІ ПРАВИЛА ВИКОНАННЯ ДОКУМЕНТАЦІЇ

6.1 При виконанні проектної, робочої та іншої технічної документації, призначеної для спорудження будівель і споруд, слід керуватись вимогами стандартів СПДБ, а також вимогами стандартів Єдиної системи конструкторської документації (ЄСКД). Перелік стандартів ЄСКД, вимоги яких підлягають урахуванню при виконанні графічної і текстової документації для будівництва, наведено у додатку В.

Документація, призначена для тиражування та мікрофільмування, повинна відповідати вимогам системи стандартів "Репрографія".

Креслення лінійних споруд, генеральних планів та зовнішніх комунікацій, розташовують довгою стороною умовної межі території вздовж довгої сторони аркуша, при цьому орієнтування креслень, якщо є така можливість, повинно бути спрямоване північною частиною нагору. Можливе відхилення орієнтації на північ у межах 90о ліворуч або праворуч. Плани будинків і споруд на кресленнях різних марок, розташовані на різних аркушах повинні мати однакову орієнтацію, що збігається з їх орієнтацією на генеральному плані або з поворотом стосовно цього положення.


6.2 Креслення виконують в оптимальних масштабах з урахуванням їх складності і насиченості інформацією.

Масштаби на кресленнях не вказують, за винятком креслень виробів та інших випадків, передбачених у відповідних стандартах СПДБ.

Розмір масштабу планів та видів, якщо це передбачено відповідним ДСТУ, відтворюють у місцях, передбачених цим ДСТУ. Наприклад, на аркушах планів автомобільних доріг, залізниць, генеральних планів, ділянок – у правому нижньому куті графи 4 основного напису форми 3 після найменування зображення.

При відтворенні на аркуші двох і більше зображень, виконаних у масштабах, що відрізняються від наведених у основному написі, масштаб зазначають на полі креслення після найменуванням кожного зображення.

Приклад:

А –А (1:1); Б – Б (5:1).

6.3 Перелік скорочень слів, які допускаються в основних написах, технічних вимогах, таблицях, кресленнях та специфікаціях, складено у доповнення до ГОСТ 2.316 і наведено у додатку Г.

Координаційні осі

6.4 На зображенні кожного будинку або споруди вказують координаційні осі і надають їм самостійну систему позначень.

Координаційні осі наносять на зображення будинку, споруди тонкими штрихпунктирними лініями з довгими штрихами, позначають арабськими цифрами та великими літерами українського алфавіту (за винятком літер: З, І, Ї, Й, О, X, Щ, Ь) у кружечках діаметром 6-12 мм.

Пропуски у цифрових та літерних (крім вказаних) позначеннях координаційних осей не допус­каються.

6.5 Цифрами позначають координаційні осі по стороні будинку і споруди з великою кількістю осей. Якщо для позначення координаційних осей не вистачає літер алфавіту, наступні осі позначають двома літерами.

Приклад

АА; ББ; ВВ.

6.6 Послідовність цифрових та літерних позначень координаційних осей приймають за планом зліва направо та знизу вгору (рисунок 1а) або як показано на рисунках 1б, в.

6.7 Позначення координаційних осей, як правило, наносять по лівій та нижній сторонах плану будинку та споруди. При незбіжності координаційних осей протилежних сторін плану або розмірах креслення, що перевищують розміри формату А1, позначення вказаних осей у місцях розходження додатково наносять по верхній та/або правій сторонах.

6.8 Для окремих елементів, які розташовані між координаційними осями основних несучих конструкцій, наносять додаткові осі та позначають їх у вигляді дробу: над рискою вказують поз­начення попередньої координаційної осі, під рискою – додатковий порядковий номер у межах ділянки між суміжними координаційними осями у відповідності з рисунком 1 г.

Рисунок 1

 

Допускається координаційним осям фахверкових колон давати цифрові та літерні позначення у продовження позначень осей основних колон без додаткового номера.

6.9 На зображенні повторюваного елемента, що прив'язаний до кількох координаційних осей, координаційні осі позначають відповідно до рисунка 2а (при числі координаційних осей не більше трьох), до рисунка 2б (більше трьох координаційних осей) та до рисунка 2в (при всіх літерних та цифрових координаційних осях).

За необхідності орієнтацію координаційної осі, до якої прив'язаний елемент, по відношенню до сусідньої осі визначають у відповідності з рисунком 2 г.

Рисунок 2

 

6.10 Координаційні осі блок-секцій (далі – БС) житлових будинків позначають для поперечних стін арабськими цифрами, а поздовжні стіни великими літерами українського алфавіту згідно з 6.4, з застосуванням індексу "с".

Приклад

1с, 2с, Зс, Ас, Бс, Вс.

Крайні координаційні осі блок-секції залишаються пустими. Номери цим осям привласнюють у проекті житлового будинку, скомпонованого з блок-секцій.

На планах житлових будинків, скомпонованих з блок-секцій, позначення крайніх координа­ційних осей блок-секцій вказують без індексу у відповідності з рисунком 3.

Рисунок 3

Нанесення розмірів, уклонів, позначок (відміток), написів

6.11 Розмірну лінію на її перетині з виносними лініями, лініями контуру або осьовими лініями обмежують засічками у вигляді тонких основних ліній завдовжки 2-4 мм, які проводять з нахилом вправо під кутом 45° до розмірної лінії, при цьому розмірні лінії повинні виступати за крайні виносні лінії на 1-3 мм.

При нанесенні розміру діаметра або радіуса всередині кола, а також кутового розміру розмірну лінію обмежують стрілками. Стрілки застосовують також при нанесенні розмірів радіусів та внутрішніх закруглень.

6.12 Відмітки рівнів (висоти, глибини) елементів конструкцій, обладнання, трубопроводів, повітроводів тощо від рівня відліку (умовної "нульової" відмітки) позначають умовним знаком у відповідності з рисунком 4 та вказують у метрах з трьома десятковими знаками, відокремленими
від цілого числа комою.

Рисунок 4

 

"Нульову" познаку, яку приймають, як правило, для поверхні якого-небудь елемента конст­рукцій будинку або споруди, розташованої поблизу планувальної поверхні землі, вказують без знака; відмітки вище нульової – зі знаком "+", нижче нульової – зі знаком "-".

На видах (фасадах), розрізах та перерізах відмітки вказують на виносних лініях або лініях контуру відповідно до рисунка 5, на планах – у прямокутнику відповідно до рисунка 6, за винятком випадків, про які домовлено у відповідних стандартах СПДБ.

 

Рисунок 5

Рисунок 6

 

6.13 На планах напрямок уклону площин вказують стрілкою, над якою, за необхідності, про­ставляють величину уклону у відсотках відповідно до рисунка 7 або у вигляді відношення висоти і довжини (наприклад, 1:7).

Допускається, за необхідності, величину уклону вказувати у проміле, у вигляді десяткового дробу з точністю до третього знака. На кресленнях і схемах перед розмірним числом, яке визначає величину уклону, наносять знак V", гострий кут якого повинен бути направлений у сторону уклону. Позначення уклону наносять безпосередньо над лінією контуру або на полиці лінії-виноски.

 

Рисунок 7

 

6.14 Виносні написи до багатошарових конструкцій слід виконувати у відповідності з рисунком 8.

Рисунок 8

Примітка. Цифрами умовно позначена послідовність розташування шарів конструкції та написів на полицях ліній-виносок.

 

6.15 Номери позицій (марки елементів) наносять на полицях ліній-виносок, які проводять від зображення складових частин предмета, поряд із зображенням без лінії-виноски або у межах контурів зображених частин предмета у відповідності з рисунком 9,

Рисунок 9

 

При дрібномасштабному зображенні лінії-виноски закінчують без стрілки і крапки.

6.16 Розмір шрифту для позначення координаційних осей та позицій (марок) повинен бути на один-два номери більший ніж розмір шрифту, прийнятого для розмірних чисел на тому самому кресленні.

Зображення (розрізи, перерізи, види, фрагменти)

6.17 Розрізи будинку або споруди позначають арабськими цифрами послідовно в межах основного комплекту робочих креслень.

Самостійна нумерація допускається тільки для розрізів окремих ділянок будинку, споруди або установок, всі креслення яких розміщені на одному аркуші або групі аркушів і якщо на цих кресленнях відсутні посилання на розрізи, розташовані на інших аркушах основного комплекту робочих креслень.

Допускається розрізи позначати великими літерами українського алфавіту.

Напрямок погляду для розрізу по плану будинку і споруди приймають, як правило, знизу вгору та справа наліво.

6.18 Якщо окремі частини виду (фасаду), плану, розрізу вимагають більш детального зображення, то додатково виконують виносні елементи – вузли та фрагменти.

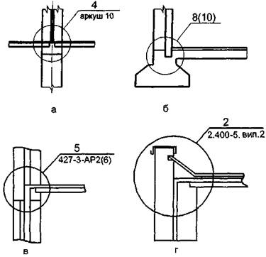
6.19 При зображенні вузла відповідне місце відмічають на виді (фасаді), плані або розрізі замкнутою суцільною тонкою лінією, як правило (колом або овалом), з позначенням на полиці лінії-виноски порядкового номера вузла арабською цифрою у відповідності з рисунком 10.

Якщо вузол розміщено на іншому аркуші, то номер аркуша вказують під полицею лінії-виноски (рисунок 10а) або на полиці лінії-виноски поруч у дужках у відповідності з рисунком 10б.

За необхідності посилання на вузол, який розміщений в іншому основному комплекті робочих креслень, або на типовий вузол указують позначення і номер аркуша відповідного основного комплекту робочих креслень у відповідності з рисунком 10в або серію робочих креслень типових вузлів і номер випуску у відповідності з рисунком 10г.

Рисунок 10

 

За необхідності посилання на вузол у перерізі виконують відповідно до рисунка 11. Над зоб­раженням вузла вказують у кружку його порядковий номер відповідно до рисунків 12а або 12б.

Вузлу, який є повним дзеркальним відображенням іншого (основного) виконання, присвоюють той самий порядковий номер, що й основному виконанню, з доданням індексу "н".

Рисунок 11

Рисунок 12

 

6.20 Фрагменти планів, розрізів, фасадів, як правило, відмічають фігурною дужкою відповідно до рисунка 13. Якщо фрагмент виконується не на всю висоту фасадів, додатково після номера фрагменту додаються познаки, з якої і до якої виконується фрагмент.

Під фігурною дужкою, а також над відповідним фрагментом наносять найменування і порядковий номер фрагмента. Якщо фрагмент розміщено на іншому аркуші, то дають посилання на цей аркуш.

Допускається посилання на фрагмент розміщувати на полиці лінії-виноски.

Рисунок 13

 

6.21 Зображення до осі симетрії симетричних планів і фасадів будинків і споруд, схем розташування елементів конструкцій, планів розміщення технологічного, енергетичного, санітарно-технічного та іншого обладнання не допускаються.

6.22 Якщо зображення (наприклад, план) не поміщається на аркуші прийнятого формату, то його ділять на кілька ділянок, розміщуючи їх на окремих аркушах.

У цьому випадку на кожному аркуші, де показано ділянку зображення, наводять схему цілого зображення з необхідними координаційними осями та умовним позначенням (штриховкою) ділянки зображення, яка показана на даному аркуші у відповідності з рисунком 14.

Рисунок 14

Примітка. Якщо креслення ділянок розміщені у різних основних комплектах робочих креслень, то над номером аркуша вказують позначення відповідного основного комплекту.


6.23 Якщо плани поверхів багатоповерхового будинку мають невеликі відмінності один від одного, то повністю виконують план одного з поверхів, для інших поверхів виконують тільки ті частини плану, які необхідні для показу відмінності від плану, зображеного повністю.

Під найменуванням частково зображеного плану наводять запис: "Решту див. план (наймену­вання повністю зображеного плану)".

6.24 У назвах планів поверхів будинку або споруди вказують відмітку чистої підлоги або номер поверху або позначення відповідної січної площини.

Приклади

1 План на відм. 0,000

2 План 2-9 поверхів

3 План 3-3.

При виконанні частини плану у назві вказують осі, які обмежують цю частину плану.

Приклад

План на відм. 0,000 між осями 1 – 8 та А – Д.

Допускається у назві плану поверху вказувати призначення приміщень, розташованих на поверсі.

6.25 У назвах розрізів будинку (споруди) вказують позначення відповідної січної площини.

Приклад

Розріз 1-1.

6.26 У назвах фасадів будинку та споруди вказують крайні осі, між якими розташований фасад.

Допускається в назві вказувати орієнтацію фасаду (наприклад: "головний", "дворовий" або: "по вул. Кулібіна"), в тому числі на зведених кресленнях фасадів декількох секцій або будівель комплексу.

Приклад

Фасад 1-12.

Основні написи

6.27 Кожен аркуш графічного та текстового документа повинен мати основний напис та додаткові графи до нього. Форми основних написів та вказівки щодо їх заповнення наведено у додатку Д.

На кресленнях (за винятком форматів А4) над основним написом та ліворуч від нього повинні бути залишені резервні поля (місце) не менше ніж 60 мм для внесення, за необхідності в таблицю змін та інших написів і штампів.

6.28 У проектній та робочій документації основний напис оформлюють:

а) на аркушах основних комплектів робочих креслень та основних кресленнях проектної документації – за формою 3;

б) на першому аркуші креслень будівельних виробів – за формою 4;

в) на перших аркушах текстових документів та ескізних креслень загальних видів нетипових виробів – за формою 5;

г) на наступних аркушах креслень будівельних виробів, текстових документів та ескізних креслень загальних видів – за формою 6.

Допускається на першому аркуші креслення будівельного виробу основний напис виконувати за формою 5.

Допускається на наступних аркушах, крім перших, основних комплектів робочих креслень та основних кресленнях проектної документації основний напис виконувати за формою 5, у такому випадку графа 5 заповнюється як графа 4..

6.29 У звітній технічній документації за результатами інженерних вишукувань основний напис оформлюють:

а) на листах графічних документів, які використовують у проектуванні як підоснову, – за формою 3.

б) на перших аркушах інших графічних і текстових документів – за формою 5, на наступних аркушах – за формою 6.

6.30 Розташування основного напису та додаткових граф до нього, а також розмірних рамок на аркушах наведено у додатку Е.

6.31 Основні написи, додаткові графи до них і рамки виконують суцільними товстими основними і суцільними тонкими лініями згідно з ГОСТ 2.303 у відповідності з додатком Д.

6.32Графічні та текстові документи, які брошурують у вигляді тому, альбому, випуску або іншої видавницької форми, оформлюють із титульним аркушем.

Правила виконання титульного аркуша наведено у розділі 10.

6.33 Допускається титульний аркуш не виконувати і не брошурувати текстові робочі документи невеликого обсягу. У цьому випадку перший аркуш документа оформлюють основним написом за формою 3, наступні – за формою 6.


7 ПРАВИЛА ВИКОНАННЯ СПЕЦИФІКАЦІЙ НА КРЕСЛЕННЯХ

7.1 До схеми розташування елементів збірної конструкції, монолітної залізобетонної конструкції, до креслень установок (блоків) технологічного, санітарно-технічного та іншого обладнання складають специфікацію за формою 7 додатка Ж.

При виконанні креслень груповим методом складають групові специфікації за формою 8 додатка Ж.

7.2 Специфікації будівельних виробів складають згідно ДСТУ Б А.2.4-7.

 

8 ПРАВИЛА ВНЕСЕННЯ ЗМІН У РОБОЧУ ДОКУМЕНТАЦІЮ, ВИДАНУ ЗАМОВНИКУ

8.1 Під зміною робочого документа, раніше виданого замовнику, розуміють будь-яке виправлення, виключення або додання до нього якихось даних без зміни позначення цього документа. Позначення документа допускається змінювати тільки у випадку, коли різним документам помил­
ково присвоєні однакові позначення або у позначенні документа допущено помилку.

8.2 Зміни вносять у оригінал документа. Внесення змін у розрахунки не допускається.

8.3 Копії аркушів робочої документації, які були змінені, розроблені додатково або випущені замість замінених, направляють організаціям, яким раніше були направлені копії документів разом з копіями загальних даних відповідного основного комплекту робочих креслень, уточнених у відповідності з 8.5.

8.4 Дозвіл на внесення змін

8.4.1 Зміну документа виконують на основі дозволу на внесення змін (далі – дозвіл), складеного за формою 9 додатка И.

Дозвіл затверджує керівник організації-розробника документа або за його дорученням інша посадова особа.

8.4.2 Підставою для одержання оригіналів документів для внесення в них змін є дозвіл.

8.4.3 Зміни у кожний документ (наприклад, основний комплект робочих креслень, специфікацію обладнання, виробів і матеріалів) оформлюють окремим дозволом.

Допускається складати один загальний дозвіл на зміни, які вносять одночасно у кілька доку­ментів, якщо зміни взаємозв'язані або однакові для всіх документів, які змінюють.

8.5 Внесення змін

8.5 1 Внесення змін у оригінали документів здійснюють закресленням або підчищенням (змиванням). При цьому враховується фізичний стан оригіналу.

8.5.2 Після внесення змін зображення літери, цифри, знаки„ повинні бути чіткими, товщина ліній, величина просвіту тощо повинні бути виконані за правилами, передбаченими відповідними стандартами ЄСКД і системою стандартів "Репрографія".

8.5.3 Розміри, які змінюються, слова, знаки, написи тощо закреслюють суцільними тонкими лініями і поруч проставляють нові дані.

8.5.4 При зміні зображення (частини зображення) його обводять суцільною тонкою лінією, яка утворює замкнутий контур, та хрестоподібне закреслюють суцільними тонкими лініями. Нове зображення ділянки, яка змінилась, виконують на вільному полі аркуша або на іншому аркуші без поворотів.

8.5.5 Ділянкам, які змінюються або анулюються, а також додатковим ділянкам зображення присвоюють позначення, яке складається з порядкового номера чергової зміни документа і через крапку порядкового номера ділянки зображення, що змінюється (анулюється, розроблюється додатково) у межах даного аркуша. При цьому новому зображенню зміненої ділянки присвоюють позначення зміни зображення, яке замінено.

Якщо нове зображення зміненої ділянки розміщують на іншому аркуші, то позначення зміни, яке йому присвоєно, зберігають і у таблиці змін цього аркуша не враховують.

8.5.6 Біля кожної зміни, у тому числі біля зміни, виправленої підчищенням (змиванням), за межами зображення наносять у паралелограмі позначення зміни у відповідності рисунком 15.

Рисунок 15

 

Від паралелограма проводять суцільну тонку лінію до зміненої ділянки.

8.5.7 Близько розташовані один від одного змінені розміри, слова, знаки, написи тощо обводять суцільною тонкою лінією, яка утворює замкнутий контур, без перекреслювання у відповідності з рисунком 16.

Рисунок 16

8.5.8 Якщо нове зображення зміненої ділянки розміщують на іншому аркуші, то на заміненому зображенні вказують також номер аркуша, на якому знаходиться нове зображення відповідно до рисунка 17.

Рисунок 17

 

8.5.9 Над новим зображенням зміненої ділянки розміщують у паралелограмі позначення зміни заміненого зображення, а при паралелограмі вказують "Замість перекресленого".

Якщо нове зображення зміненої ділянки розміщують на іншому аркуші, то при паралелограмі вказують "Замість перекресленого на аркуші (номер аркуша, на якому знаходиться замінене зображення)" у відповідності з рисунком 18.

8.5.10 Якщо нове зображення зміненої ділянки розміщують біля заміненої, то їх з'єднують лініями-виносками з позначенням зміни у відповідності з рисунком 19.

Над додатковим зображенням розміщують у паралелограмі позначення зміни, а при пара­лелограмі вказують "Доповнення" у відповідності з рисунком 20.

 

Рисунок 18

 

Рисунок 19

Рисунок 20

 

8.5.11 При анулюванні зображення (частини зображення) при позначенні зміни вказують "Анульовано".

8.5.12 Якщо недостатньо місця для внесення змін або можливе порушення чіткості зображення при виправленні, то виготовляють новий оригінал з урахуванням змін, які внесено, і зберігають його попереднє позначення.

Якщо замінюють або додають один або кілька аркушів оригіналу, то на них зберігають інвен­тарний номер, наданий оригіналу.

При заміні всіх аркушів оригіналу йому надають новий інвентарний номер.

8.5.13 При внесенні змін у аркуші основного комплекту робочих креслень у відомості робочих креслень цього комплекту на аркушах загальних даних у графі "Примітки" вказують:

а) при внесенні першої зміни – "Зм. 1".

При внесенні наступних змін – додатково чергові номери змін, відокремлюючи їх від попередніх крапкою з комою.

Приклад

Зм. 1; 2; 3;

б) на замінених аркушах при номері зміни – "(Зам.)".

Приклад

Зм. 1 (Зам.);

в) на анульованих аркушах при номері зміни – "Анульований"

Приклад

Зм. 1 (Анульований);

г) на додаткових аркушах при номері зміни – "(Нов.)"

Приклад

Зм. 1 (Нов.).

8.5.14 Якщо до основного комплекту робочих креслень включають додаткові аркуші, то їм надають чергові порядкові номери і записують до продовження відомості робочих креслень відповідного основного комплекту.

При нестачі місця у відомості робочих креслень для запису додаткових аркушів продовження відомості переносять на перший із додаткових аркушів. При цьому у кінці відомості робочих креслень, розміщеної у "Загальних даних", роблять запис:

"Продовження відомості див. на аркуші (номер аркуша)", а над відомістю на додатковому аркуші розміщують заголовок: "Відомість робочих креслень основного комплекту (Продовження)".

Номери і найменування анульованих аркушів у відомості робочих креслень закреслюють.

При заміні найменувань аркушів вносять відповідні зміни в графу "Найменування".

8.5.15 При зміні загальної кількості аркушів документа на його першому аркуші в основний напис вносять відповідні зміни в графу "Аркушів".

8.5.16 При виконанні додаткових і анулюванні раніше виконаних документів, які додаються, вносять виправлення у відомість документів, на які посилаються і які додаються, відповідного основного комплекту робочих креслень.

8.5.17 При виконанні додаткових і анулюванні раніше виконаних основних комплектів робочих креслень вносять виправлення у відомість основних комплектів робочих креслень.

8.5.18 Зміни, внесені в оригінал, вказують у таблиці змін, розміщеній у основному написі.

Допускається таблицю змін розміщувати за межами основного напису (над ним або зліва від нього) за тією самою формою.

8.5.19 У таблиці змін вказують:

а) у графі "Зм." – порядковий номер зміни документа;

б) у графі "Кільк. діл." – кількість ділянок зображення, які змінюються, на даному аркуші у межах чергової зміни;

в) у графі "Аркуш" – на аркушах, випущених замість замінених, – "Зам", на аркушах, добавлених знову, – "Нов".

При заміні всіх аркушів оригіналу (при черговому порядковому номері зміни документа) на першому аркуші у графі "Аркуш" вказують "Усі". При цьому таблицю змін на інших аркушах цього оригіналу не заповнюють.

В інших випадках у графі "Аркуш" ставлять прочерк;

г) у графі "№ док." – позначення дозволу;

д) у графі "Підп." – підпис особи, відповідальної за вірність внесення зміни (підпис особи, відповідальної за нормоконтроль, проставляють на полі для підшивання аркуша);

е) у графі "Дата" – дату внесення зміни.

8.5.20 При внесенні будь-яких змін у відомість креслень основного комплекту і документи, які додаються в “Загальні дані”, цей аркуш повинен бути замінений з фіксацією наведених змін у таблиці змін із прочерком у графі “Кільк.”.

8.5.21 При внесенні змін у текстові документи рекомендується виконувати таблицю реєстрації змін за формою 10 додатка К. Таблицю реєстрації змін розміщують на титульному аркуші текстового документа.

8.5.22 Значні зміни у текстових документах вносять одним із таких способів:

а) заміною всіх або окремих аркушів документа;

б) шляхом випуску нових додаткових аркушів.

При зміні оригіналів текстових документів допускається при доданні нового аркуша надавати йому номер попереднього аркуша з додаванням чергової арабської цифри, відокремлюючи її від попередньої крапкою.

Приклад

3.1.

У цьому випадку на першому аркуші змінюють загальну кількість аркушів.

У текстових документах, які містять, в основному, суцільний текст, допускається при додаванні нового пункту надавати йому номер попереднього пункту з додаванням чергової малої літери українського алфавіту, а при анулюванні пункту – зберігати номери наступних пунктів.

8.5.23 При анулюванні або заміні документа всі анульовані і замінені аркуші оригіналу хрестоподібне перекреслюють суцільними тонкими лініями і проставляють штамп за формою 11 додатка Л.

8.5.24 Внесення змін в креслення, створені за допомогою комп’ютерних технологій виконуються лише заміною креслень, випуском додаткових креслень або анулюванням.

Допускається вносити зміни в такі документи рукописним способом згідно з вимогами 8.5.4 –8.5.19.


9 ПРАВИЛА ПРИВ'ЯЗКИ РОБОЧОЇ ДОКУМЕНТАЦІЇ

9.1 Робоча документація – типові проекти, типові проектні рішення (призначені для прив'язки) і робоча документація повторного застосування підлягає прив'язці до конкретного майданчика будівництва. На кожному аркуші документації, яку прив'язують, ставлять штамп прив'язки від­повідно до додатка М:

а) на першому аркуші – за формою 12:

б) на наступних аркушах – за формою 13.

9.2 На обкладинки основних комплектів робочих креслень типових проектів (типових проектних рішень), виданих поліграфічне у вигляді альбомів і випусків, які мають декілька марок комплектів робочих креслень, штамп прив'язки не ставлять.

9.3 Штамп прив'язки наносять на вільному полі аркуша, переважно над основним написом або зліва від нього.

9.4 Допускається не наносити штамп прив'язки на незмінні робочі креслення конструкцій, виробів та вузлів у випадку їх повторного використання організацією, яка здійснила розробку та затвердження цих креслень. Вказані робочі креслення записують у розділ документів, які дода­
ються, без зміни позначення.

9.5 Зміни при прив'язці вносять відповідно до вимог пунктів 8.5.1-8.5.4; 8.5.14-8.5.17 та з урахуванням таких додаткових вимог:

а) якщо ділянок зображення, які змінюються, дві і більше, то їм надають порядкові номери, які проставляють римськими цифрами на полиці лінії-виноски відповідно до рисунка 21;

б) над зміненою ділянкою вказують римською цифрою порядковий номер ділянки зображення, яка змінюється, і напис "Замість перекресленого" відповідно до рисунка 22.

Якщо нове зображення (частину зображення) розміщують на іншому аркуші, то на заміненому зображенні вказують також номер аркуша, на якому знаходиться нове зображення.

 

Рисунок 21

Рисунок 22

9.6 Основні написи на аркушах документації, яку прив'язують, виданої у вигляді альбомів та випусків, залишають без змін.

9.7 Зміни при прив'язці рекомендується вносити в один екземпляр документа, який буде у майбутньому оригіналом, з якого виготовляють копії.

9.8 Анульовані аркуші виключають з прив'язаної документації без зміни загальної нумерації аркушів.


10 ПРАВИЛА ОФОРМЛЕННЯ ЗБРОШУРОВАНОЇ ДОКУМЕНТАЦІЇ

10.1 Кожний зброшурований документ оформляють фірмовою або прозорою пластиковою обкладинкою. Обкладинку не нумерують і не включають у загальну кількість сторінок.

10.2 Першим аркушем текстового (графічного) документа або кількох зброшурованих документів є титульний аркуш. Титульний аркуш виконують за формою 15 додатка П. Приклад заповнення титульного аркуша наведено у додатку Т.1.

10.3 Титульні аркуші зброшурованих проектних документів стадій ЕП, ТЕО, ТЕР, П, РП повинні мати такі підписи.

10.3.1 Загальні положення (загальна пояснювальна записка):

а) керівник або головний інженер проектної організації;

б) головний архітектор організації (за наявності в штатному розкладі);

в) головний архітектор (інженер) проекту.

На титульному аркуші загальної пояснювальної записки підпис керівника (головного інженера) проектної організації повинен бути завірений печаткою організації, а підпис ГАПа - персональною печаткою (де наведено дані про № кваліфікаційного сертифіката архітектора та ким він видан).

10.3.2 Розділи основних марок проектної документації, зброшуровані в томи (книги, альбоми), а також вишукувальні звіти:

а) головний інженер проектної організації;

б) головний архітектор (інженер) проекту;

в) керівник проектного (вишукувального) підрозділу.

10.4 Усі аркуші зброшурованого документа, починаючи з титульного, повинні мати наскрізну нумерацію сторінок. При цьому титульний аркуш не нумерують.

Номер сторінки на аркушах текстових і графічних документів зазначають у правому верхньому кутку робочого поля аркуша під час одностороннього друкування, а для двостороннього друкування також на зворотному боці сторінки у верхньому лівому кутку.

Крім того, в основному написі текстових та графічних документів, включених у том, альбом або випуск та тих, які мають самостійне позначення, вказують порядкову нумерацію аркушів у межах документа з одним позначенням.

10.5 У кожному томі, книзі, альбомі або випуску після титульного аркуша наводять “Зміст”, який виконують за формою 2 додатка Б перший аркуш оформляють основним написом за формою 5, наступні за формою 6 додатка Д. Приклади оформлення аркуша “Зміст наведено на Т.2 чи Т.6 у додатку Т.

10.6 Склад проекту наводять у відомості, яку виконують за формою 16 додатка Р. У відомості наводять послідовний перелік томів (книг, альбомів, випусків) проектної документації. Перший аркуш складу проекту оформляють основним написом за формою 5, наступні за формою 6 додатка Д. Приклад оформлення «Склад проекту» наведено на Т.3 у додатку Т.

Пункт 10.7. Запис про те, що проект (робочий проект) розроблений відповідно до чинних норм, правил та стандартів, наводять у першому томі загальної пояснювальної записки, який підписує головний архітектор проекту завіряючи його своєю печаткою (де наведено дані про № кваліфікаційного сертифіката архітектора та ким він видан), та головний інженер проекту (за наявності) на аркуші з основним написом за формою 5 додатка Д. Приклад оформлення підтвердження ГАП (ГІП) наведено на Т.4 у додатку Т.

Пункт 10.8. Відомості про учасників проектування по кожному розділу проекту виконують за формою 17 додатка С, після “Підтвердження ГАПа (ГІПа)”. Біля прізвищ авторів архітектурного рішення проекту можуть бути проставлені знаки охорони авторських прав Ó. Перший аркуш оформляють з основним написом за формою 5, наступні за формою 6 додатка Д. Приклад оформлення відомості про учасників проектування наведено на Т.5 у додатку Т.»

Пункт 10.9. Першим томом проекту (робочого проекту) є том “Загальні положення”, якщо пояснювальна записка об’єднує всі розділи проекту (в невеликих за обсягами документації проектах), вона іменується «Загальна пояснювальна записка». Першим розділом загальної пояснювальної записки проекту повинен бути розділ із назвою «Загальні положення». Кожний перший аркуш розділу проекту (робочого проекту), який включений в том (книгу, альбом, випуск) пояснювальної записки, оформляють основним написом за формою 5, наступні аркуші – за формою 6 додатка Д. Кожному розділу проекту надають позначення, яке складається з базового позначення і через дефіс позначення розділу проекту відповідно до додатків «А» чи «У».

Приклад: 2345-ЗП; 2345-ГТ; 2345-ТХ; 2345-АР тощо.

На першому аркуші архітектурного розділу пояснювальної записки в основному написі за формою 5 додатка Д у графі 11 біля прізвищ авторів архітектурного рішення проекту можуть бути проставлені знаки охорони авторських прав Ó.








Date: 2015-09-19; view: 1044; Нарушение авторских прав



mydocx.ru - 2015-2026 year. (1.807 sec.) Все материалы представленные на сайте исключительно с целью ознакомления читателями и не преследуют коммерческих целей или нарушение авторских прав - Пожаловаться на публикацию