Главная Случайная страница


Полезное:

Как сделать разговор полезным и приятным Как сделать объемную звезду своими руками Как сделать то, что делать не хочется? Как сделать погремушку Как сделать так чтобы женщины сами знакомились с вами Как сделать идею коммерческой Как сделать хорошую растяжку ног? Как сделать наш разум здоровым? Как сделать, чтобы люди обманывали меньше Вопрос 4. Как сделать так, чтобы вас уважали и ценили? Как сделать лучше себе и другим людям Как сделать свидание интересным?


Категории:

АрхитектураАстрономияБиологияГеографияГеологияИнформатикаИскусствоИсторияКулинарияКультураМаркетингМатематикаМедицинаМенеджментОхрана трудаПравоПроизводствоПсихологияРелигияСоциологияСпортТехникаФизикаФилософияХимияЭкологияЭкономикаЭлектроника






Ефект Холла





1.1. Загальні відомості

Ефектом Холла називається явище, що полягає в тому, що при пропусканні струму вздовж провідної пластинки, поміщеної перпендикулярно до ліній зовнішнього магнітного поля, виникає поперечна різниця потенціалів внаслідок взаємодії носіїв заряду з магнітним полем. Ефект відкритий Едвіном Гербертом Холом в 1879 році в тонких пластинках золота.

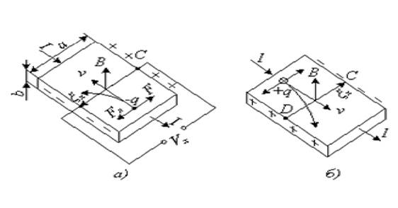
Припустимо, що по провіднику, що має форму прямокутної пластини, протікає електричний струм І (рис. 111). У відсутність магнітного поля різниця потенціалів між точками С і , що лежать на одній з еквіпотенціальних поверхонь, рівна нулю. Якщо зразок помістити в магнітне поле, індукція якого В перпендикулярна до напряму струму і площини зразка, то між точками С і виникає різниця потенціалів Vx, названа холлівською е.р.с.

Рис. 111 Пояснення ефекту Холла на пластинах n-типу (а) і p-типу (б).

Як показує досвід, при не дуже сильних полях Vxвиявляється пропорційна індукції поля В, силі струму I і обернено пропорційна товщині пластини b:

(1.111)

Тут j – густина струму в зразку; а – ширина зразка. Коефіцієнт пропорційності Rx є константою матеріалу і називається постійною Холла. Вона має розмірність L3/Q (L– довжина, Q– електричний заряд) і вимірюється в м /Кл.

 

1.2. Фізична природа ефекту Холла.

При протіканні струму в напрямі, вказаному на рис. 1.111, а стрілкою, електрони здійснюють дрейф із швидкістю V в протилежному напрямі. На кожний такий електрон діє з боку магнітного поля В сила Лоренца

(7. 25)

де q– заряд електрона. Напрям цієї сили визначається правилом свердлика. Оскільки кут між V і В рівний 90°, то чисельне значення сили Лоренца складає:

(7.26)

Під дією сили Лоренца електрони відхиляються до зовнішньої межі пластини (штрихова лінія на рис. 7.4, а), заряджаючи її негативно. На протилежній грані нагромаджуються позитивні заряди, що не компенсуються.

Це призводить до появи електричного поля, направленого від С до D і рівного:

деVx– різниця потенціалів між точками С і D (е.р.с. Холла).

Поле Eхдіє на електрони з силою , направленою проти сили Лоренца. При поперечне електричне поле врівноважує силу Лоренца і подальше накопичення електричних зарядів на бічних гранях пластини припиняється. З умови рівноваги

(7.27)

знаходимо

. (7.28)

Враховуючи, що густина струму в провіднику , де n – концентрація електронів, одержуємо . Підставивши цей вираз в (7.28), знайдемо

. (7.29)

Теорія приводить, таким чином, до виразу для Vxякий збігається з (7.24), встановленим експериментально. Постійна Холла виявляється при цьому рівною

(7.30)

Ефект Холла є могутнім експериментальним засобом вивчення властивостей носіїв заряду в напівпровідниках. Вимірявши постійну Холла Rx, можна визначити концентрацію носіїв, а за напрямом е.р.с. Холла визначити їх знак.

 

1.3. Постійна Холла

Енергія Холла Ex виникає в магнітному полі через наявність у електронів дрейфової швидкості Vd. Макроскопічно, однак, вимірюють струм, відповідний густині струму d. Тому Ex визначають через j і вводять постійну Холла.

(1.3434)


Постійна Холла залежить від концентрації, але не залежить від рухливості носіїв! Вимірюючи напруженість поля Eн, щільність струму j і магнітне поле B, ми можемо визначити з ефекту Холла знак і концентрацію носіїв

Для металів величина R залежить від зонної структури і форми поверхні Фермі. У разі замкнутих поверхонь Фермі і в сильних магнітних полях коефіцієнт Холла є ізотропний. Для відкритих поверхонь Фермі коефіцієнт R анізотропний.

 

1.4. Температурна залежність концентрації носіїв заряду

Можна побудувати залежність концентрації носіїв заряду в функції від температури. Враховуючи, що температурна залежність концентрації носить експонентний характер, її будують у координатах. Це дозволяє представити залежність концентрації вільних носіїв заряду від температури у вигляді сукупності прямих ліній. Як видно з рис. 222222222, графік розбитий на три області.

Рис. 2 Залежність концентрації носіїв заряду від температури

Область I називається областю низьких температур. Утворення вільних носіїв заряду відбувається за рахунок переходу електронів з донорного рівня в зону провідності для напівпровідника n-типу електропровідності, а для напівпровідника p-типу електрони переходять з валентної зони на акцепторні рівень. Енергія активації домішкового рівня визначається з рівняння:

де k – постійна Больцмана,


.

Область II - область виснаження домішки. Як видно з малюнка, концентрація вільних носіїв заряду не залежить від температури. Це відповідає тому, що всі електрони з донорного рівня перейшли в зону провідності в напівпровіднику n-типу електропровідності, а для напівпровідників p-типу електропровідності заповнені всі енергетичні стани на акцепторнім рівні електронами, які перейшли з валентної зони. У цій області концентрація вільних носіїв заряду дорівнює концентрації домішкових атомів.

Область III є областю високих температур. Тут енергія теплового хаотичного руху електронів kT порівнянна з величиною забороненої зони. Тому електрони переходять з валентної зони в зону провідності, при цьому утворюються парні носії заряду: електрон і дірка. Ширина забороненої зони може бути визначена з графіка (див. рис. 2) за допомогою наступного виразу:

(2…11)

 

1.5. Рухливість вільних носіїв заряду

Дослідження ефекту Холла дозволяють виміряти не тільки концентрацію вільних носіїв заряду, але і їх рухливість. Рухливість носіїв заряду - це швидкість дрейфу носіїв заряду в електричному полі одиничної напруженості. Вона визначається за формулою:

(1.123)

де σ - електропровідність напівпровідника. Знаючи величини RH і σ для декількох температур, можна побудувати температурну залежність рухливості носіїв заряду, графік якої будується в координатах

(1.1231)

Рис. 3. Залежність рухливості носіїв заряду від температури

На рис.3 наведено приклад температурної залежності рухливості носіїв заряду в напівпровіднику. Величина рухливості залежить від механізмів розсіювання носіїв заряду. В області високих температур, коли амплітуда коливань вузлів кристалічної решітки велика, відбувається розсіяння носіїв заряду на фононах. Рухливість носіїв заряду пропорційна T-3/2 і T-1 відповідно для напівпровідників, містять не вироджений і вироджений електронний газ. При низьких температурах розсіювання носіїв заряду відбувається на іонізованих домішках. Цей механізм розсіювання носіїв заряду полягає в наступному: рухомі електрони або притягуються до атома домішки, або відштовхуються від нього завдяки кулонівською силам, чинним між зарядженими частинками, в залежності від знаку заряду домішки. В результаті, при розсіюванні на іонізованих домішках змінюється за напрямком швидкість руху електронів. Для напівпровідників, містять не вироджений електронний газ, рухливість носіїв заряду пропорційна T-3/2. Рухливість носіїв заряду для випадку виродженого електронного газу не залежить від температури.

Якщо величина рухливості носіїв заряду визначається декількома механізмами розсіювання, то домінуючий механізм визначається зі співвідношення

Де µф, µід, µнд - відповідно рухливість носіїв заряду, обумовлена ​​розсіюванням на фононах, іонізованих та нейтральних домішках. Як випливає з цього рівняння, переважаючим є той механізм, який обумовлює мінімальне значення величини рухливості носіїв заряду.







Date: 2015-09-19; view: 1137; Нарушение авторских прав



mydocx.ru - 2015-2026 year. (0.836 sec.) Все материалы представленные на сайте исключительно с целью ознакомления читателями и не преследуют коммерческих целей или нарушение авторских прав - Пожаловаться на публикацию