Главная Случайная страница


Полезное:

Как сделать разговор полезным и приятным Как сделать объемную звезду своими руками Как сделать то, что делать не хочется? Как сделать погремушку Как сделать так чтобы женщины сами знакомились с вами Как сделать идею коммерческой Как сделать хорошую растяжку ног? Как сделать наш разум здоровым? Как сделать, чтобы люди обманывали меньше Вопрос 4. Как сделать так, чтобы вас уважали и ценили? Как сделать лучше себе и другим людям Как сделать свидание интересным?


Категории:

АрхитектураАстрономияБиологияГеографияГеологияИнформатикаИскусствоИсторияКулинарияКультураМаркетингМатематикаМедицинаМенеджментОхрана трудаПравоПроизводствоПсихологияРелигияСоциологияСпортТехникаФизикаФилософияХимияЭкологияЭкономикаЭлектроника






Стабилизация нефти





 

Даже после многоступенчатой промысловой сепарации в нефти остается весьма значительное количество углеводородов С1-С4. Значительная часть этих углеводородов может быть потеряна при перекачках из резервуара в резервуар, при хранении и транспортировке нефти. Вместе с газами теряются ценные легкие бензиновые фракции.

Задача стабилизации – отделение от нефти легко летучих компонентов с целью получения продукта пригодного для хранения и транспортирования без значительных потерь.

Чтобы ликвидировать потери газов и легких бензиновых фракций, предотвратить загрязнение воздуха, уловить ценные газообразные компоненты, необходимо максимально извлечь углеводороды С1-С4 из нефти перед тем, как отправить ее на нефтеперерабатывающие заводы. Эта задача решается на установках стабилизации нефти, расположенных обычно в непосредственной близости от места ее добычи. Методы стабилизации нефти могут быть различными. Для большинства нефтей стабилизация производится на установках с применением ректификации.

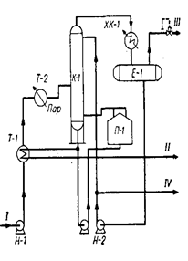
Нефть, поступающая с промысловых установок сепарации, проходит через теплообменники Т-1, где подогревается уже стабилизированной нефтью, и паровые подогреватели Т-2. Подогретая нефть поступает в ректификационную колонну-стабилизатор К.-1. Уходящие с верха стабилизатора легкие углеводороды конденсируются в конденсаторе холодильнике ХК-1 и поступают в емкость Е-1. С верха стабилизатора уходят углеводороды от С1 до С5 включительно. При охлаждении оборотной промышленной водой в конденсаторе-холодильнике конденсируется не весь продукт, уходящий с верха колонны. Поэтому в емкости Е-1 происходит разделение смеси, поступившей из конденсатора, на газ и жидкость.

 

Схема установки стабилизации нефти:

I-нестабильная нефть; II - стабильная нефть; III - несконденсировавщийся газ; IV - головка стабилизации (сжиженный газ).


 

Газ из Е-1 направляется в топливную сеть. Жидкий продукт - газовый конденсат частично возвращается в колонну К-1 в качестве орошения, а балансовое количество (количество продуктов, которое образуется в соответствии с материальным балансом технологической установки) выводится со стабилизационной установки и передается на центральные газофракционирующие установки (ЦГФУ).

Эти установки предназначаются для разделения газового конденсата нескольких стабилизационных установок на индивидуальные углеводороды.

С низа стабилизатора уходит стабильная нефть, которая отдает свое тепло поступающему сырью в теплообменнике Т-1 и доохлаждается в холодильнике. Необходимое для ректификации тепло подводится в нижнюю часть стабилизационной колонны через трубчатую печь. Содержание газа (углеводородов С1 - С4) в стабильной нефти составляет 0,8-1,5%.







Date: 2015-09-18; view: 821; Нарушение авторских прав



mydocx.ru - 2015-2026 year. (0.877 sec.) Все материалы представленные на сайте исключительно с целью ознакомления читателями и не преследуют коммерческих целей или нарушение авторских прав - Пожаловаться на публикацию