Главная Случайная страница


Полезное:

Как сделать разговор полезным и приятным Как сделать объемную звезду своими руками Как сделать то, что делать не хочется? Как сделать погремушку Как сделать так чтобы женщины сами знакомились с вами Как сделать идею коммерческой Как сделать хорошую растяжку ног? Как сделать наш разум здоровым? Как сделать, чтобы люди обманывали меньше Вопрос 4. Как сделать так, чтобы вас уважали и ценили? Как сделать лучше себе и другим людям Как сделать свидание интересным?


Категории:

АрхитектураАстрономияБиологияГеографияГеологияИнформатикаИскусствоИсторияКулинарияКультураМаркетингМатематикаМедицинаМенеджментОхрана трудаПравоПроизводствоПсихологияРелигияСоциологияСпортТехникаФизикаФилософияХимияЭкологияЭкономикаЭлектроника






Обезвоживание и обессоливание нефтей





 

Термохимический метод наиболее распространённый в России метод, впервые применённый ещё в 1914 г. В настоящее время до 80 % добываемой в России нефти подготавливается подобным способом. Существует несколько разновидностей термохимического метода. Наиболее распространены установки, работающие под атмосферным давлением.

Обезвоживание и обессоливание водонефтяных эмульсий на этих установках осуществляется в две стадии. На первой стадии реализуется обезвоживание продукции, на второй обессоливание. Исходная водо – нефтяная эмульсия поступает на установку потоком I и накапливается в сырьевом резервуаре 1. Разумеется, эмульсия уже полностью разгазирована. В сырьевом резервуаре может происходить частичное отделение воды. В этом случае она сбрасывается в поток сточной воды – IV.

По мере необходимости исходная эмульсия забирается насосом 2 и после смешения с деэмульгатором (поток III) нагревается до 50 – 600С в любом подогревающем устройстве (в данном случае это теплообменник 3 чаще всего с плавающей головкой или линзовым компенсатором, реже типа труба в трубе).

 

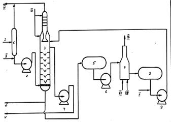
Установка обезвоживания и обессоливания нефти при атмосферном давлении

 

Подогретая эмульсия подаётся на отстой в резервуар 4 под водяную подушку. Опытным путём установлено, что высота водяной подушки должна быть порядка 50 – 70 % от общей высоты жидкости в резервуаре, но не менее 2 м. Время отстоя колеблется от нескольких часов до нескольких суток. Причём, отстойные резервуары могут работать как в периодическом, так и полунепрерывном и даже непрерывном режиме. Отстоявшаяся вода сбрасывается в линию сточной воды, а частично может подаваться на вход теплообменника 3 в качестве рециркулята. Промывка исходной эмульсии сточной водой призвана ускорить процесс отстоя.

Описанная первая стадия применяется в том случае, если содержание воды в исходной эмульсии превышает 2 – 5 % мас. В противном случае, первая стадия из схемы установки исключается.

Для осуществления второй стадии эмульсия с помощью насоса 5 после смешения с дополнительным количеством деэмульгатора (поток VIII), который подаётся при необходимости и пресной водой (поток IX) – обычно 2 – 5 % на нефть – прокачивается через подогреватель (в данном случае печь: V- топливо, VI – воздух, VII – дымовые газы) и с температурой 50 – 650С направляется на отстой в резервуар 7.

Отмытая от солей нефть потоком Х выводится с установки, а отстоявшаяся вода сбрасывается в линию сточной воды, частично возвращаясь на циркуляцию для экономии расхода пресной воды. Подобные установки позволяют менять деэмульгаторы без изменения схемы и аппаратного оформления. Кроме того, они не только предельно просты, но и мало чувствительны к колебаниям в содержании воды в исходной эмульсии. Однако, в то же время, они характеризуются повышенными расходами деэмульгатора и тепла, а так же потерями лёгких фракций, за счет их испарения из нагретых эмульсий через клапаны резервуаров.

 

Термохимические установки, работающие под избыточным давлением.

 

Отличие подобных установок от предыдущих невелико. Во – первых, на стадии обезвоживания исходная эмульсия подогревается в две стадии – до 40 – 650С в теплообменнике 3-а нефтью, прошедшей стадию обезвоживания, и до 70 – 1500С в паровом подогревателе 3-б. Во – вторых, обезвоживание осуществляется в течении 1 – 3 часов в герметичном отстойнике 4-а под давлением до 10 атм. В третьих, на стадии обессоливания нагрев также осуществляется в две стадии – в теплообменнике 3-в и печи 6, причём, в качестве теплоносителя используют обессоленную нефть. В-четвёртых, обессоливание осуществляют в две стадии – под давлением в отстойнике 4-б и без давления в резервуаре 7, предварительно охладив нефть в водяном холодильнике 8.

Подобные установки позволяют резко снизить время отстоя и расход деэмульгатора и существенно уменьшить потери лёгких фракций за счёт испарения в товарном резервуаре по сравнению с предыдущими схемами. Однако, расход тепла в них намного выше. В полностью развёрнутом виде (как на рис.74) подобные установки достаточно редки. Как правило, монтируют лишь ступень обезвоживания, а обессоливание осуществляют иными, более современными способами (см.ниже).

 

Термохимические установки с промывкой исходной эмульсии

 

Даже при решающем влиянии деэмульгатора и температуры экспериментально установлено, что до тех пор, пока в эмульсии типа В/Н нефть будет сохраняться как дисперсионная среда, сохраняется возможность всё нового образования подобной эмульсии. И лишь при замене дисперсионной среды на водяную, являющейся ненормальной для данного типа эмульсии, подобную возможность можно свети к нулю.


Водо – нефтяная эмульсия потоком 1 через резервный сепаратор 1 при 200С под давлением 1 – 1,5 атм после смешения с деэмульгатором (поток II), насосом 2 подаётся в нижнюю часть колонны комплексной подготовки 3, в верхнюю часть которой потоком III поступает горячая (65 – 700С) пресная вода. Газы из сепаратора и колонны потоком IV выводятся с установки.

Ввод эмульсии обязательно должен осуществляться в виде капель или в крайнем случае плёнки, ибо при чрезмерном распылении образуется эмульсия типа Н/В, а при чрезмерном перемешивании новые порции эмульсии типа В/Н. Эмульсия, поднимаясь в таком виде через слой воды в колонне, обезвоживается, обессоливается и насосом 4 потоком V выводится с установки.

Образовавшаяся в колонне сточная вода частично выводится с установки потоком VI, а частично возвращается в процесс насосом 9 после подогрева дымовыми газами (поток IX) в печи 7 и добавки свежей порции деэмульгатора, что позволяет существенно экономить пресную воду. Опыт эксплуатации подобной установки показал, что отходящие углеводородные газы и товарная нефть уносят с собой капельки воды, что потребовало сооружения добавочных отстойников для их отделения. Кроме того, наличие промежуточных ёмкостей 5 и 8, а также насоса 6 экономически не оправдано, не говоря уже о распылении воды в печи 7 и её прямом контакте с дымовыми газами, что помимо уноса вызывает повышение и без того немалой коррозионной активности сточной воды.

Частично эти проблемы удалось решить изменив режим работы колонны так, чтобы уровень раздела фаз нефть – вода перенёсся из верхней части колонны в нижнюю. Для чего стали не пробулькивать эмульсию через слой воды, а пропускать воду через колонну, заполненную эмульсией. Однако, установка так и осталась опытной.


 

Установка с роторно-дисковым контактором.

 

Исходная эмульсия забирается насосом 2 из резервуара 1 и после подогрева в теплообменнике 3 подаётся на первую тарелку роторно – дискового контактора 4, в верхнюю часть которого потоком II поступает свежая подогретая пресная вода с добавкой деэмульгатора, поток III. Диски контактора выполнены из гидрофильного материала. Промывка эмульсии горячей водой приводит к её обезвоживанию и обессоливанию.

Образовавшаяся сточная вода потоком IV выводится с установки, частично возвращаясь в аппарат в качестве горячей струи с помощью парового эжектора 5. Обезвоженная и обессоленная нефть накапливается в ёмкости 6 и с помощью насоса 7 прогоняется через теплообменник 3, где отдаёт своё тепло эмульсии, поступающей на установку. После чего, нефть накапливается в резервуаре 8 и потоком VI выводится с установки. Окончательный отстой воды осуществляется в отстойнике 6 и резервуаре 8.







Date: 2015-09-18; view: 1671; Нарушение авторских прав



mydocx.ru - 2015-2026 year. (0.283 sec.) Все материалы представленные на сайте исключительно с целью ознакомления читателями и не преследуют коммерческих целей или нарушение авторских прав - Пожаловаться на публикацию