Главная Случайная страница


Полезное:

Как сделать разговор полезным и приятным Как сделать объемную звезду своими руками Как сделать то, что делать не хочется? Как сделать погремушку Как сделать так чтобы женщины сами знакомились с вами Как сделать идею коммерческой Как сделать хорошую растяжку ног? Как сделать наш разум здоровым? Как сделать, чтобы люди обманывали меньше Вопрос 4. Как сделать так, чтобы вас уважали и ценили? Как сделать лучше себе и другим людям Как сделать свидание интересным?


Категории:

АрхитектураАстрономияБиологияГеографияГеологияИнформатикаИскусствоИсторияКулинарияКультураМаркетингМатематикаМедицинаМенеджментОхрана трудаПравоПроизводствоПсихологияРелигияСоциологияСпортТехникаФизикаФилософияХимияЭкологияЭкономикаЭлектроника






Параметры которые нужно менять в курсовых, остальные оставить прежние

Таблица 1 Результаты гидравлического расчёта трубопровода.

Q, м3 V, м/с Re hтр, м hм, м h, м Z H
            93,078 93,078
  0,252 16023,7 0,028 1,721 0,0752 1,7962 94,8742
  0,5 32047,4 0,024 5,8 0,296 6,096 99,174
  0,76 48071,15 0,0214 11,96 0,684 12,644 105,722
  1,01   0,02 19,74 1,207 20,95 114,028
  1,26   0,018 27,66 1,88 29,54 122,618
108/ 2,52 96142,3 0,018 110,62 7,52 118,14 211,218

 

По полученным значениям Q и H на миллиметровой бумаге в масштабе производим графическое построение гидравлической характеристики трубопровода в координатах Q – H и определяем режимную точку, соответствующую проектной подаче QР и Hпотр, по которой производим подбор перекачивающего насоса.

 


3. Выбор насоса

 

По полученным данным выбираем центробежный насос типа НК: 6НК-9×1.

Электронасосные агрегаты типа НК – центробежные, горизонтальные, консольные, одноступенчатые – предназначены для перекачивания нефти и нефтепродуктов плотностью до 1 т/м3, вязкостью до 0,001 см2/с с температурой от 0 до 80 С и от 0 до 200 С. Насосы применяются в нефтеперерабатывающей, нефтехимической и других отраслях промышленности.

Насосы данного типа рассчитаны на работу при непосредственном соединении с электродвигателем через упругую муфту, а также с ремённой передачей посредством шкива, консольно насаженного на вал.

Эти насосы ― одноколёсные, консольного типа с горизонтальным валом. Всасывающий патрубок расположен горизонтально вдоль оси, напорный вертикально вверх, но может быть повёрнут на 90°, 180° и 270° в вертикальной плоскости. Вращение вала происходит, если смотреть со стороны всасывающего патрубка, против часовой стрелки.

Корпус, рабочее колесо и уплотняющие кольца насоса ― чугунные; вал выполнен из стали и укреплён на шариковых подшипниках, размещённых в масляной ванне на опорном кронштейне. Все насосы НК имеют обыкновенный сальник с мягкой набивкой.

Так как рабочая точка не совпадает с характеристикой насоса при выбранном диаметре рабочего колёса, то производим регулировку насоса методом обточки рабочих колёс насоса.

 


Таблица 2. Техническая характеристика насоса.

 

 

4. Регулирование работы центробежного насоса

 

При регулировании насоса путём изменения размеров рабочих колёс (обточки) характеристики насоса будут изменяться по соотношениям:

 

 

где штрихом обозначены параметры насоса после обточки.

На графике гидравлической характеристики трубопровода и характеристики насоса построим параболу обточки по формуле:

 


H=KQ , где K=H’/(Q’) =Hпотр/Qр ;

 

Таблица 3. Зависимость (Q-H) для параболы обточки.

 

 

При определении диаметра после обточки () вместо Q и H подставляются координаты точки пересечения параболы обточки и кривой H-Q насоса, соответствующей диаметру рабочего колеса до обточки ():

 

≈338 мм

≈338 мм

 

При обточке рабочего рабочего колеса изменяется кпд насоса. Предельные относительные величины обрезки рабочих колёс зависят от коэффициента быстроходности.


 

значит значение n должно быть не больше 120.

 

5. Определение предельно допустимой высоты всасывания

 

Допустимая высота всасывания насоса H определяется из уравнения

 

H , где

 

― гидравлические потери на трение и местное сопротивление во всасывающем трубопроводе;

 

 

n ― число оборотов вала насоса в минуту; Q ― подача насоса, м /с (у насоса с колесом двухстороннего действия следует принимать Q/2); C ― коэффициент Руднёва ― принимается в зависимости от коэффициента быстроходности n :

 

 

Таким образом,


;

H > H =3 м.

 

6. Устройство насосной установки

 

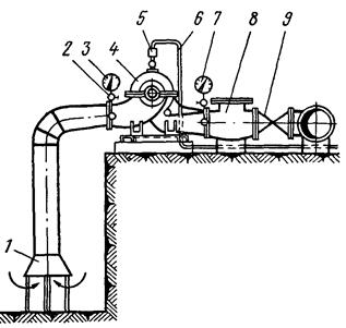
Насосной установкой называют несколько насосных агрегатов, объединенных для работы на общий напорный трубопровод.

В состав насосного агрегата входят: насос, двигатель, трубопроводная арматура, измерительные приборы и устройства для заполнения насоса жидкостью перед пуском, а также пусковые устройства двигателя и приборы автоматического управления агрегатом. Схема компоновки насосного агрегата изображена на рис. 2.


 

Рис. Схема оборудования насосной установки.

 

На основании приведенных расчетов опишем насосную установку.

1 – электродвигатель

2 – центробежный насос

3 – трубопровод подводящий

4 – сетка-фильтр

5 – обратный клапан

6 – трубопровод напорный

7 – задвижка

8 – приемного бака

9 – в напорный бак

10 – обратный клапан

 

Рис. Схема оборудования насосной установки.

 


Библиографический список

 

1. Е.З.Рабинович. Гидравлика. – М: Недра, 1980. – 278 с.

2. К.А.Ибатулов. Гидравлические машины и механизмы в нефтяной промышленности. – М.: Недра, 1972. – 285 с.

3. В.И.Елин, К.Н.Солдатов, С.М.Соколовский. Насосы и компрессоры. – М: Гостоптехиздат, 1960. – 398 с.

4. Т.М.Башта и др. Гидравлика, гидравлические приводы. – М: Машиностроение, 1970. – 504 с.

5. Нефтяные центробежные насосы: Каталог. – М.: ЦИНТИхимнефтемаш, 1980. – 51 с.

Размещено на Allbest.ru

 

 

Параметры которые нужно менять в курсовых, остальные оставить прежние

 

Параметр Номер варианта
                   
Жидкость
Расчётная производительность, Q, м3 /час                    
Приёмный трубопровод
Длина L, м                    
Напорный трубопровод
Длина L, м                    
Давление нагнетания P, МПа 0,18 0,17 0,20 0,21 0,25 0,30 0,23 0,15 0,16 0,31

 



<== предыдущая | следующая ==>
c. Выводы по второй части | Коэффициент восстановления платежеспособности





Date: 2015-09-18; view: 333; Нарушение авторских прав



mydocx.ru - 2015-2026 year. (1.161 sec.) Все материалы представленные на сайте исключительно с целью ознакомления читателями и не преследуют коммерческих целей или нарушение авторских прав - Пожаловаться на публикацию