Главная Случайная страница


Полезное:

Как сделать разговор полезным и приятным Как сделать объемную звезду своими руками Как сделать то, что делать не хочется? Как сделать погремушку Как сделать так чтобы женщины сами знакомились с вами Как сделать идею коммерческой Как сделать хорошую растяжку ног? Как сделать наш разум здоровым? Как сделать, чтобы люди обманывали меньше Вопрос 4. Как сделать так, чтобы вас уважали и ценили? Как сделать лучше себе и другим людям Как сделать свидание интересным?


Категории:

АрхитектураАстрономияБиологияГеографияГеологияИнформатикаИскусствоИсторияКулинарияКультураМаркетингМатематикаМедицинаМенеджментОхрана трудаПравоПроизводствоПсихологияРелигияСоциологияСпортТехникаФизикаФилософияХимияЭкологияЭкономикаЭлектроника






Предупреждающие знаки





 

Знаки приоритета

Запрещающие знаки

Предписывающие знаки

Знаки особых предписаний



* Знаки индивидуального проектирования (здесь и далее).

Информационные знаки

Знаки сервиса

Знаки дополнительной информации (таблички)

Приложение В (обязательное)
Рисунки к правилам применения технических средств организации движения

Рисунок В.1 - Типовое размещение знаков в поперечном профиле дороги: а - вне населенных пунктов; б - в населенных пунктах; в - на обочине в стесненных условиях

Рисунок В.2 -Установка предупреждающих знаков: а - между основным знаком и началом опасного участка имеется перекресток; б - расстояние между перекрестком и опасным участком менее 20 м

Рисунок В.3 - Размещение знаков 1.4.1-1.4.6

Рисунок В.4 - Размещение знаков приоритета на главной дороге: а - в населенном пункте перед перекрестком, на котором главная дорога изменяет направление; б - в конце главной дороги. Пунктиром обозначены знаки, установка которых допускается

(Измененная редакция. Изм. № 1)

(Поправка. ИУС 4-2006)

Рисунок В.5 - Пример расстановки знаков 5.1 и 5.2

Рисунок В.6 - Примеры нанесения разметки на участках дорог с необеспеченной видимостью, где зоны видимости встречного автомобиля: а - перекрываются; б - не перекрываются

Рисунок В.7 - Пример нанесения разметки перед нерегулируемым перекрестком с ограниченной видимостью

Рисунок В.8 - Пример нанесения разметки при уменьшении количества полос для движения в одном направлении

Рисунок В.9 - Пример нанесения разметки на регулируемом перекрестке

Рисунок В.10 - Пример нанесения разметки канализированного пересечения

Рисунок В.11 - Пример разметки участка дороги со специальной полосой для маршрутных транспортных средств

Рисунок В. 12 - Пример нанесения разметки 1.16.1-1.16.3

Рисунок В. 13 - Пример нанесения разметки на площадках, предназначенных для стоянки транспортных средств

Рисунок В. 14 - Пример нанесения разметки в местах остановки маршрутных транспортных средств

Рисунок В. 15 - Пример нанесения разметки на участке съезда с автомагистрали

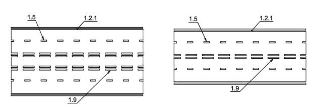
Рисунок В. 16 - Примеры нанесения разметки 1.9

Рисунок В. 17 - Примеры разметки участка дороги на подъезде к железнодорожному переезду

Рисунок В.18 - Пример размещения светофоров и нанесения разметки на регулируемом пешеходном переходе

Рисунок В.19 - Пример нанесения разметки 1.25

Рисунок В.20 - Пример нанесения разметки 2.1 и 2.2

Рисунок В.21 - Пример нанесения разметки 2.1.1, 2.1.3 и 2.7

Рисунок В.22 - Пример нанесения разметки 2.3-2.7

Рисунок В.23 - Примеры размещения светофоров различных типов и исполнений

Рисунок В.24 - Пример размещения светофоров: а - на перекрестке; б - на разделительной полосе и над проезжей частью

1 - проезжая часть; 2 - укрепительная полоса; 3 - недеформированное ограждение; 4 - деформированное ограждение; 5 - транспортное средство

Рисунок В.25 - Динамический прогиб ограждения

1 - проезжая часть; 2 - укрепительная полоса; 3 - недеформированное барьерное ограждение; 4 - деформированное барьерное ограждение; 5 - парапетное ограждение; 6 - основание ограждения; 7 - массивная опора; 8 - плита мостового сооружения

Рисунок В.26

1 - проезжая часть; 2 - бортовой камень; 3 - недеформированное ограждение; 4 - деформированное ограждение; 5 - подземные инженерные сети; 6 - тротуар; 7 - массивная опора; 8 - бровка земляного полотна или край подпорной стены; 9 - газон; 10 - полоса между тротуаром и бровкой земляного полотна

Рисунок В.27

1 - барьерное ограждение; 2 - парапетное ограждение; 3 - изгиб балки ограждения; 4 - стойка ограждения; 5 - отгон ограждения; 6 - понижение ограждения на начальном и конечном участках; 7 - бровка земляного полотна; 8 - основание; 9 - ось разделительной полосы; 10 - сближение рядов ограждения с осью разделительной полосы; - направление движения транспортных средств

Рисунок В.28

Рисунок В.29

Рисунок В.30

Приложение Г (справочное)
Разметка дорожная по ГОСТ Р 51256-99 Горизонтальная дорожная разметка








Date: 2015-09-02; view: 678; Нарушение авторских прав



mydocx.ru - 2015-2026 year. (0.759 sec.) Все материалы представленные на сайте исключительно с целью ознакомления читателями и не преследуют коммерческих целей или нарушение авторских прав - Пожаловаться на публикацию