Главная Случайная страница


Полезное:

Как сделать разговор полезным и приятным Как сделать объемную звезду своими руками Как сделать то, что делать не хочется? Как сделать погремушку Как сделать так чтобы женщины сами знакомились с вами Как сделать идею коммерческой Как сделать хорошую растяжку ног? Как сделать наш разум здоровым? Как сделать, чтобы люди обманывали меньше Вопрос 4. Как сделать так, чтобы вас уважали и ценили? Как сделать лучше себе и другим людям Как сделать свидание интересным?


Категории:

АрхитектураАстрономияБиологияГеографияГеологияИнформатикаИскусствоИсторияКулинарияКультураМаркетингМатематикаМедицинаМенеджментОхрана трудаПравоПроизводствоПсихологияРелигияСоциологияСпортТехникаФизикаФилософияХимияЭкологияЭкономикаЭлектроника






Конструкции окон





Стандартная конструкция заполнение проемов – оконный блок – состоит из стационарной контурной обвязки – оконной коробки, подвижно закрепленных на ней остекленных переплетов (створок), подоконной доски, наружного водослива. При площади проемов более 2 м2 для обеспечения жесткости коробки и для навешивания переплетов вводят вертикальные и горизонтальныне бруски – импосты и средники.

 

Рис. ХХ. Элементы оконного заполнения:

 

1 – подоконная доска; 2 – импост; 3 – створки переплета; 4 – оконная коробка; 5 – фрамуга; 6 – средник;

7 – наружный водослив

 

Оконные переплеты состоят из глухих (неоткрывающихся) или открывающихся створок. Для проветривания помещений оконные блоки имеют форточки или фрамуги (верхние части переплетов, поворачивающиеся вокруг горизонтальной грани).

Сечения обвязок могут быть с наплавом и без него. Наплавом называют выступающий край обвязки, закрывающий щель между переплетом и коробкой и обеспечивает непродуваемость окна. Для герметизации окон по периметру притворов створок располагают уплотняющие прокладки из пенополиуретана, пористой резины.

Подвижное крепление переплетов к коробкам может иметь различные варианты открывания: наружу или внутрь, вращением вокруг горизонтальной или вертикальной грани, либо вертикальной или горизонтальной оси створки; реже – откатные или подъемные. Наиболее распространено открывание внутрь. Однако для свободного открывания внутрь помещения габариты наружных переплетов должны быть меньше на 50÷70 мм внутренних (такое различие в в размерах называют «рассветом»). В наружных переплетах нижние обвязки створок, фрамуг и форточек имеют с наружной стороны выступы (или прикрепленные фигурные бруски с капельниками) – отливы, предназначенные для стока дождевых вод.

По количеству створок окна, в зависимости от их размеров, могут быть одно-, двух- и трехстворчатыми.

 

Рис. ХХ. Деревянные оконные блоки:

а – с раздельными переплетами; б - со спаренными переплетами;1 – коробка; 2 - штапики; 3 – прорезь для отвода конденсата; 4 – утепляющая прокладка; 5 – наплав; 6 - внутренний переплет; 7 – наружный переплет; 8 – стяжной винт; 9 – отлив; 10 – желобок-капельник

 

По типу конструкции переплетов окна могут быть: с одинарными, спаренными, раздельными и раздельно-спаренными переплетами.

По виду остекления для зданий применяют окна:

– с одинарным остеклением (неотапливаемые здания);

– с двойным остеклением (отдельные стекла или стеклопакет);

– с тройным остеклением (стекло плюс однокамерный стеклопакет или
двухкамерный стеклопакет);

– с четверным остеклением (два однокамерных стеклопакета).

Оконные блоки выпускают с раздельными и спаренными переплетами, сближенными до соприкосновения и скрепленными для совместного открывания. Спаренные переплеты экономичней раздельных и более светоактивны. С точки зрения термического сопротивления наилучшей является конструкция с раздельным остеклением.

Оконные коробки бывают трех типов: раздельные, составные и цельные. Наибольшее распространение получили составные коробки, а при спаренных переплетах и стеклопакетах – цельные.

При установке деревянных оконных блоков в каменных стенах их изолируют от стен.

 

Рис. ХХ. схемы окон по конструкции переплетов и остекления

 

Коробку крепят гвоздями к деревянным пробкам в бетонных стенах или дюбелями. Защиту сопряжения коробки со стеной от инфильтрации в каменных стенах обеспечивают: верхняя и боковые четверти в проемах, заполнение зазоров между коробкой и стеной вспенивающимися синтетическими материалами и герметизирующими мастиками, специальные внутренние наличники или штукатурка откосов. Нижний откос цементируют и покрывают металлическим или пластиковым сливом.

Выбор материала переплетов производят с учетом назначения здания, размера световых проемов, ветровых нагрузок и экономического сравнения.

Деревянные переплеты обладают прочностью, легкостью, имеют большое термическое сопротивление. Недостатки – пороки древесины, гигроскопичность, горючесть.

Современные деревянные окна имеют ряд принципиальных отличий от традиционных окон, применявшихся в массовом строительстве прошлого века. Для изделий используют клееный брус, не имеющий сплошных протяженных волокон, а поэтому менее подверженный короблению и деформациям изгиба. Готовые профили подвергаются специальной пропитке, повышающей стойкость древесины к огню и гниению. Готовые изделия подвергаются защитно-декоративной отделке, подчеркивающей естественную структуру древесины.


В современной практике деревянные окна чаще применяются в сочетании алюминиевыми или пластиковыми отливами.

Стальные переплеты имеют большую прочность и жесткость, но малое термическое сопротивление и подвержены коррозии. В настоящее время применяются в основном в промышленных зданиях.

Алюминиевые профили долговечны, коррозиестойки, легче стальных, но менее жестки и теплопроводны.

 

 

Рис. ХХ. Поперечное сечение дерево-алюминиевого окна с одинарной створкой и двойным стеклопакетом

1 – стеклопакет; 2 – штапик с силиконовым герметиком; 3 – клееный профиль створки; 4 – водозащитный алюминиевый профиль; 5- уплотнитель; 6 – фурнитура; 7 – водоотлив; 8 – защитное покрытие; 9 – выборка подоконной четверти; выборка под отлив

 

Широкое распространение в настоящее время получили переплеты из поливинилхлорида (ПВХ) или, как их еще называют, пластиковые (металлопластиковые). Такие переплеты стойки к воздействию влаги и коррозии, герметичны, долговечны, экономны в эксплуатации, индустриальны производстве и монтаже. Жесткость профилей переплетов усиливают металлическими элементами-сердечниками. Следует отметить, что начиная с температуры +40оС, начинается снижение прочностных свойств ПВХ, а вблизи +80оСнаходится точка его размягчения. В связи с этим недопустимо применение ПВХ-окон в помещениях с повышенным температурным режимом.

Для изготовления отдельных элементов окон применяются полые многокамерные пластиковые профили, получаемые методом экструзии. Соединение отдельных профилей рамы и створок производится сваркой встык при помощи нагревательного элемента.

Оконные проемы могут быть заполнены несколькими оконными блоками в различных комбинациях, в том числе и совместно с балконной дверью. Друг с другом блоки скрепляют болтами. Зазоры между блоками утепляют, герметизируют и зашивают досками (накладками) с обеих сторон.

Конструкция балконной двери имеет одинаковые с окном решения переплетов, коробки и светопрозрачной части.

 

 

а)

 

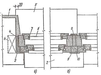
Рис. ХХ. Установка оконного блока с раздельными переплетами в

кирпичной стене

1 – цементный раствор; 2 – слив из оцинкованной сьали; 3 – заделка вспенивающимися синтетическими материалами; 4 – гидроизоляция; 5 – подоконная плита; 6 - антисептированная пробка; 7 – штапик; 8 – стекло; 9 – рейка; 10 – деревянный импост

 

 

Рис.ХХ. Установка окнной коробки из ПВХ в трехслойную бетонную стену

 

1 – профиль коробки; 2 – расширительный профиль; 3 – уплотнительный шнур; 4 – утеплитель; 5 – наличник; 6 – пароизоляция; 7 – силиконовый герметик; 8 –уплотняющая прокладка; 9 – антисептированный брус;
10 – гидроизоляция; 11 – монтажный анкер; 12 – гипсокартон; 13 – окрасочная пароизоляция; 14 – антисептированная доска.

 







Date: 2015-09-02; view: 1943; Нарушение авторских прав



mydocx.ru - 2015-2026 year. (0.077 sec.) Все материалы представленные на сайте исключительно с целью ознакомления читателями и не преследуют коммерческих целей или нарушение авторских прав - Пожаловаться на публикацию