Главная Случайная страница


Полезное:

Как сделать разговор полезным и приятным Как сделать объемную звезду своими руками Как сделать то, что делать не хочется? Как сделать погремушку Как сделать так чтобы женщины сами знакомились с вами Как сделать идею коммерческой Как сделать хорошую растяжку ног? Как сделать наш разум здоровым? Как сделать, чтобы люди обманывали меньше Вопрос 4. Как сделать так, чтобы вас уважали и ценили? Как сделать лучше себе и другим людям Как сделать свидание интересным?


Категории:

АрхитектураАстрономияБиологияГеографияГеологияИнформатикаИскусствоИсторияКулинарияКультураМаркетингМатематикаМедицинаМенеджментОхрана трудаПравоПроизводствоПсихологияРелигияСоциологияСпортТехникаФизикаФилософияХимияЭкологияЭкономикаЭлектроника






Тренировочный управляемый парашют Д-1-5у





Тренировочный управляемый парашют Д-1-5у предназначен для первоначального обучения прыжкам, а также для восстановления утраченных навыков в выполнении прыжков с парашютом. Этому способствуют небольшая скорость снижения и горизонтального перемещения парашюта, высокая надежность его работы, управляемость, плавность раскрытия и устойчивость при снижении.

Парашют может применяться в трех вариантах раскрытия:

* принудительное раскрытие ранца парашюта и стягивание чехла с купола вытяжной веревкой;

* принудительное раскрытие ранца со стягиванием чехла с купола вытяжным парашютом;

* раскрытие ранца вытяжным кольцом.

 

Самый простой и надежный способ раскрытия парашюта - первый из названных, он применяется для первоначального обучения прыжкам с парашютом. В учебном пособии мы рассмотрим комплектацию и укладку парашюта применительно к данному способу раскрытия.

 

Парашют Д-1-5у обеспечивает:

1. Нормальную работу при следующих условиях:

* при весе парашютиста с парашютами не более 120 кг;

* при выполнении учебно-тренировочных прыжков на скоростях до 250 км/час по прибору на высотах до 1000 м.

2. Минимально-безопасную высоту прыжка из горизонтально летящего самолета на скорости 180 км/час по прибору при немедленном введении парашюта в действие-150 м.

3. Вертикальную скорость снижения-5 м/c.

4. Устойчивость при снижении.

5. Горизонтальную скорость-до 2,47м/с.

6. Время разворота на 360°-не более 18 сек.

7. Применение запасного парашюта З-5.

8. Вес парашюта не более 17,5 кг.

Максимальная перегрузка в момент наполнения купола не более 10.

Описание парашюта.

(Для выполнения прыжков с принудительным раскрытием ранца парашюта и стягиванием чехла с купола вытяжной веревкой).

 

В комплект парашюта входят следующие части:

1. Купол со стропами 82,5 кв. м.

2. Подвесная система.

3. Ранец.

4. Чехол купола.

5. Вытяжной трос.

6. Вытяжная веревка.

7. Переносная сумка.

8. Формуляр (паспорт).

 

НАЗНАЧЕНИЕ И УСТРОЙСТВО ЧАСТЕЙ ПАРАШЮТА.

 

Купол парашюта (рис. 8) предназначен для безопасного снижения и приземления парашютиста. Площадь купола - 82,5 кв. м. Форма купола - правильный 28-ми угольник. Купол изготовлен из хлопчатобумажной ткани с антигнилостной пропиткой. Сверху на купол нашит усилительный каркас из капроновой ленты. Он предназначен для равномерного распределения нагрузки на ткань купола и локализации порывов, в случае их возникновения. В центре купола имеется полюсное отверстие, предназначенное для обеспечения устойчивого, без раскачивания, снижения. Пересечением лент усилительного каркаса на полюсном отверстии образуется полюсная уздечка. У нижней кромки купола ленты усилительного каркаса образуют 28 петель для крепления строп. Между стропами на внешней стороне купола у нижней кромки нашиты 25 карманов для ускорения процесса наполнения купола. На куполе, для создания горизонтальной скорости, имеются три щели, они расположены между стропами NN 27-28; 28-1; 1-2.

Рис. 8

Для управления парашютом (его горизонтальной скоростью) используются стропы управления. Они крепятся к основным стропам NN 26,27, 28 и 1, 2, 3 в нижней их трети и заканчиваются пластмассовыми клевантами на свободных концах подвесной системы парашюта.

Основные стропы купола (28 шт.) длиной 8 м.87 см. изготовлены из хлопчатобумажного шнура прочностью 125 кг. на разрыв. У нижней кромки купола они крепятся к петлям, образованным лентами усилительного каркаса, а вторым концом - к полукольцам на свободных концах подвесной системы.

Подвесная система (Рис. 9)- является соединительным звеном между куполом парашюта со стропами и парашютистом и служит для равномерного распределения нагрузки в момент раскрытия купола парашюта. К подвесной системе монтируется ранец, а к свободным концам присоединяются стропы купола.

 

Подвесная система изготовлена из капроновой ленты прочностью 1600кг. Состоит из главной круговой лямки (1), начинающейся и заканчивающейся свободными концами (2) и проходящей под телом парашютиста; двух наспинно-плечевых обхватов (3) (левого и правого), образующих грудную перемычку (4), переходящую в поясной обхват (5); двух ножных обхватов (6).

Рис. 9

На подвесной системе расположены:

* полукольца крепления строп (7);

* металлические пряжки, для регулировки системы по росту и размеру (8);

* D-образные пряжки с карабинами, для застегивания системы (9);


* скобы крепления промежуточной подвесной системы запасного парашюта.

 

Ранец (рис. 10) - предназначен для укладки в него купола в чехле, части строп и свободных концов подвесной системы. Изготовлен из авизента, имеет конвертообразную форму (двойное днище с рамой жесткости и четыре клапана). Быстрое раскрытие клапанов ранца обеспечивается ранцевыми резинами.

Рис. 10

Для удержания клапанов ранца в закрытом положении на них расположено замыкающее приспособление состоящее из:

* шнурового кольца;

* двух конусов;

* четырех люверсов с пришивной шайбой;

* одной пряжки-люверса.

Для упорядочения процесса укладки и раскрытия к днищу ранца с внутренней стороны пришит карман из х/б ткани. С внешней стороны к днищу пришиты ленты для крепления подвесной системы.

На боковые клапаны с внешней стороны нашиты две косынки с пряжками, предназначенные для крепления ранца запасного парашюта.

 

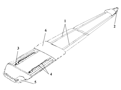
Чехол купола (рис. 11)- предназначен для укладки в него купола парашюта, что упорядочивает процесс раскрытия и способствует уменьшению случаев перехлестывания купола стропами.

Чехол изготовлен из ткани (перкаля или капрона) оранжевого цвета, имеет форму рукава длиной 5,28 м и надевается на всю длину уложенного купола. По всей длине чехла нашиты усилительные ленты (1), которые в верхней его части образуют уздечку (2) для присоединения вытяжной веревки. В нижней части чехол имеет одну пару двойных съемных сот (3) и одиннадцать пар несъемных сот (4) для укладки строп и заканчивается фартуком (5) с двумя окнами. Над каждым окном имеется карман для укладки в него пучка строп. Пучки строп, вложенные в двойные съемные соты, зачековывают нижнюю часть чехла и препятствуют преждевременному выходу купола из чехла. Уложенные в соты пучки строп закрываются предохранителем строп (6), который защищает их от зацепления и преждевременного выдувания из сот воздушным потоком.

Рис. 11

Вытяжной трос предназначен для удержания в закрытом положении клапанов ранца. Он имеет три шпильки на одном конце, а на другом - петлю, с помощью которой соединяется с петлей вытяжной веревки. Вытяжной трос протянут через предохранительный чехол, который защищает обшивку самолета от возможных повреждений его шпильками после раскрытия ранца парашюта.

 

Вытяжная веревка служит для принудительного раскрытия ранца парашюта, вытягивания купола в чехле из ранца, строп из сот чехла и стягивания чехла с купола.

Она изготовлена из капроновой ленты прочностью 1200 кг на разрыв, длиной 3 м. На одном конце имеется карабин с защелкой предназначенный для зацепления его за трос внутри самолета, а на другом - петля для присоединения к уздечке чехла купола. На расстоянии 1,4 м от этой петли пристрочена вторая петля, которая служит для крепления петли вытяжного троса.

 

Обрывная стропа предназначена для соединения уздечки купола с петлей вытяжной веревки, удержания купола в чехле в натянутом состоянии при вытягивании строп из сот, что предотвращает проваливание вершины купола книзу чехла с последующим его выворачиванием и уменьшает вероятность перехлестывания его стропами. Она изготовлена из хлопчатобумажного шнура ШХБ-40, длиной 0,9 м.

 

Переносная сумка предназначена для размещения парашюта при хранении и транспортировке. Она имеет прямоугольную форму и имеет две ручки для транспортировки. Верхнее основание сумки стягивается шнуром.


 

Паспорт предназначен для записи сведений о приеме, передаче, эксплуатации и ремонте парашюта. Паспорт является неотъемлемой частью парашюта. Правила ведения паспорта изложены в самом паспорте.

 

 

ВЗАИМОДЕЙСТВИЕ ЧАСТЕЙ ПАРАШЮТА ПРИ РАСКРЫТИИ

 

Рассмотрим работу парашюта при выполнении прыжка с принудительной расчековкой ранца и стягиванием чехла с купола вытяжной веревкой.

При отделении парашютиста от самолета вытяжная веревка, прикрепленная при помощи карабина к тросу в кабине самолета, вытягивает шпильки троса из замыкающего приспособления, освобождает клапаны ранца, которые под действием ранцевых резин откидываются в стороны. Вытяжная веревка вытягивается на всю длину и, удерживая присоединенный к ее петле чехол с уложенным в него куполом вытягивает его из-под кармана на дне ранца. Далее расчековывается карман, свободные концы натягиваются и стропы выходят из сот чехла. Обрывная стропа натягивается, обрывается и купол выходит из чехла. После этого происходит наполнение купола парашюта. Вытяжная веревка с тросом и чехол купола остаются в самолете (рис. 12).

Рис. 12

При снижении на наполненном куполе отверстия, расположенные в задней половине купола по отношению к парашютисту, обеспечивают горизонтальное перемещение парашюта вперед.

 

 







Date: 2015-08-06; view: 3169; Нарушение авторских прав



mydocx.ru - 2015-2026 year. (1.143 sec.) Все материалы представленные на сайте исключительно с целью ознакомления читателями и не преследуют коммерческих целей или нарушение авторских прав - Пожаловаться на публикацию