Главная Случайная страница


Полезное:

Как сделать разговор полезным и приятным Как сделать объемную звезду своими руками Как сделать то, что делать не хочется? Как сделать погремушку Как сделать так чтобы женщины сами знакомились с вами Как сделать идею коммерческой Как сделать хорошую растяжку ног? Как сделать наш разум здоровым? Как сделать, чтобы люди обманывали меньше Вопрос 4. Как сделать так, чтобы вас уважали и ценили? Как сделать лучше себе и другим людям Как сделать свидание интересным?


Категории:

АрхитектураАстрономияБиологияГеографияГеологияИнформатикаИскусствоИсторияКулинарияКультураМаркетингМатематикаМедицинаМенеджментОхрана трудаПравоПроизводствоПсихологияРелигияСоциологияСпортТехникаФизикаФилософияХимияЭкологияЭкономикаЭлектроника






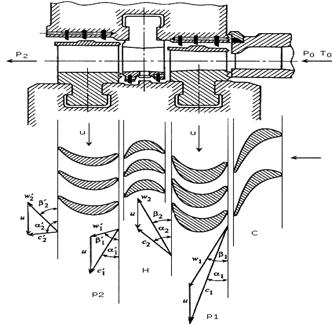
Конструкция и треугольники скоростей для двухвенечных ступеней





Проточная часть двухвенечной ступени

(решетки: C – сопловая, Р1 – рабочая первого венца, Н – направляющая, Р2 – рабочая второго венца)

. относительный лопаточный КПД для двухвенечной ступени

Геометрические характеристики решеток.

а) б) в)

Фрагмент кольцевой турбинной решетки (а), геометрические характеристики сопловых (б) и рабочих (в) лопаток (каналов) соответствующих решеток

d пер – периферийный диаметр решетки; dср – средний диаметр; dкор – корневой диаметр; l – высота лопаток; b1, b2 – хорды сопловой и рабочей лопаток; t1, t2 – шаги установки сопловых и рабочих лопаток в соответствующих решетках турбинной ступени; B1, B2 – ширина сопловой и рабочей решеток; bу,, aу, -углы установки. Углы направления входных кромок лопаток называют скелетными и обозначают a0ск и b1ск. шаг решетки,который равен t1 =pd1/z и аналогично для рабочей решетки.







Date: 2015-07-27; view: 798; Нарушение авторских прав



mydocx.ru - 2015-2026 year. (1.965 sec.) Все материалы представленные на сайте исключительно с целью ознакомления читателями и не преследуют коммерческих целей или нарушение авторских прав - Пожаловаться на публикацию