Главная Случайная страница


Полезное:

Как сделать разговор полезным и приятным Как сделать объемную звезду своими руками Как сделать то, что делать не хочется? Как сделать погремушку Как сделать так чтобы женщины сами знакомились с вами Как сделать идею коммерческой Как сделать хорошую растяжку ног? Как сделать наш разум здоровым? Как сделать, чтобы люди обманывали меньше Вопрос 4. Как сделать так, чтобы вас уважали и ценили? Как сделать лучше себе и другим людям Как сделать свидание интересным?


Категории:

АрхитектураАстрономияБиологияГеографияГеологияИнформатикаИскусствоИсторияКулинарияКультураМаркетингМатематикаМедицинаМенеджментОхрана трудаПравоПроизводствоПсихологияРелигияСоциологияСпортТехникаФизикаФилософияХимияЭкологияЭкономикаЭлектроника






Электронные УЗО





Устройство и принцип действия УЗО.

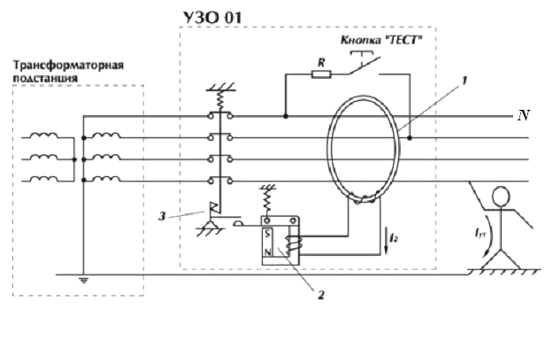
Устройство УЗО демонстрирует Рисунок 1.

Рисунок 1. Устройство электромеханического дифференциального УЗО.

Нормальный режим работы УЗО.

Характеризуется тем, что результирующий магнитный поток 4-ех проводов электросети, пропущенных через магнитопровод 1, равен нулю или недостаточен для срабатывания электромагнитной защелки 2. Это условие выполняется при любом распределении нагрузки (одно-, двух-, трехфазная), так как любой ток, прошедший слева направо по схеме, вернется и обратно – на магнитопроводе ничего не наведется (магнитные потоки токов «туда» и «обратно» взаимно уничтожатся, ток I2 равен нулю).

Срабатывание УЗО.

Происходит, если появляется ток утечки - Iут, то есть появляется электрическая связь между цепью, защищенной данным УЗО и любой другой цепью. В результате такой связи какая-то часть тока, проходящего через УЗО, вернется к источнику тока (на рисунке – «трансформаторная подстанция») помимо УЗО. В этом случае на магнитопроводе 1 образуется магнитный поток, пропорциональный току утечки, что, в свою очередь, наведет ток I2, который вызовет срабатывание электромагнитной защелки 2, которая при помощи механизма расцепления 3 отключит защищаемый участок сети (то, что правее по рисунку) от источника тока («трансформаторная подстанция»).
Ток утечки- Iут также называется дифференциальным (разностным, IД или IΔ) током.

Электронные УЗО.

Наиболее дорогая часть УЗО – магнитопровод 1, так как для срабатывания электромагнитной защелки 2 магнитопровод должен иметь очень хорошее качество (или большие габариты). Удешевить магнитопровод оказалось возможно, если питать электромагнитную защелку не от тока I2, а непосредственно от сети, а от I2 питать только электронный ключ, управляющий защелкой. Таким образом, электронные УЗО имеют существенный конструктивный недостаток – при ухудшении качества питающей сети (пропадание ноля, падение напряжения) они не отключаются даже в случае возникновения тока утечки.







Date: 2015-07-27; view: 422; Нарушение авторских прав



mydocx.ru - 2015-2026 year. (0.472 sec.) Все материалы представленные на сайте исключительно с целью ознакомления читателями и не преследуют коммерческих целей или нарушение авторских прав - Пожаловаться на публикацию