Главная Случайная страница


Полезное:

Как сделать разговор полезным и приятным Как сделать объемную звезду своими руками Как сделать то, что делать не хочется? Как сделать погремушку Как сделать так чтобы женщины сами знакомились с вами Как сделать идею коммерческой Как сделать хорошую растяжку ног? Как сделать наш разум здоровым? Как сделать, чтобы люди обманывали меньше Вопрос 4. Как сделать так, чтобы вас уважали и ценили? Как сделать лучше себе и другим людям Как сделать свидание интересным?


Категории:

АрхитектураАстрономияБиологияГеографияГеологияИнформатикаИскусствоИсторияКулинарияКультураМаркетингМатематикаМедицинаМенеджментОхрана трудаПравоПроизводствоПсихологияРелигияСоциологияСпортТехникаФизикаФилософияХимияЭкологияЭкономикаЭлектроника






Теоретичні відомості. Під твердістю розуміють здатність металу перешкоджати впрова­дженню в нього під дією зовнішньої сили іншого





Під твердістю розуміють здатність металу перешкоджати впрова­дженню в нього під дією зовнішньої сили іншого, більш твердого тіла.

Для визначення твердості використовуються спеціальні прилади. Найширше застосовуються такі способи вимірювання твердості: удав­люванням стальної кульки (метод Бринелля); удавлюванням алмазного конуса (метод Роквелла).

Твердість методом Бринелля визначають удавлюванням стальної кульки в плоску поверхню, що випробовується, під впливом заданого навантаження протягом певного часу. Діаметр кульки, навантаження та тривалість витримки під навантаженням вибирають з таблиці 2.І.

Таблиця 2.1 – Вихідні дані та режими випробувань

Метали Інтервал твердості в числах Бринелля, МПа Мінімальна товщина дослідного зразка, мм Діаметр кульки D, мм Наванта­ження Р, кГ Тривалість витримки під наванта­женням, с  
Чорні 1400...4500 6-3 4-2 менше 2 2,5      
< 1400 більше 6 6-3 менше 3 2,5 62,5    
 
Кольорові > 1300 6-3 4-2 менше 2 2,5      
350-1300 9-5 6-3 менше 3 2,5 62,5    
80-350 більше 6 6-3 менше 3 2,5 62,5    

Число твердості за Бринеллем визначається як відношення прикладеного до зразка навантаження Р до площі сферичної поверхні відбит­ка F і позначається НВ:

(2.1)

 

де Р навантаження на кульку індентора, Н; F площа поверхні сферичного сегменту відбитку від впровадження кульки; D – діаметр кульки, що вдавлюється в матеріал, мм; d діаметр отриманого відбитка, мм.

Щоб не вдаватись до тривалих обчислень твердості за формулою (2.1), на практиці число твердості НВ визначають, знаючи умови випробовування та користуючись спеціальною таблицею.

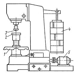
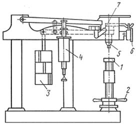
Визначення твердості за методом Бринелля виконують за допомогою приладу ТШ-2 (рисунок 2.1).

 

 

Рисунок 2.1 - Прилад для визначення Рисунок 2.2 - Прилад для визначення

твердості за Бринеллем твердості за Роквеллом

 

Зразок, що випробовується, розташовують на столику 2 і поворотом маховика 1 піднімають до дотику із кулькою індентора 3. Потім включають електродвигун 5 і поступово вдавлюють кульку під дією вантажу 4. Після дії навантаження протягом певного часу (таблиця 2.1) вал двигуна починає обертатися у зворотному напрямку і навантаження знімається.

Діаметр отриманого відбитка вимірюють спеціальною лупою (мікро­скопом Бринелля) у двох взаємно перпендикулярних напрямах і визна­чають середнє арифметичне двох вимірювань.

Випробовування на твердість за методом Роквелла (рисунок 2.2) виконують удав­люванням у зразок (деталь), що випробовується, алмазного конуса (конус може бути не лише алмазним, а й з твердого сплаву) з кутом при вершині 120° або сталевої загартованої кульки діаметром 1/16″ (1,588 мм) і визначають за глибиною відбитку при вдав­люванні у зразок (деталь). Прилад Роквелла має індикатор годинникового типу. На йoro циферблаті є дві кольорові шкали (червона та чорна). На чорній шкалі є дві буквені шкали ("А" і "С"), на червоній одна буквена шкала ("В"). Якщо твердість виробів випробовується за шкалами "А" і "С", то наконечником служить алмазний конус, якщо за шкалою "В" кулька з карбіду вольфраму або сталева (загартована). Шкала "А" вико­ристовується для випробовування надтвердих сплавів, що мають твер­дість НВ >7000 МПа, а також тонкого листового матеріалу чи тон­ких виробів товщиною 0,3...0,5 мм. Шкала "В" застосовується для випробо­вування кольорових металів і сплавів, твердість яких не перевищує НВ 2300 МПа, та для виробів товщиною 0,8...2,0 мм. Шкала "С" застосо­вується за випробовування загартованих сталей, твердість яких не пе­ревищує НВ 7000 МПа, а також для виробів товщиною більше 0,5 мм.

На станині приладу розташований предметний столик 1. У верхній частині приладу розташовані індикатор 6, масляний регулятор 4, шток з індентором (алмазним наконечником або стальною кулькою) та рукоятка 7. Столик 1 переміщується обертанням маховика 2, а навантаження створюється важками 3.

Шліфований з обох боків зразок встановлюють на столик 1 і поворотом маховика 2 піднімають до дотику з наконечником та подальшим підніманням до тих пір, поки маленька стрілка не співпадає з червоною точкою на циферблаті. Це означає, що на зразок створене попереднє навантаження. При цьому велику стрілку індикатора слід встановити на нульову позначку.


Кульку або конус удавлюють у досліджуваний зразок під впливом двох послідовних наван­тажень попереднього Р0 та основного Р1. Тоді, загальне навантаження:

 

P = P0 + P1. (2.2)

 

Попереднє навантаження Р0 завжди дорівнює 98 Н (10 кГ), а за­гальне навантаження складає: при тиску стальної кульки за шкалою "В" 981 Н (100 кг); при тиску алмазного конуса за шкалою "С" 1471 Н (150 кГ) та за шкалою "А" 588 Н (60 кГ).

Залежно від того, що застосовується (кулька чи алмазний ко­нус), а також від навантаження, при якому виконується випробовування, тобто від шкали "В", "С" або "А" число твердості позначається відповідно HRB, HRC, HRA.

Прилад типу Роквелла застосовується ширше, ніж прилад типу Бринелля, оскільки дає можливість випробовувати м’які, тверді та тонкі матеріали. Відбитки конуса чи кульки, що вдавлюється, дуже малі, тому готові деталі можна випробовувати без їх руйнування.

Випробовування легко виконується, та на нього витрачається небагато часу (кілька секунд); при цьому немає потреби нічого вимірювати чи обчислювати, а число твердості читається прямо на шкалі.

Таким чином, число твердості за Бринеллем визначають за розмірами (за діаметром) відбитка, що утворився внаслідок дії навантаження, а за методом Роквелла – за величиною переміщення індентора під дією різниці навантажень: загального та попереднього.

Заслуговує на увагу сучасні мобільні універсальні твердоміри, що працюють з ультразвуковими та динамічними датчиками, зокрема, твердомір NOVOTEST T-Д2 з динамічним датчиком [тексти лекцій].

 







Date: 2015-07-25; view: 514; Нарушение авторских прав



mydocx.ru - 2015-2026 year. (0.343 sec.) Все материалы представленные на сайте исключительно с целью ознакомления читателями и не преследуют коммерческих целей или нарушение авторских прав - Пожаловаться на публикацию