Главная Случайная страница


Полезное:

Как сделать разговор полезным и приятным Как сделать объемную звезду своими руками Как сделать то, что делать не хочется? Как сделать погремушку Как сделать так чтобы женщины сами знакомились с вами Как сделать идею коммерческой Как сделать хорошую растяжку ног? Как сделать наш разум здоровым? Как сделать, чтобы люди обманывали меньше Вопрос 4. Как сделать так, чтобы вас уважали и ценили? Как сделать лучше себе и другим людям Как сделать свидание интересным?


Категории:

АрхитектураАстрономияБиологияГеографияГеологияИнформатикаИскусствоИсторияКулинарияКультураМаркетингМатематикаМедицинаМенеджментОхрана трудаПравоПроизводствоПсихологияРелигияСоциологияСпортТехникаФизикаФилософияХимияЭкологияЭкономикаЭлектроника






А Основные положения расчета





 

Расчет свайных фундаментов и их оснований производят по двум группам предельных состояний:

- По первой группе – по НС грунта основания свай; по устойчивости грунтового массива со свайным фундаментом…; по прочности материала свай и ростверков

- По второй группе – по осадкам свайного фундамента от вертикальных нагрузок; по перемещениям свай совместно с грунтом оснований от горизонтальных нагрузок и моментов; по образованию или раскрытию трещин в элементах железобетонных конструкций свайного фундамента

· Расчет по НС грунта основания заключается в выполнении условия

N – расчетная нагрузка, передаваемая на сваю,

Fd – НС сваи,

– коэффициент надежности, принимаемый равным от 1,2 до 1,4 в зависимости от метода, которым была определена НС сваи

 

· Расчет свайного фундамента по предельной составляющей второй группы (по деформациям) производят исходя из условия

или же ;

осадка при действии вертикальных нагрузок

горизонтальное перемещение и угол поворота сваи, при действии горизонтальных нагрузок и моментов

 

Б Определение числа свай в фундаменте и размещение их в плане

- Центрально нагруженный свайный фундамент

· Зная Fd – несущую способность сваи и принимая, что ростверк обеспечивает равномерную передачу нагрузки на все сваи фундамента, необходимое число свай (n) в кусте или на 1 м/п (в ленточном фундаменте) определяют по формуле

– то же

- рассчетная нагрузка на куст или на 1 погонный метр

· Для куста свай полученное по формуле число свай округляют в сторону увеличения до целого числа

· Сваи в ростверке располагают компактно (а = 3 d) по прямоугольной сетке или в шахматном порядке т.к. при а<3 d – трудно или невозможно забить сваи из-за чрезмерного уплотнения окружающего грунта (межсвайного пространства), а при а>3 d – увеличиваются размеры ростверка.

· Расстояние от крайнего ряда свай до края ростверка 1 d.

· Ростверки кустов свай конструируются как обычные фундаменты мелкого заложения и рассчитываются на продавливание колонной или угловой сваей, на на поперечную силу в наклонных сечениях и на изгиб по СниП «Железобетонные конструкции».

· Если сваи куста работают только на сжимающую нагрузку, то достаточно их заделки в ростверк на 5…10 см, если же сваи воспринимают выдергивающие нагрузки или моменты, то их связь с ростверком делают более надежной, для чего оголовки свай разбивают и обнаженную арматуру замоноличивают в бетон ростверка.

· После размещения свай в плане и уточнения габаритных размеров ростверка определяют нагрузку N приходящуюся на каждую сваю, и проверяют условие

N - нагрузка на каждую сваю в ростверке

· Если условие не выполняется, то необходимо выбрать или другой тип свай, имеющий более высокую НС, или увеличить число свай в фундаменте и повторить расчет.

· Для свайного фундамента под стену (ленточного свайного фундамента) число свай на 1 п.м. может быть дробным. Тогда расчетное расстояние между осями свай по длине стены определяется по формуле

· Полученный результат округляют до кратного 5 см. В зависимости от а определяется число рядов свай. Различают: однорядное, шахматное и двухрядное.

· Из-за значительного увеличения размера ростверка принимают, как правило, не более двух рядов свай.

Если же по расчету получается а<1,5 d, то лучше увеличить длину свай или ее сечение, т.е. НС.

· Железобетонные ростверки ленточных свайных фундаментов рассчитывают как неразрезные многопролетные балки в соответствии с требованиями СниП «Железобетонные конструкции».

 

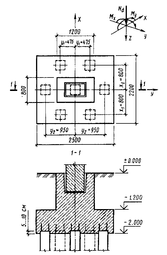
- Внецентренно нагруженный свайный фундамент

· Предварительное число свай при внецентренном нагруженным свайном фундаменте определяют, так же как и при центральной нагрузке


 

 

а затем увеличивают ≈ на 20%.

· Расчетную нагрузку, приходящуюся на отдельную сваю, в общем случае, когда моменты действуют в направлении двух осей, определяют по формуле внецентренного сжатия

 

 

 

-расчетная нагрузка на сваю при внецентренном сжатии

где , Mx, My – соответственно расчетная вертикальная нагрузка кН, и расчетные изгибающие моменты кН·м, относительно главных центральных осей х и у плана своей в плоскости подошвы ростверка(рис.):

n – число свай в фундаменте;

x1, y1 – расстояния от главных осей до оси каждой сваи, м;

x, y – расстояния от главных осей до оси каждой сваи, для которой вычисляется расчетная нагрузка, м


 

 

Рис. 11.16. Внецентренно нагруженный свайный фундамент

 

· Максимальное усилие на сваю, найденное по этой формуле, должно удовлетворять условию


 

При кратковременных (ветровых, крановых и т.п.) и особых нагрузках допускается перегрузка крайних свай на 20%.

Если условие не выполняется необходимо увеличить число свай в фундаменте или расстояние между ними.

 







Date: 2015-07-24; view: 794; Нарушение авторских прав



mydocx.ru - 2015-2026 year. (0.573 sec.) Все материалы представленные на сайте исключительно с целью ознакомления читателями и не преследуют коммерческих целей или нарушение авторских прав - Пожаловаться на публикацию