Главная Случайная страница


Полезное:

Как сделать разговор полезным и приятным Как сделать объемную звезду своими руками Как сделать то, что делать не хочется? Как сделать погремушку Как сделать так чтобы женщины сами знакомились с вами Как сделать идею коммерческой Как сделать хорошую растяжку ног? Как сделать наш разум здоровым? Как сделать, чтобы люди обманывали меньше Вопрос 4. Как сделать так, чтобы вас уважали и ценили? Как сделать лучше себе и другим людям Как сделать свидание интересным?


Категории:

АрхитектураАстрономияБиологияГеографияГеологияИнформатикаИскусствоИсторияКулинарияКультураМаркетингМатематикаМедицинаМенеджментОхрана трудаПравоПроизводствоПсихологияРелигияСоциологияСпортТехникаФизикаФилософияХимияЭкологияЭкономикаЭлектроника






Приступаем к черчению таблицы





 

Выполните операцию «Рисование -> Таблица…» или

вкладка «Аннотации» –> панель «Таблицы» –> пиктограмма .

Откроется окно «Вставка таблицы».

 

3.3.1. В области «Параметры вставки» установите переключатель в положение: «С пустой таблицы».

 

3.3.2. В группе «Способ вставки» установите переключатель в положение :«Запрос занимаемой области» (чтобы указать рамкой две точки диагонали, определяющей габариты таблицы).

В группе «Параметры столбцов и строк» установите:

o количество «Столбцов:» – 3;

o «Высота строки:» – 2 (количество строк текста).

В области «Стиль таблиц» нажмите кнопку «Вызов диалогового окна стилей таблиц». Откроется окно «Стили таблиц».

 

3.3.3. В окне «Стили таблиц» нажмите кнопку «Редактировать…».

В окне «Изменение стиля таблиц: План коттеджа» проверьте и скорректируйте настройки также как при создании нового стиля:

Например, для стиля ячеек:

· «Название» таблицы: «Высота текста» - 250;

· «Заголовок» столбцов: «Высота текста» - 200;

· «Данные»: «Высота текста» - 150.

Нажмите «ОК».

Нажмите кнопку «Закрыть».

Нажмите кнопку «ОК».

3.3.4. На запрос: «Первый угол»,– щёлкните в левом верхнем углу того места, где будет размещена таблица.

На запрос: «Противоположный угол»,– щёлкните таким образом, чтобы образовалось достаточное количество строк в будущей таблице.

 

3.3.5. Теперь мы окажемся в текстовом редакторе (после двойного щелчка в зоне таблицы).

· Курсор находится в начале заголовка таблицы. Введите заголовок: «Экспликация помещений». Закончите ввод нажатием клавиши «Tab».

· В результате мы перейдем к вводу названия первого столбца. Ввести заголовок первого столбца «№». Закончите ввод нажатием клавиши «Tab».

· В итоге мы перешли к вводу названия второго столбца. Введите заголовок второго столбца: «Наименование помещения». Закончите ввод нажатием клавиши «Tab».

· В итоге мы перешли к вводу названия третьего столбца. Введите заголовок третьего столбца: «Площадь». Закончите ввод нажатием клавиши «Tab».

 

 

4. Создание поля «Площадь».

 

В таблице осталось ввести значения площадей. Сделаем это, не выходя из текстового редактора.

Если вы вышли из операции формирования таблицы, то продолжите ее заполнение, выделив ту ячейку таблицы, в которую хотите поместить значение площади.

В результате выделения вы увидите четыре маркера. Двойной щелчок в поле таблицы вызывает текстовый редактор.

4.1. По правой кнопке мыши вызовите операцию: «Вставить поле…».

В окне «Поле» установите:

4.1.1. в группе «Категории полей:» из списка выберите состояние: «Все»;

4.1.2. в группе «Имена полей» выберите: «Объект»;

4.1.3. около поля «Тип объекта:» нажмите кнопку: «Выбор объекта»;

4.1.4. на запрос: «Выберите объект:»,– щёлкните курсором на полилинию, ограничивающую помещение (например, спальни);

4.1.5. в группе «Свойство:» выберите – «Площадь»;

4.1.6. в группе «Формат:» установите – «Десятичные»;

4.1.7. нажмите кнопку «Дополнительный формат…» и в окне «Дополнительныйформат» установите:

    • коэффициент преобразования 0.000001 (это необходимо сделать, чтобы показывать площадь не в квадратных миллиметрах, а в квадратных метрах);
    • суффикс – «м2» (без кавычек).

4.1.8. Нажмите «ОК».

Нажмите «ОК».

 

 

4.2. Заполните таблицу данными.

 

Если необходимо обновить значение площади:

  • дважды щёлкните кнопкой мыши в поле таблицы на многострочном тексте, содержащем значение редактируемой площади (в результате откроется редактор многострочного текста);
  • в редакторе выделите текст редактируемого поля и щёлкните правой кнопкой мыши;
  • из контекстного меню выберите операцию «Обновить поле»

(в результате содержимое поля «Площадь» обновится).

 

 

 

 

5. Создание дверных блоков и вставка их по месту.

 

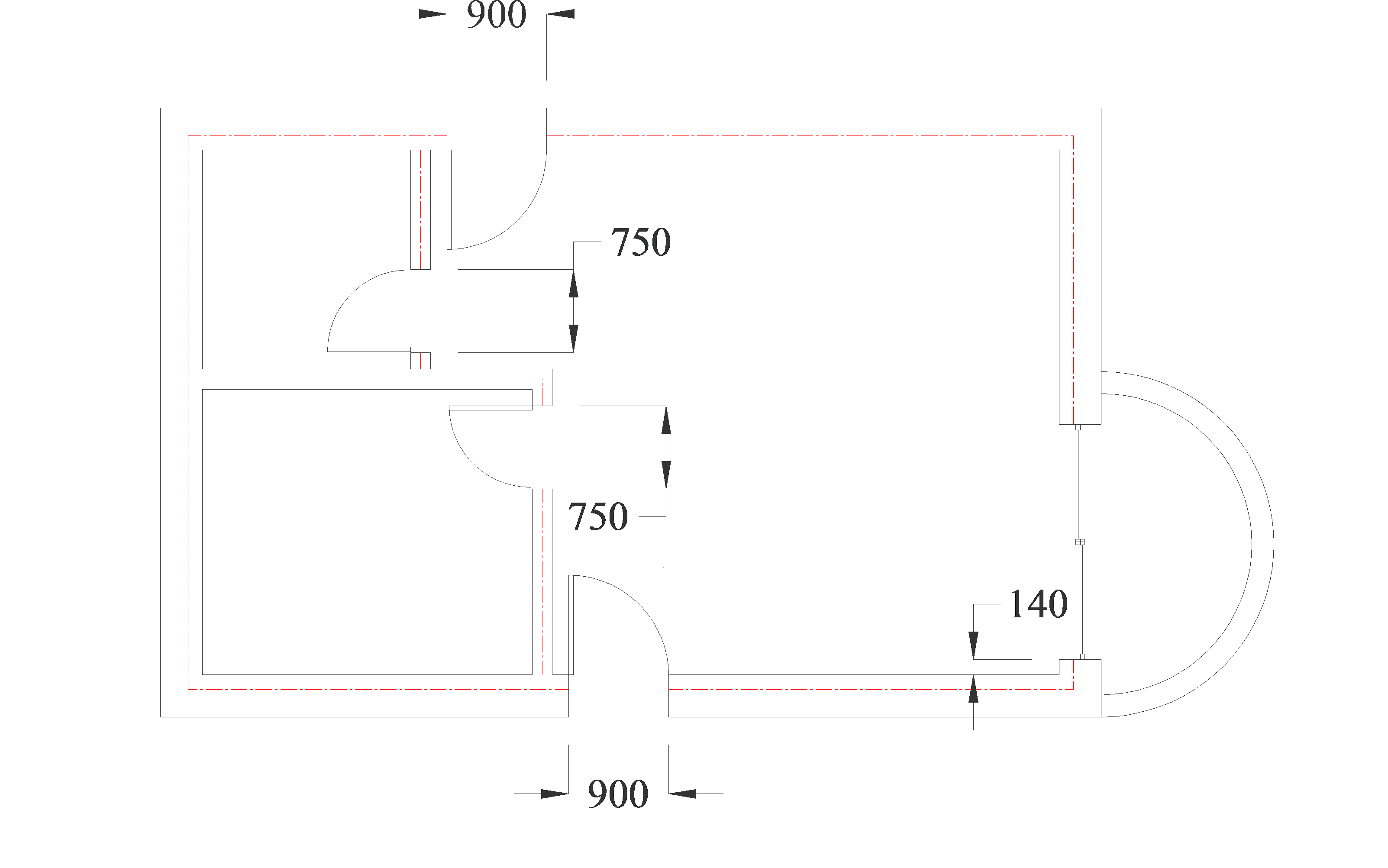
В проекте три типа дверей:

  • две двери распашные наружные с шириной полотна 90 см;
  • две двери распашные с шириной дверного полотна 75 см;
  • одна дверь раздвижная.

В связи с этим мы будем создавать два блока: «Дверь_90» и «Дверь_75». Раздвижную дверь построим прямо в плане.

 

5.1. Создайте слой «Двери». Цвет 34.

 

5.2. Сделайте текущим нулевой слой, т.к. блоки рекомендуется создавать в «нулевом» слое.

 

5.3. Блок «Дверь_90» постройте непосредственно в дверном проеме нижней части плана, чтобы не ошибиться в размере. Конструкцию двери смотрите ниже на рисунке (дверное полотно и след от распахнутой двери). Дверное полотно стройте инструментом «Прямоугольник».


 

5.4. Выполнить команды: «Рисование» -> «Блок» -> «Создать».

В окне «Описание блока»:

· Заполните поле «Имя блока»: «Дверь_90»;

· выделите дверь;

 

· нажав кнопку «Базовая точка», покажите внизу дверного полотна точку соприкосновения с дверным косяком.

5.5. Нажмите «ОК».

Таким образом, вы в проеме построите дверь и создадите блок «Дверь_90».

 

5.6. Перенесите построенную дверь в слой «Дверь».

 

5.7. Чтобы вставить аналогичную дверь в проеме с другой стороны плана:

o установите текущим слой «Дверь»;

o воспользуйтесь командой: «Вставка»-> «Блок»;

o в окне «Вставка блока»:

- в поле «Имя блока» установите «Дверь_90»;

- базовую точку привязки покажите на экране;

- т.к. дверь с заднего входа симметрична двери с переднего входа относительно оси Х, то в коэффициенте масштабирования по Y следует указать единицу со знаком минус;

- введите угол поворота – 0 градусов;

- нажмите «ОК».

На запрос: «Укажите базовую точку вставки»,– щёлкните в соответствующем углу откоса, привязавшись к нему объектной привязкой «Конечная точка».

 

5.8. Аналогично для второго типа двери выполните операции:

- начертите в «нулевом» слое дверь в дверном проеме в спальню;

- создайте блок по имени «Дверь_75»;

- перейдите на слой «Дверь» и перевести в него только что созданный блок;

- сделайте текущим слой «Дверь»;

- вставьте блок в проем ванной комнаты с коэффициентом масштабирования «– по оси Y.

 

5.9. Дверь на балкон стройте непосредственно в проеме в слое «Д верь». Конструкцию двери смотрите на рисунке внизу. Для удобства ее построения можно построить вспомогательную линию, соединяющую середины откосов дверного проема.

 

 

 

 

 

 







Date: 2015-07-22; view: 612; Нарушение авторских прав



mydocx.ru - 2015-2026 year. (0.309 sec.) Все материалы представленные на сайте исключительно с целью ознакомления читателями и не преследуют коммерческих целей или нарушение авторских прав - Пожаловаться на публикацию