Главная Случайная страница


Полезное:

Как сделать разговор полезным и приятным Как сделать объемную звезду своими руками Как сделать то, что делать не хочется? Как сделать погремушку Как сделать так чтобы женщины сами знакомились с вами Как сделать идею коммерческой Как сделать хорошую растяжку ног? Как сделать наш разум здоровым? Как сделать, чтобы люди обманывали меньше Вопрос 4. Как сделать так, чтобы вас уважали и ценили? Как сделать лучше себе и другим людям Как сделать свидание интересным?


Категории:

АрхитектураАстрономияБиологияГеографияГеологияИнформатикаИскусствоИсторияКулинарияКультураМаркетингМатематикаМедицинаМенеджментОхрана трудаПравоПроизводствоПсихологияРелигияСоциологияСпортТехникаФизикаФилософияХимияЭкологияЭкономикаЭлектроника






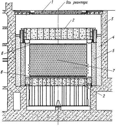
Конструкция защиты от ионизирующего излучения ректора





Поскольку реактор является мощным источником ионизирующего излучения, представляющего опасность, как для персонала, так и для оборудования он снабжен защитой, которая снижает поток излучения до приемлемого уровня и делает возможной нормальную эксплуатацию всей установки в целом. Реактор РБМК размещен в бетонной шахте квадратного сечения размером 21,6х21,6х25,5 м. Графитовые блоки, из которых собрана активная зона, располагаются в герметичной полости (реакторном пространстве), образованной нижней и верхней металлоконструкциями и цилиндрическим кожухом. Разрез по шахте реактора показан на рисунке 5. Радиационная защита стального кожуха и компенсаторов от потока быстрых нейтронов осуществляется боковым графитовым отражателем толщиной 100 см. Между торцевыми отражателями, имеющими толщину 50 см, и верхней и нижней металлоконструкциями на каждой графитовой колонне устанавливаются стальные блоки, предназначенные для снижения флюенса быстрых нейтронов на листы несущих нагрузку металлоконструкций, а также для уменьшения энерговыделения в них за счет поглощения излучений. Толщина нижних блоков 20 см; верхние блоки выбраны несколько большей толщины (25 см), поскольку в процессе работы реактора из-за неравномерного перемещения отдельных колонн графитовой кладки они могут сместиться относительно друг друга по высоте. Дальнейшее увеличение толщины этих блоков было признано нецелесообразным, так как радиационное энерговыделение в близлежащих к активной зоне листах металлоконструкций уже при этой толщине определяется захватным гамма - излучением, образующимся в самих листах металлоконструкций. При запроектированной толщине блоков температура листов металлоконструкций определяется не радиационным теплом, а теплом, переданным от стальных защитных блоков.

Рисунок 5. Защита реактора РБМК: 1 - плитный настил (тяжелый бетон, 4 т/м3); 2 - засыпка серпентинита (1,7 т/м3); 3 - обычный бетон (2,2 т/м3); 4 - песок (1,3 т/м3); 5 - бак водяной защиты; 6 - стальные защитные блоки; 7 - графитовая кладка.

Периферийная часть верхнего перекрытия представляет собой металлические короба высотой 70 см, которые заполнены на первом блоке Ленинградской АЭС материалом ЖБСЦК, а на последующие рекомендован более дешевый материал — смесь чугунной дроби (86% по массе) с серпентинитом.

В радиальном направлении за кожухом реактора располагается кольцевой бак с водой, которая снижает потоки излучения на бетон шахты; служит тепловым экраном; способствует охлаждению кожуха реактора; бак одновременно является опорой для верхней металлоконструкции. Пространство между баком и шахтой реактора засыпано обычным песком, что позволило сократить толщину бетона примерно на 75 см. Толщины и состав материалов защиты реактора РБМК в основных направлениях от активной зоны приведены в таблице 2.

 

Рисунок 6. Часть плитного настила: 1 - съемные блоки плитного настила; 2, 4, 5, 6 - верхние части каналов охлаждения отражателя, температурного, технологического и СУЗ соответственно; 3- нижний блок; 7 - периферийная часть верхнего перекрытия.

Таблица 2. Толщины, в сантиметрахм, материалов защиты (в направлении от центра активной зоны)

Материал Направление
Вверх Вниз Радиальное
Графит (отражатель)      
Сталь (защитные плиты и лист металлоконструкции)     4,5
Засыпка серпентинита (1,7 т/м3)     -
Вода - -  
Сталь (металлоконструкция)      
Песок (1,3 т/м3) - -  
Тяжелый бетон (4 т/м3)   - -
Обычный бетон (2,2 т/м3) - -  

В защите канального реактора РБМК имеются многочисленные неоднородности. Верхняя и нижняя опорные металлоконструкции пронизаны направляющими трубами, через которые проходят технологические каналы, каналы системы управления реактора и специальные каналы для датчиков температуры, детекторов нейтронного потока и др. Кроме того, через металлоконструкции проходят трубы подачи и отвода газа, парогазовой смеси, а также дренажные трубопроводы. Внутренняя полость технологических каналов с ТВС в верхней части заполнена малоэффективной по защите пароводяной смесью плотностью 0,2 г/см3, а в каналах специального назначения - газом.

При разработке конструкции каналов проектирование велось таким образом, чтобы ликвидировать прострел излучения по цилиндрическим и кольцевым отверстиям. Значительное снижение интенсивности излучения в верхнем направлении по зазору между трубами каналов диаметром 88 мм и отверстиями в графитовых блоках отражателя и защитных блоках диаметром 114 мм достигается благодаря установке в этом зазоре втулок из графита (смотри рисунок 7). Для защиты от прострела по зазору между трубой канала диаметром 95 мм и трактом с внутренним диаметром 121 мм в верхней металлоконструкции размещаются стальные втулки высотой 700 мм (смотри рисунок 8). Зазор между трубой канала и трактом в районе нижней металлоконструкции заполнен графитовыми втулками.


Рисунок 7. Размещение защитных втулок в районе верхнего отражателя: 1 — графитовые втулки; 2 — стальной защитный блок; 3 — графитовый отражатель.
Рисунок 8. Размещение защитной пробки в канале: 1 — стальные втулки, 2 — стальная винтовая пробка, 3 — труба канала, 4 — засыпка серпентинита.

 

Во внутренней полости канала в районе расположения стальной втулки размещена стальная пробка диаметром 80 мм и высотой 1 м. Для прохода пароводяной смеси пробка выполнена винтовой, эффективная толщина стали 0,5м (смотри рисунок 8). Защита от прострельного излучения, проходящего по каналам СУЗ в зависимости от положения стержня, обеспечивается либо столбом воды, либо стержнем-поглотителем, или вытеснителем, заполненным графитом. Газовые трубопроводы, проходящие через защитные конструкции, выполнены изогнутыми. В каналах с датчиками контроля энерговыделения, ионизационными камерами, в температурных каналах размещаются защитные пробки с уступами. Согласно проекту, стены боксов с технологическим оборудованием выполнены из обычного строительного бетона (смотри таблицу 3) объемной массой 2,2 т/м3.

Таблица 3. Характеристика защиты обслуживаемых помещений, смежных с боксами с технологическим оборудованием

Источник – оборудование Толщина бетонной защиты (см) Расчетная мощность дозы (мР/ч)
Барабан – сепараторы    
Боковые стены и нижние перекрытие   1,4
Торцевые стены   -
Верхнее перекрытие   -
Трубопроводы между сепараторами и ГЦН   1,4
Помещение ГЦН    
Стена около всасывающего коллектора   0,4
Верхнее перекрытие   -
Стена между боксами   -
Паропроводы барабан сепаратор – турбина   1,4
Подогреватели низкого давления   1,4
Деаэраторы   0,8






Date: 2015-07-24; view: 491; Нарушение авторских прав



mydocx.ru - 2015-2026 year. (0.825 sec.) Все материалы представленные на сайте исключительно с целью ознакомления читателями и не преследуют коммерческих целей или нарушение авторских прав - Пожаловаться на публикацию