Главная Случайная страница


Полезное:

Как сделать разговор полезным и приятным Как сделать объемную звезду своими руками Как сделать то, что делать не хочется? Как сделать погремушку Как сделать так чтобы женщины сами знакомились с вами Как сделать идею коммерческой Как сделать хорошую растяжку ног? Как сделать наш разум здоровым? Как сделать, чтобы люди обманывали меньше Вопрос 4. Как сделать так, чтобы вас уважали и ценили? Как сделать лучше себе и другим людям Как сделать свидание интересным?


Категории:

АрхитектураАстрономияБиологияГеографияГеологияИнформатикаИскусствоИсторияКулинарияКультураМаркетингМатематикаМедицинаМенеджментОхрана трудаПравоПроизводствоПсихологияРелигияСоциологияСпортТехникаФизикаФилософияХимияЭкологияЭкономикаЭлектроника






Характеристика технологічного об’єкта управління періодичної дії





Технологічний процес приготування хліба – це частина виробничого процесу, що складається з операцій, безпосередньо пов’язаних зі змінами стану, зовнішнього вигляду, розміру, форми, смаку, запаху, кольору, консистенції та інших властивостей сировини, продуктів і перетворення їх у готові вироби.

Об’єктом контролю вибрана піч хлібопекарська тунельного типу з газовим обігрівом.

Технологічна схема лінії по випічці хлібу включає в себе повітряний компресор, прийомний щиток, силоси,борошнопросіювачі, дозаторів-змішувачів, ресивер, повітряний фільтр, роторні живильники, ультразвукові сопла, просіювач з магнітним уловлювачем, автоматичні ваги, тістомісильні машини, тістоділильна машина,тістовироблююча машина, округлювальна машина “Формовщик”, закаточна машина, циркуляційний стіл,транспортер з люльками, шафи попередньої та остаточної витримок, хлібопекарська піч тунельного типу з газовими пальниками.

Піч хлібопекарська тунельного типу з газовим обігрівом марки Gostal має ряд переваг над іншими типами печей – легко піддаються автоматизації, забезпечують підтримку оптимальних параметрів пекарної камери по ходу процесу випічки, можуть бути швидко введені в робочий режим, що дає змогу випічку здійснити періодично. Тунельні печі забезпечують організацію технологічних ліній з прямолінійним виробничим потоком. Вони мають гнучкий тепловий режим та високий ККД.

Піч має два незалежні контури обігріву, кожний з яких забезпечений окремою топкою для згорання палива. Обігрівання пекарної камери здійснюється за рахунок рециркуляційних газів, продукту згорання палива, які по системі газопроводів поступають в канали обігріву.

Принцип роботи печі опишемо так: тістові заготовки переміщаються на транспортній стрічці через піч, яка має форму тунелю, проходячи через різні теплові зони, в яких відбувається випічка. На виході з печі хліб повністю випечений. Тунель зроблено таким чином, що гаряче повітря переміщується у верхній та нижній частинах тунелю. За допомогою спеціальних шиберів можна по бажанню регулювати притік гарячого повітря у верхню і нижню частину тунелю. Система обігріву основана на тязі, що повністю виключає проникнення гарячих димових газів в пічний простір.

Тунельні печі забезпечують організацію технологічних ліній з прямолінійним виробничим потоком.

На вхідному ділянці пекарної камери заготівлі протягом 2... 3 хв піддаються гігротермічної обробці зволожувальним пристроєм при температурі 100... 160 ° С і відносній вологості повітря 70... 85%. Випічка проводиться при змінному температурному режимі печі 150... 250 ° С протягом 10... 60 хв, в залежності від рецептури і маси порції випікається хліба.

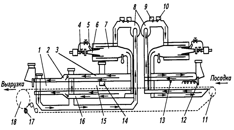
Принципова схема печі представлена на рис. 1.1. Обігрів пекарної камери (поз.1) здійснюється продуктами згоряння, які отримуються в двох топках (поз.7). Топки обладнані змішувальними камерами і інжекційними пальниками (поз.6). Продукти згоряння рухаються по металевих каналах (поз.2) і (поз.16), які огороджують пекарню камеру зверху і знизу. Через пекарню камеру проходить стрічковий конвеєр, що огинає приводний (поз.18) і натяжний (поз.11) барабани. Сітка стрічкового конвеєра очищається металевої круглою щіткою (поз.17).

Для зменшення вентиляції всередині пекарної камери передбачені два поворотних фартуха (поз.13), а в торцевих отворах - підйомні дверцята (поз.12). Для видалення зайвої вологи пекарня камера сполучена двома витяжними отворами і каналами (поз.14) з вентиляційною системою підприємства.

Піч обладнана двома обігрівальними системами.

Для спалювання газу застосовуються інжекційні пальники (поз.6) середнього тиску з ручним регулюванням витрати газу і автоматичним дозуванням первинного повітря. Пальники складаються з корпусу з чотирма соплами і самостійними змішувачами. Газ подається у корпус пальника через регулювальний кран (поз.4), його тиск контролюється манометром. У центрі пальника розміщений запальник (поз.5) із відокремленим підведенням газу.

Гарячі гази, що утворюються в топках, під впливом тяги, створюваної димососами (поз.8), проходять по металевих каналах (поз.3) і через їх стінки передають теплоту обом зонам пекарної камери. У кінці системи охолоджені гази поділяються на два потоки: один направляється в димову трубу через клапан (поз.10), а інший - у змішувальну камеру топки для охолодження її стінок і зниження температури топкових газів.

Обидві обігрівальні системи обладнані Тягоміри для контролю тяги в топках, термопарами і гальванометра для виміру температури газів в кінці змішувальних камер топок, вибуховими клапанами і електромагнітним клапаном для припинення подачі газу до пальників у випадках зупинки роботи димососів або при зниженні тиску в газоподачу нижче допустимої межі.


Перед розпалюванням печі системи продувають свіжим повітрям. Для цього клапан (поз.9) перекриває канал руху газів, і через патрубок (поз.15) вони викидаються назовні, а свіже повітря через топки надходить у систему і проходить по всіх каналах.

Рис. 1.1. Принципова схема печі

1 -пекарна камера; 2,3,16 -металеві канали; 4 -регулюючий кран; 5 -запальник;

6 -пальники; 7 -топки; 8 -димососи; 9,10,14 -клапани; 11 -натяжний барабан;

12 -підйомні дверцята; 13 -поворотній фартух; 1 5 -патрубок; 17 -металева кругла щітка; 18 -приводний барабан;

 

В таблиці 1.2 представлено технологічну карту.

Таблиця 1.2 - Технологічна карта

Параметр Од. вим-ння Номін. значення Допустиме відхилення
Температура І зони печі Температура II зони печі Температура III зони печі Температура IV зони печі Температура на виході з камери згорання 1-го купола Температура на виході з камери згорання 2-го купола Температура димових газів в рециркуляційних каналах 1-го купола Температура димових газів в рециркуляційних каналах 2-го купола Тиск в трубопроводі подачі газу до 1, 2 куполів Витрата газу до 1, 2 куполів при максимально відкритому клапану Витрата газу при мінімальному відкритті клапану Витрата вторинного повітря Вологість в пекарній камері ºС ºС ºС ºС ºС   ºС   ºС   ºС   Па   м3/год   м3/год   м3/год %               ±5 ±5 ±5 ±5 ±2,5   ±2,5   ±5   ±5   ±100   ±2   ±2   ±100 ±5

 

 







Date: 2015-07-24; view: 768; Нарушение авторских прав



mydocx.ru - 2015-2026 year. (0.056 sec.) Все материалы представленные на сайте исключительно с целью ознакомления читателями и не преследуют коммерческих целей или нарушение авторских прав - Пожаловаться на публикацию