Главная Случайная страница


Полезное:

Как сделать разговор полезным и приятным Как сделать объемную звезду своими руками Как сделать то, что делать не хочется? Как сделать погремушку Как сделать так чтобы женщины сами знакомились с вами Как сделать идею коммерческой Как сделать хорошую растяжку ног? Как сделать наш разум здоровым? Как сделать, чтобы люди обманывали меньше Вопрос 4. Как сделать так, чтобы вас уважали и ценили? Как сделать лучше себе и другим людям Как сделать свидание интересным?


Категории:

АрхитектураАстрономияБиологияГеографияГеологияИнформатикаИскусствоИсторияКулинарияКультураМаркетингМатематикаМедицинаМенеджментОхрана трудаПравоПроизводствоПсихологияРелигияСоциологияСпортТехникаФизикаФилософияХимияЭкологияЭкономикаЭлектроника






Розділ 2 опис установки

 

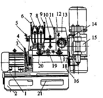
Буровий верстат СКБ-4 (рис. 2.1) є шпиндельним верстатом моноблочного компонування з поздовжнім розташуванням лебідки і гідравлічною системою подачі бурового інструменту.

1 - станина;2 - рама;3 - зчеплення;4 - рукоятка зчеплення;5 - рукоятка включення лебідки;6, 9 - важелі гальм підйому і спуску;7,8 - гальма підйому і спуску;10 - важіль коробки передач;11 - лебідка; 12- рукоятка роздавальної коробки;13- трансмісія;14-покажчик тиску;15-обертач; 16 - гідросистема верстата з автоперехватом; 17 - дросель; 18 - прилад керування; 19 - регулятор подачі; 20 - розподільник; 21 - циліндр переміщення верстата.

Рис. 2.1. Буровий верстат СКБ-4.

На станині зібрані: електродвигун, коробка передач зі зчепленням від автомобіля ЗІЛ-131, роздавальна коробка з закріпленим на її фланці вращателем, лебідка, гальма спуску і підйому, маслонасос з індивідуальним електроприводом, пульт керування гідросистемою, маслобак, ручної маслонасос і циліндр переміщення верстата з гідрозамки. Станина встановлена на рамі, яка є підставою верстата, що з'єднуються з підставою бурової установки або яким-небудь іншим фундаментом за допомогою анкерних болтів.

До особливостей верстата відносяться: висока частота обертання шпинделя і раціональний розподіл діапазону швидкостей; плавність подачі бурового інструменту з допомогою нової гідросистеми з напірним золотником і дроселем на зливі; можливість буріння снарядами зі знімним керноприемником (для чого збільшений діаметр прохідного отвору шпинделя); оснащення удосконаленою системою автоматичного перехоплення провідної труби в процесі буріння без зупинки обертання; установка покажчика тиску на вибій киловаттметра, які забезпечують достатню інформацію про технологічному процесі. У верстаті застосовані автомобільна коробка швидкостей і муфта зчеплення автомашини ЗІЛ-131, мають високу надійність.[1]

Гідросистемою верстата СКБ-4 виконуються такі операції, що застосовуються в технологічному процесі буріння свердловин:

1) підйом, зупинка і опускання шпинделя обертача з буровим снарядом або без нього в межах робочого ходу циліндрів подачі;

2) робоча подача бурового снаряда при бурінні;

3) визначення ваги бурового снаряда і встановлення необхідного осьового навантаження на породоруйнуючий інструмент з можливістю її контролю за вказівником навантаження;

4) «разхаживание» бурового снаряда в свердловині;

5) переміщення верстата до свердловини або від свердловини з автоматичним закріпленням (стопоренням) його на рамі в крайніх або проміжних положеннях;

6) здійснення автоматичного або ручного перехоплення бурового снаряда в процесі буріння без зупинки обертання;

7) здійснення зворотного перехоплення бурового снаряда;

8) розкріплення верхнього гідропатрона без закріплення нижнього.

При виконанні допоміжних робіт і в аварійних випадках підйом і опускання бурового снаряда, а також розкріплення верхнього патрона і переміщення верстата, можна проводити ручним маслонасосом.

Автоматичне або ручне перехоплення бурового снаряда в про-цесі буріння являє собою технологічний цикл операцій, виконуваних гідросистемою автоматично без зупинки обертання шпинделя в наступній послідовності:

а) при включенні перехоплення спочатку проводиться закріплення нижнього патрона, а потім розкріплення верхнього патрона і швидкий підйом траверси з розкріпленим верхнім набоєм;

б) при відключенні перехоплення спочатку проводиться закріплення верхнього патрона, а потім розкріплення нижнього патрона і продовження робочої подачі, встановленою до включення перехоплення.

При автоматичному перехопленні включення і відключення перехвата здійснюється автоматично від кінцевих вимикачів, встановлених на обертачі.

Гідравлічна система верстата СКБ-4 працює від здвоєного насоса, сполученого з маслобаком, всмоктуючим трубопроводом через приймальний фільтр. Насос подає масло в гідросистему двома незалежними потоками, утворюючи дві системи: систему патронів і систему подачі.

В системі патронів масло надходить від лівого (на схемі) насоса через фільтр і зворотний клапан в розподільник. Від розподільника масло подається на злив в бак через электрозолотник, або у розподільну плиту. Від розподільної плити масло може надходити у верхній патрон, нижній патрон і в порожнину управління золотника швидкого підйому.

В системі подачі масло надходить від правого (на схемі) насоса через зворотний клапан в прилад управління. Від приладу управління масло подається в циліндри подачі обертача, або в циліндр переміщення верстата.


До нагнітальним магістралях насоса після зворотних клапанів підключені запобіжні клапани і манометри: зліва – для системи патронів, праворуч – для системи подачі. Ручний насос підключений до гідросистемі через перемикач, який має дві позиції: "Патрон" і "Обертач". Зворотні клапани, запобіжні клапани і перемикач ручного насоса вбудовані в плиті з клапанами. Тиск настроювання запобіжних клапанів 50 кГс/см2.

Розподільник системи патронів має чотири позиції роз-поділу масла. Позиції "Закріпити" і "Розкріпити" визначають управління верхнім набоєм при розкріпленому нижньому патроні, а позиції "Перехоплення" і "Зворотнє перехоплення" – управління верхнім набоєм, нижнім патроном і золотником швидкого підйому.

Прилад управління має п'ять позицій розподілу потоку масла в системі подачі. Позиції "Вгору" і "Вниз" визначають напрямок руху траверси обертача; позиції "До свердловині" і "Від свердловини" – напрямок переміщення верстата по рамі; позиція "Стоп" відповідає зупинці руху траверси (шпинделя) і верстата. Швидкість переміщення траверси (шпинделя) і верстата, а також величина осьового навантаження на породоруйнуючий інструмент регулюється дроселем, вбудованим в прилад управління. Контроль за осьовим навантаженням здійснюється за вказівником навантаження на забій, підключеному до напірної магістралі системи подачі через золотник відключення покажчика навантаження. Від дроселя масло відводиться в зливну магістраль через золотник швидкого підйому.

В залежності від положення ручок на блоці гідравлічного управління і пакетного вимикача на магнітної станції розрізняють буріння з автоматичним перехопленням і буріння з перехопленням від ручного управління. Включення і відключення автоматичного перехоплення проводиться кінцевим перемикачем, встановленим на обертачі верстата, а при ручному управлінні – розподільником, розташованому на блоці гідравлічного управління. Автоматичне перехоплення може проводитися тільки в кінцевих положеннях траверси обертача, а перехоплення від ручного управління – при будь-якому положенні траверси.

При бурінні з автоматичним перехопленням буровий майстер не впливає на органи керування гідросистемою верстата, а лише веде спостереження за його роботою, контролюючи встановлену осьову навантаження на породоруйнуючий інструмент за вказівником навантаження на вибій.

Включення перехоплення від ручного управління проводиться установкою рукоятки розподільника в положення "Перехоплення", а відключення перехоплення − встановленням перемикача в положення "Закріпити".

При зворотному перехоплення керування гідросистемою проводиться вручну розподільником і управління приладом. Закріплення та розкріплення верхнього патрона проводиться розподільником, а подача шпинделя (траверси) і переміщення верстата – приладом управління і дроселем. Подачу шпинделя (траверси) і переміщення верстата можна проводити незалежно від того, закріплений верхній патрон чи ні.

Обертач являє собою комплекс механізмів, що складається з конічного редуктора (33) для передачі обертання шпинделя (6), двох гідравлічних затискних патронів (25) для закріплення бурового снаряда (провідної штанги), шпинделя і приводний муфти(17) (втулки).


 

Рис. 2.2 - Обертач.

 

Верхній патрон встановлений на траверсі, з'єднаної зі штоками гідроциліндрів механізму подачі. Обертова частина верхнього гидропатрона закріплена на шпинделі. Нижній гидропатрон встановлений на корпусі обертача. Його рухома частина закріплена на приводній муфті. Конічний редуктор складається з двох шестерень Z = 26 і Z = 27 зубів. Ведуча конічна шестірня встановлена у склянці на двох радіальних підшипниках (роликовому і кульковому). У ступиці конічної шестерні Z = 27 зубів закріплений горизонтальний вал який суміщений по її шліцам з шестернею Z = 26 зубів. Ведена конічна шестерня посаджена на шліци приводний муфти, установленної в корпусі обертача на підшипниках. Приводна муфта має всередині шліци, в які входять шліци пустотілого шпинделя, встановленого в траверсі на двох кулькових підшипниках. Шпиндель отримує обертання від приводної муфти і в той же час може вільно переміщатися по її шліцах в осьовому напрямку.

Верхній гідропатрон є постійно замкнутим. Він призначений для передачі крутного моменту обертача і осьових зусиль провідної труби в процесі буріння і утримання бурильної колони в підвішеному стані. У пази шпинделя входять чотири кулачка верхнього гідропатрона, затискають провідну штангу за допомогою обойми, яка може переміщатися в осьовому напрямку пружинами. Зусилля від пружин передається кулачкам через похилі площини пазів обойми. Розкріплення провідної штанги відбувається при подачі масла в порожнину патрона під поршень. Переміщаючись вгору, поршень через радіально-упорний підшипник піднімає обойму. При русі вгору обойма за рахунок похилих пазів відводить кулачки від робочої штанги.

Нижній гідропатрон є постійно розімкненим. Він призначений для передачі крутного моменту (обертання) ведучої труби і утримання на вазі бурильної колони в процесі перекріплення. Шпиндель нижнього патрона з кулачками, обоймою, стаканом і радіально-упорним підшипником закріплений на приводній муфті. При подачі масла в порожнину патрона поршень переміщує вниз обойму, що викликає переміщення кулачків і затиск робочої штанги. При знятті тиску поворотні пружини піднімають обойму в початкове положення і розводять кулачки.

Траверса обертача через штоки з'єднана з поршнями гідравлічних циліндрів подачі, які закріплені в корпусі обертача. Штоки гідроциліндрів і їх поршні ущільнені гумовими кільцями круглого перерізу. Подача масла в порожнини гідроциліндрів забезпечує подачу бурового снаряда на забій або підйом його. В траверсі обертача закріплені два направляючих штока. Напрямні штоки служать для додання жорсткості всієї системи і розвантажують поршневі штоки і шпиндель від вібрацій бурового снаряда. Кріплення штоків гідроциліндрів і направляючих штоків до траверсі здійснюється за допомогою гайок і ексцентричних втулок, які забезпечують співвісність штоків і отворів в корпусі обертача. На правий спрямовуючий шток нанесена шкала з ціною поділки 1 см, що служить для визначення величини поглиблення, на лівому штоку профрезерована площина для ролика кінцевого вимикача.


 

Лебідка СКБ-4 – планетарного типу, виконана за схемою "барабан − зубчастий вінець", з повітряним охолодженням шківа гальма спуску. Вона складається з барабана із зубчастим вінцем і шківом гальма спуску, водила з трьома сателітами, шківа гальма підйому, кронштейна, вала з рухомою сонячною шестернею і механізму вимкнення лебідки.

Механізм виключення лебідки складається з корпусу, тяги, вилки з двома сухарями, валика і рукоятки.

Лівою опорою валу є сферичний підшипник, встановлений на кронштейні, правою – сферичний підшипник, встановлений у роздавальній коробці.

Обертання від сонячної шестерні при загальмованому шківі гальма підйому передається барабану, а при загальмованому гальмі спуску через сателіти – передається водилу і пов'язаному з ним шківу гальма підйому.

Управління лебідкою здійснюється двома гальмами коло-дочного типу: гальмом спуску, розташованим праворуч, і гальмом підйому, розташованим зліва.

Гальмом спуску проводиться звільнення барабана лебідки для спуску бурового інструменту в свердловину або опускання елеватора, а також гальмування барабана лебідки і його зупинка. Гальмом підйому проводиться гальмування шківа, сполученого з водилом, при підйомі бурового інструменту або елеватора.

Гальмо спуску складається з верхньої колодки, нижній колодки; кронштейна, за допомогою якого гальма кріпиться до станини через опору, тяги, ексцентрика, рукоятки, собачки, утримує рукоятку в загальмованому положенні. Гальмування здійснюється стягуванням колодок за допомогою тяги, яка отримує рух від ексцентрика, пов'язаного з гальмівною ручкою. У розгальмованому стані рукоятка утримується пружиною.

Конструкція гальма підйому аналогічна конструкції гальма спуску за винятком того, що в гальмі підйому немає собачки, що фіксує рукоятку в загальмованому положенні.

 



<== предыдущая | следующая ==>
Список використонної літератури | Диамагнетизм





Date: 2015-07-24; view: 428; Нарушение авторских прав



mydocx.ru - 2015-2026 year. (1.932 sec.) Все материалы представленные на сайте исключительно с целью ознакомления читателями и не преследуют коммерческих целей или нарушение авторских прав - Пожаловаться на публикацию