Главная Случайная страница


Полезное:

Как сделать разговор полезным и приятным Как сделать объемную звезду своими руками Как сделать то, что делать не хочется? Как сделать погремушку Как сделать так чтобы женщины сами знакомились с вами Как сделать идею коммерческой Как сделать хорошую растяжку ног? Как сделать наш разум здоровым? Как сделать, чтобы люди обманывали меньше Вопрос 4. Как сделать так, чтобы вас уважали и ценили? Как сделать лучше себе и другим людям Как сделать свидание интересным?


Категории:

АрхитектураАстрономияБиологияГеографияГеологияИнформатикаИскусствоИсторияКулинарияКультураМаркетингМатематикаМедицинаМенеджментОхрана трудаПравоПроизводствоПсихологияРелигияСоциологияСпортТехникаФизикаФилософияХимияЭкологияЭкономикаЭлектроника






Принцип работы поршневого насоса

ДЕМОНСТРАЦИОННЫЕ ИСПЫТАНИЯ ПОРШНЕВОГО НАСОСА

Цель работы

1. Ознакомиться с конструкцией поршневого насоса и насосной установки.

2. Исследовать работу поршневого насоса при различных давле­ниях на входе в насос.

ОБЩИЕ СВЕДЕНИЯ

Типичным представителем объемных гидромашин является возвратно-поступательный (поршневой) насос (ВПН) простого действия с клапанной системой распределения жидкости, в ко­тором жидкость вытесняется под воздействием вытеснителя, совершающего возвратно-поступательное движение в непод­вижном цилиндре. В качестве вытеснителей рабочей жидкости используются поршни или плунжеры. Вытеснитель в насосе может приводиться в движение либо от двигателя, либо при по­мощи кривошипно-шатунного или кулачкового (эксцентриково­го) механизма (приводные насосы), либо непосредственно через шток (прямодействующие насосы).

Клапанные поршневые насосы просты по конструкции. Они мо­гут работать при высоких давлениях и перекачивать различные жидкости, в том числе агрессивные и загрязненные. Их недостат­ками являются: ограниченность частоты вращения из-за трудности создания быстродействующих всасывающих клапанов, особенно

при работе на вязких жидкостях; значительная масса и габаритные размеры; трудность регулирования подачи.

Поршневые насосы широко используются в нефтедобывающей промышленности и нефтеперерабатывающих установках, в хими­ческом производстве, в теплоэнергетике, в строительстве и на вод­ном транспорте. ВПН постоянно совершенствуются, соответствен­но расширяется область их применения.

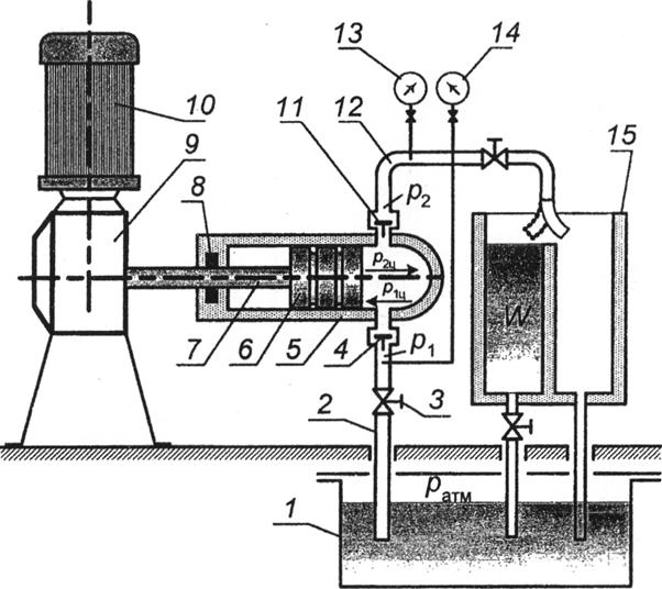
Опытная установка.

Принцип работы поршневого насоса

Схема насосной установки с поршневым насосом односторон­него (простого) действия с кривошипно-шатунным приводом пока­зана на рис. 1.1. В цилиндре 5 насоса, выполненного из стекла, размещен вытеснитель — поршень 6. Герметичность соединения поршень-цилиндр обеспечивается созданием малого зазора между стыкуемыми поверхностями. Клапанная система, которая обеспе­чивает соединение цилиндра попеременно со всасывающей (под­водящей) и напорной (отводящей) линиями, состоит из всасываю­щего 4 и нагнетательного 11 клапанов. Пространство между кла­панами и поршнем является рабочей камерой насоса. При увеличе­нии объема рабочей камеры VK (при цикле заполнения) в ней уста­навливается давление , которое меньше, чем давление пе­ред клапаном 4. Под действием возникшей разности давлений кла­пан приподнимается и жидкость из питающего резервуара 1 по всасывающему трубопроводу 2 через всасывающий клапан 4 за­полняет рабочую камеру.

При цикле нагнетания объем рабочей камеры уменьшается, давление в камере начинает повышаться, клапан 4 закрывается и, когда давление в камере достигнет значения р, которое больше, чем давление р2 за клапаном 11, жидкость будет вытесняться по нагнетательному трубопроводу 12 в мерный бак 15.

Для наблюдения за рабочими процессами, происходящими в рабочей камере поршневого насоса, цилиндр насоса выполнен про­зрачным.

При уменьшении давления на входе в насос, которое можно из­менить за счет прикрытия вентиля 3, картина работы поршневого насоса будет видоизменяться.

В процессе эксперимента необходимо наблюдать происходящие явления и фиксировать величины давлений на входе в насос по показаниям вакуумметра 14, при которых подача насоса начнет уменьшаться и полностью прекратится. Подача насоса определяется по формуле

где W— объем мерного бака, м3; — время его заполнения, с.

Наблюдаемые явления необходимо отразить в отчете по лабора­торной работе, который должен содержать название лабораторной работы, цель, упрощенную схему поршневого насоса и выводы.

 



<== предыдущая | следующая ==>
Грошовий ринок | Теплота, Тепловой поток, Плотность теплового потока, Линейный тепловой поток





Date: 2015-07-23; view: 620; Нарушение авторских прав



mydocx.ru - 2015-2026 year. (0.943 sec.) Все материалы представленные на сайте исключительно с целью ознакомления читателями и не преследуют коммерческих целей или нарушение авторских прав - Пожаловаться на публикацию