Главная Случайная страница


Полезное:

Как сделать разговор полезным и приятным Как сделать объемную звезду своими руками Как сделать то, что делать не хочется? Как сделать погремушку Как сделать так чтобы женщины сами знакомились с вами Как сделать идею коммерческой Как сделать хорошую растяжку ног? Как сделать наш разум здоровым? Как сделать, чтобы люди обманывали меньше Вопрос 4. Как сделать так, чтобы вас уважали и ценили? Как сделать лучше себе и другим людям Как сделать свидание интересным?


Категории:

АрхитектураАстрономияБиологияГеографияГеологияИнформатикаИскусствоИсторияКулинарияКультураМаркетингМатематикаМедицинаМенеджментОхрана трудаПравоПроизводствоПсихологияРелигияСоциологияСпортТехникаФизикаФилософияХимияЭкологияЭкономикаЭлектроника






Фонари





 

____________________________________________________________________________________________________________________________________________________________________________________________________________________________________________________________________________________________________________________________________________________________

Рис. 6.12. Расположение фонарей

а – ____________________________________________________________________________

б – ____________________________________________________________________________

 

По назначению фонари делятся на:

- ___________________________________________________________________

____________________________________________________________________________________________________________________________________________

- ___________________________________________________________________

____________________________________________________________________________________________________________________________________________

- ___________________________________________________________________

____________________________________________________________________________________________________________________________________________

 

По форме поперечного сечения фонари делятся на:

- ___________________________________________________________________

______________________________________________________________________

 

 

Рис. 6.13. Основные типы светоаэрационных и световых фонарей

а – ____________________________________________________________________________

б – ____________________________________________________________________________

в – ____________________________________________________________________________

г – ____________________________________________________________________________

д – ____________________________________________________________________________

е – ____________________________________________________________________________

 

____________________________________________________________________

 

Рис. 6.14. Типы аэрационных фонарей

а – ____________________________________________________________________________

б – ____________________________________________________________________________

в – ____________________________________________________________________________

г – ____________________________________________________________________________

д – ____________________________________________________________________________

 

Светоаэрационные фонари ______________________________________________

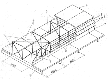
Рис. 6.15. Конструкция прямоугольного светоаэрационного фонаря

1 – ____________________________________________________________________________

2 – ____________________________________________________________________________

3 – ____________________________________________________________________________

4 – ____________________________________________________________________________

5 – ____________________________________________________________________________

6 – ____________________________________________________________________________

7 – ____________________________________________________________________________

8 – ____________________________________________________________________________

9 – ____________________________________________________________________________

10 – ___________________________________________________________________________

 

Основные элементы светоаэрационного фонаря

Ферма фонаря Фонарная панель

 

Панель торца Оконная панель(панель переплета)

ПП 6x1,8(1,2; 1,5)

Связи ВС Пожарная лестница

________________________________________________________________________________________________________________________________________________________________________________________________________________________________________________________________________________________________________________________________________________________________________________________________________________________________________________________________________________________________________________________________________________________________________________________________________________________________________________________________________________________________________________________________________________________________________________________________________________________________________________________________________________________________________________________________________________________________________________________________________________________________________________________________________________________


Светоаэрационные фонари _______________________________________________

____________________________________________________________________________________________________________________________________________________________________________________________________________________________________________________________________________________________________________________________________________________________________________________________________________________________________

 

 

Рис.6.16. Конструктивные детали прямоугольных светоаэрационных фонарей

а – ____________________________________________________________________________

б – ____________________________________________________________________________

1 – ____________________________________________________________________________

2 – ____________________________________________________________________________

3 – ____________________________________________________________________________

4 – ____________________________________________________________________________

5 – ____________________________________________________________________________

6 – ____________________________________________________________________________

7 – ____________________________________________________________________________

8 – ____________________________________________________________________________

9 – ____________________________________________________________________________

10 – ___________________________________________________________________________

11 – ___________________________________________________________________________

 

 

Рис. 6.17. Светоаэрационные фонари с одним и двумя ярусами переплетов

 

______________________________________________________________________________________________________________________________________________________________________________________________________________________________________________________________________________________________________________________________________________________________________________________________________________________________________________________________________________________________________________________________________________________________________________

Зенитные фонари ______________________________________________________

________________________________________________________________________________________________________________________________________________________________________________________________________________________________________________________________________________________________________________________________________________________________________________________________________________________________________________________________________________________________________________________________________________________________________________


 

Рис. 6.18. Плоские зенитные фонари

а – ____________________________________________________________________________

б – ____________________________________________________________________________

в – ____________________________________________________________________________

1 – ____________________________________________________________________________

2 – ____________________________________________________________________________

3 – ____________________________________________________________________________

4 – ____________________________________________________________________________

5 – ____________________________________________________________________________

6 – ____________________________________________________________________________

7 – ____________________________________________________________________________

Рис. 6.19. Куполообразные зенитные фонари

а – ____________________________________________________________________________

б – ____________________________________________________________________________

1 – ____________________________________________________________________________

2 – ____________________________________________________________________________

3 – ____________________________________________________________________________

4 – ____________________________________________________________________________

5 – ____________________________________________________________________________

6 – ____________________________________________________________________________

7 – ____________________________________________________________________________

8 – ____________________________________________________________________________

9 – ____________________________________________________________________________

10 – ___________________________________________________________________________

11 – ___________________________________________________________________________

12 – ___________________________________________________________________________

 

 

________________________________________________________________________________________________________________________________________________________________________________________________________________

Рис. 6.20. Конструктивные элементы зенитных фонарей

1 – ____________________________________________________________________________

2 – ____________________________________________________________________________

3 – ____________________________________________________________________________

4 – ____________________________________________________________________________


5 – ____________________________________________________________________________

6 – ____________________________________________________________________________

7 – ____________________________________________________________________________

8 – ____________________________________________________________________________

9 – ____________________________________________________________________________

10 – ___________________________________________________________________________

11 – ___________________________________________________________________________

12 – ___________________________________________________________________________

13 – ___________________________________________________________________________

14 – ___________________________________________________________________________

15 – ___________________________________________________________________________

16 – ___________________________________________________________________________

17 – ___________________________________________________________________________

18 – ___________________________________________________________________________

 

Самостоятельная работа: стр.221, рис. 23.2 (г, д,е);

Незадуваемые фонари. Область их применения. стр.230;

Понятия о пространственных покрытиях. Л2 стр.149-150.







Date: 2015-06-11; view: 1241; Нарушение авторских прав



mydocx.ru - 2015-2026 year. (0.238 sec.) Все материалы представленные на сайте исключительно с целью ознакомления читателями и не преследуют коммерческих целей или нарушение авторских прав - Пожаловаться на публикацию