Главная Случайная страница


Полезное:

Как сделать разговор полезным и приятным Как сделать объемную звезду своими руками Как сделать то, что делать не хочется? Как сделать погремушку Как сделать так чтобы женщины сами знакомились с вами Как сделать идею коммерческой Как сделать хорошую растяжку ног? Как сделать наш разум здоровым? Как сделать, чтобы люди обманывали меньше Вопрос 4. Как сделать так, чтобы вас уважали и ценили? Как сделать лучше себе и другим людям Как сделать свидание интересным?


Категории:

АрхитектураАстрономияБиологияГеографияГеологияИнформатикаИскусствоИсторияКулинарияКультураМаркетингМатематикаМедицинаМенеджментОхрана трудаПравоПроизводствоПсихологияРелигияСоциологияСпортТехникаФизикаФилософияХимияЭкологияЭкономикаЭлектроника






Организация основных работ и оборудование





Расход стального лома (скрапа) в кислородных конвертерах при работе без его подогрева не превышает 25—28% от массы металлической шихты. Лом загружают в конвертеры совками (лотками). По проекту первого отечественного цеха лом в 100—130-т конвертеры предусматривалось загружать совками объемом 3,5 м3: их количество на одну плавку достигало пяти, а длительность загрузки 7—10 мин. Во вновь сооружаемых цехах ставится задача обеспечить загрузку лома одним (реже двумя) совком: при насыпной массе лома около 1 т/м3 объем совка в этом случае для большегрузных конвертеров достигает 110—120 м3.

Доставка лома. В существующих цехах можно выделить следующие способы доставки совков с ломом в загрузочный пролет:

- из верхнего шихтового отделения по продольной рельсовой эстакаде в торец загрузочного пролета, где краном совки устанавливают на поворотные круги и с их помощью разворачивают в поперечное положение;

- из нижнего шихтового отделения или скрапоразделочного цеха по продольным путям в перестановочный пролет, где совки краном с поворотной тележкой разворачивают в поперечное положение, догружают в них лом из ямного бункера и затем по поперечным путям доставляют в загрузочный пролет;

- по предыдущей схеме с тем отличием, что в перестановочном пролете отсутствуют ямные бункера и догрузка лома в совки или в перестановочном пролете совки краном устанавливают на поворотные круги, с которых совки после разворота выдаются на поперечные пути;

- из скрапного отделения автотягачами, позволяющими разворачивать совки в нужное положение на небольшой площади;

- из шихтового отделения по поперечным рельсовым эстакадам на уровне рабочей площадки загрузочного пролета;

- из шихтового пролета или отделения по поперечным путям на нулевой отметке;

- из близко расположенного скрапоразделочного цеха по поперечным ширококолейным путям на нулевой отметке;

- загрузка лома в совки магнитным краном из вагонов непосредственно в торце загрузочного пролета.

Из рассмотренных способов наиболее рациональной является подача совков с ломом в загрузочный пролет скраповозом по поперечным рельсовым путям на нулевой отметке из близко расположенного скрапоразделочного цеха.

Загрузку лома ведут напольными и полупортальными машинами и мостовыми кранами. Достоинство напольных машин в том, что собственно процесс загрузки не зависит от работы кранов; недостатки — машины вследствие больших габаритов загромождают загрузочный пролет, задалживаются краны для установки совков на машину и их снятия, утяжеляется рабочая площадка пролета. Поэтому во вновь сооружаемых цехах напольные машины почти не применяются.

Полупортальные машины работают независимо от заливочных кранов и не загромождают рабочую площадку пролета; недостатком их является необходимость утяжеления рабочей площадки и то, что нельзя загружать лом одним совком. Конструкция машины позволяет применять совки ограниченных размеров: для загрузки требуемого количества лома (до 30%) требуются два совка.

Основное оборудование. Напольные машины рассчитаны на установку на них одного и реже двух совков и перемещаются по рельсам вдоль или поперек загрузочного пролета. Машина обычно включает самоходную тележку (электрическую или дизельную) и смонтированные на ней поворотные лафеты, люльки и другие устройства для кантования совков.

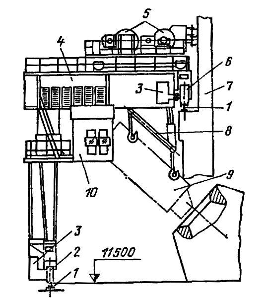
Полупортальные машины (краны) поднимают сразу два совка и последовательно загружают из них лом в конвертер. Несущая часть машины (см. рисунок 4.2) — полупортал 4, опирающийся нижними ходовыми колесами 2 на рельс 1 на рабочей площадке и верхними колесами 6 на колонны 7 здания.

 

 

Рис. 4.2. Полупортальная загрузочная машина

 

Машина имеет два привода 3 перемещения моста (для верхних и нижних колес). По полупорталу передвигаются две тележки 5, каждая из которых имеет два механизма подъема, обеспечивающих подъем и наклон совков 9 с помощью грузозахватного устройства 8, снабженного четырьмя крюками; для машиниста имеется кабина 10. Выпускаются машины грузоподъемностью 90 и 130 т для конвертеров емкостью 250 и 350—400 т; объем совков составляет 37 и 50 м3 соответственно.

Завалочный кран, предназначенный для загрузки лома одним совком, включает мост с механизмом его передвижения вдоль цеха по тем же подкрановым путям, что и заливочные краны, и передвигающуюся по мосту тележку, снабженную двумя механизмами подъема, которые обеспечивают подъем и кантование совка с помощью грузозахватного устройства, имеющего четыре крюка. За рубежом применяют краны, оборудованные двумя перемещающимися по мосту тележками; такими кранами поднимают одновременно два совка.

 







Date: 2015-07-10; view: 781; Нарушение авторских прав



mydocx.ru - 2015-2026 year. (1.324 sec.) Все материалы представленные на сайте исключительно с целью ознакомления читателями и не преследуют коммерческих целей или нарушение авторских прав - Пожаловаться на публикацию