Главная Случайная страница


Полезное:

Как сделать разговор полезным и приятным Как сделать объемную звезду своими руками Как сделать то, что делать не хочется? Как сделать погремушку Как сделать так чтобы женщины сами знакомились с вами Как сделать идею коммерческой Как сделать хорошую растяжку ног? Как сделать наш разум здоровым? Как сделать, чтобы люди обманывали меньше Вопрос 4. Как сделать так, чтобы вас уважали и ценили? Как сделать лучше себе и другим людям Как сделать свидание интересным?


Категории:

АрхитектураАстрономияБиологияГеографияГеологияИнформатикаИскусствоИсторияКулинарияКультураМаркетингМатематикаМедицинаМенеджментОхрана трудаПравоПроизводствоПсихологияРелигияСоциологияСпортТехникаФизикаФилософияХимияЭкологияЭкономикаЭлектроника






Пример подбора посадок подшипников





Задача. Подобрать посадки колец подшипников на вал и в корпус.

Рисунок 5.1 Передающий механизм.

Исходные данные:

1. Чертеж узла, в котором используют подшипник качения - рисунок 5.1;

2. Номер подшипника - 312.

3. Значение радиальной нагрузки на опоре подшипника - 6 кН;

4. Характер нагрузки - вибрация, удары, большая перегрузка.

1. По чертежу узла (рисунок 5.1) определяем вид нагружения колец. В данном узле вращается вал, поэтому наружное кольцо испытывает местную нагрузку, а внутреннее – циркуляционную.

2. Из справочников /3,5/ выписываем основные размеры заданного подшипника:

Внутренний диаметр подшипника– d = 60 мм;

Наружный диаметр подшипника– D = 130 мм;

Ширина подшипника Вк = 31 мм;

Радиус закругления фаски r = 3.5 мм;

3. Определяем для циркуляционно нагруженного кольца (в нашем случае для внутреннего) интенсивность радиальной нагрузки по формуле (4.1):

.

4. Определив интенсивность для циркуляционно нагруженного кольца, по таблице 17 /1/ выбираем поле допуска для вала, сопрягаемого с этим кольцом: при РR =450 кН/м и d =60 мм выбираем– к6.

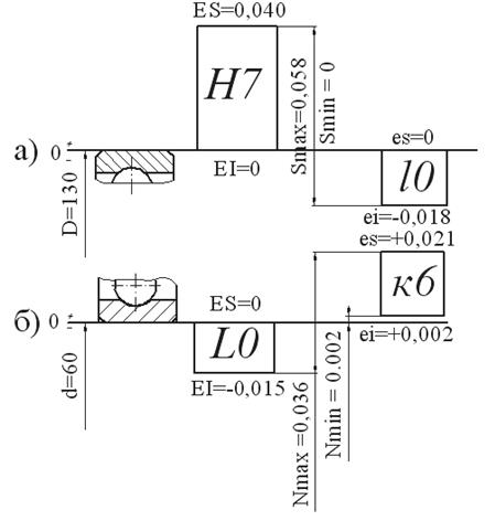
Рисунок 5.1 Схема расположения полей допусков сопряжений: а) «наружное кольцо – корпус» б) «внутреннее кольцо – вал».

Тогда запишем условное обозначение соединения «внутреннее кольцо–вал»:

Ø 60L0/к6.

где L0 –поле допуска внутреннего кольца подшипника нулевого класса точности.

Посадку под кольцо, имеющее местный вид нагружения, выбирают из таблицы 18 /1/. Для D =130 мм– Н7, система отверстия. Условное обозначение соединения «корпус – наружное кольцо подшипника»:

Ø 130Н7/l0,

где l0 – поле допуска наружного кольца подшипника нулевого класса точности.

5. Исходя из выбранных посадок выполняем схемы полей допусков.

 

Содержание отчета

В отчет по проделанной работе необходимо включить:

1. Классификацию и обозначение подшипников (п. 3.3 и 3.4)

2. Расчет и подбор посадок подшипника по выданному преподавателем варианту задания.

3. Схему полей допусков выбранных посадок колец подшипника на вал и в корпус.

 

вопросы ДЛЯ САМОКОНТРОЛЯ

1. По какому принципу построены обозначения подшипников?

2. Виды нагружения колец подшипников. Примеры.

3. Какие применяются посадки колец в зависимости от вида нагружения?

4. Как определяется интенсивность нагрузки для кольца подшипника?

5. Как по интенсивности нагрузки выбирается посадка кольца подшипника качения?

6. Что влияет на выбор посадки кольца подшипника при местном нагружении?

7. Особенности расположения полей допусков колец подшипника и чем они вызваны?

 







Date: 2015-06-11; view: 2505; Нарушение авторских прав



mydocx.ru - 2015-2026 year. (4.963 sec.) Все материалы представленные на сайте исключительно с целью ознакомления читателями и не преследуют коммерческих целей или нарушение авторских прав - Пожаловаться на публикацию