Главная Случайная страница


Полезное:

Как сделать разговор полезным и приятным Как сделать объемную звезду своими руками Как сделать то, что делать не хочется? Как сделать погремушку Как сделать так чтобы женщины сами знакомились с вами Как сделать идею коммерческой Как сделать хорошую растяжку ног? Как сделать наш разум здоровым? Как сделать, чтобы люди обманывали меньше Вопрос 4. Как сделать так, чтобы вас уважали и ценили? Как сделать лучше себе и другим людям Как сделать свидание интересным?


Категории:

АрхитектураАстрономияБиологияГеографияГеологияИнформатикаИскусствоИсторияКулинарияКультураМаркетингМатематикаМедицинаМенеджментОхрана трудаПравоПроизводствоПсихологияРелигияСоциологияСпортТехникаФизикаФилософияХимияЭкологияЭкономикаЭлектроника






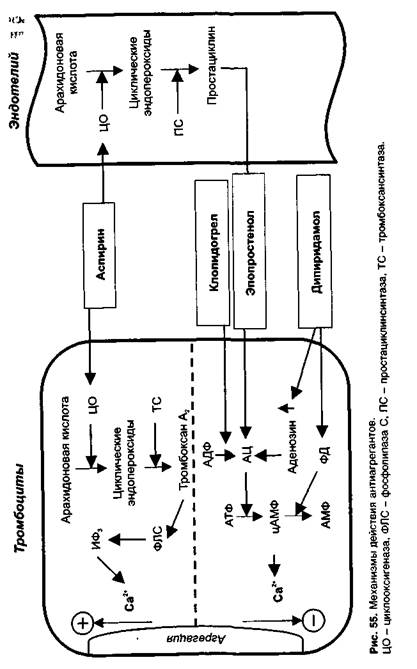
Антиагреганты. Антиагреганты предупреждают агрегацию тромбоцитов, т.е





Антиагреганты предупреждают агрегацию тромбоцитов, т.е. начальный этап образования тромба. Используются для профилактики тромбообразования, в частности, у больных с коронарной недостаточностью (нестабильная стенокардия, инфаркт миокарда), при ишемическом инсульте.

 

Ацетилсалициловая кислота (аспирин) необратимо ингибирует (ко-валентное ацетилирование) циклооксигеназу в тромбоцитах и эндотелии сосудов и таким образом нарушает образование тромбоксана и простациклина (рис. 55).

Преобладает угнетающее влияние ацетилсалициловой кислоты на синтез тромбоксана А2. Во-первых, при приеме внутрь ацетилсалициловая кислота начинает действовать на тромбоциты еще в системе воротной вены, до достижения системного эндотелия. Так как биодоступность ацетилсалициловой кислоты 70%, ее концентрация в крови воротной вены выше, чем в общем кровотоке.

Во-вторых, тромбоциты — безъядерные клетки, в них отсутствует система ресинтеза циклооксигеназы. Ацетилсалициловая кислота необратимо ингибирует циклооксигеназу тромбоцитов и синтез тромбоксана А2 в тромбоцитах нарушается на все время их существования — 7—10 дней (можно было предположить, что ацетилсалициловая кислота будет действовать как антиагрегант 7—10 дней, но препарат действует 2 дня, так как через 2 дня образуется полный пул новых тромбоцитов). В то же время в эндотелии сосудов при необратимом ингибировании циклооксигеназы уже через несколько часов происходит синтез нового фермента.

Считают, что полное ингибирование циклооксигеназы тромбоцитов ацетилсалициловая кислота вызывает в дозе 160 мг. По данным разных авторов, выраженное снижение агрегации происходит при приеме ацетилсалициловой кислоты в дозах 75—320 мг 1 раз в сутки (чаще назначают 100 мг 1 раз в сутки). При увеличении дозы антиагрегантное действие не повышается и может даже снижаться, так как в этом случае сказывается угнетающее влияние ацетилсалициловой кислоты на синтез простациклина.

В качестве антиагреганта ацетилсалициловую кислоту применяют с первых же часов при остром инфаркте миокарда, для профилактики инфаркта миокарда, при нестабильной стенокардии, после коронарной ангиопластики или стентирования, при нарушениях мозгового кровообращения по ишемическому типу, для профилактики тромбообразования при мерцательной аритмии предсердий в случае противопоказаний к назначению антикоагулянтов.

Индобуфен - ингибитор циклооксигеназы и тромбоксансинтазы. Назначают внутрь для профилактики тромбоза сосудов сердца и мозга.

Клопидогрел и тиклопидин — соединения из группы тиенопири-динов. Ослабляют действие АДФ (блокируют Р,-рецепторы АДФ на мембране тромбоцитов). Действие этих соединений необратимо; антиагрегантный эффект развивается в течение 3—10 дней и сохраняется несколько дней после отмены препарата.

Назначают клопидогрел или тиклопидин внутрь 1-2 раза в день для профилактики инфаркта миокарда, ишемического инсульта у больных атеросклерозом, после стентирования или баллонной ангиопластики коронарных сосудов. При применении тиклопидина возможно развитие нейтропении (снижается сопротивляемость инфекциям).

Дипиридамол (курантил) — антиагрегант и коронарорасширяю-щее средство. Препятствует агрегации тромбоцитов, так как:

1) ингибирует фосфодиэстеразу, инактивирующую цАМФ, и в связи с этим повышает уровень цАМФ (уровень Са2+ в цитоплазме тромбоцитов снижается);

2) повышает уровень аденозина (препятствует захвату аденозина эритроцитами и клетками эндотелия; ингибирует аденозиндезами-назу), который через A2-рецепторы активирует аденилатциклазу и поэтому обладает антиагрегантными свойствами (рис. 56).

Применяют дипиридамол для профилактики коронарной недостаточности и ишемических инсультов. Назначают внутрь 3-4 раза в день.

Абциксимаб (реопро) - препарат моноклональных антител к гли-копротеинам ПЬ/Ша. Вводят внутривенно капельно для профилактики инфаркта миокарда, тромбоза при ангиопластике коронарных сосудов, при нестабильной стенокардии.

Эптифибатид (интегрилин) — пептидный блокатор гликопротеи-нов IIb/Ша. Применяют внутривенно при нестабильной стенокардии, инфаркте миокарда, для профилактики тромбоза при ангиопластике коронарных сосудов.

Тирофибан - непептидный блокатор гликопротеинов ПЬ/Ша. Вводят внутривенно капельно для предупреждения инфаркта миокарда при нестабильной стенокардии.

В качестве агтиагреганта используют также пентоксифиллин (ага-пурин, трентал) - ингибитор фосфодиэстеразы, обладающий также сосудорасширяющими свойствами. Препарат применяют при ише-мическом инсульте, нарушениях периферического кровообращения.

Эпопростенол - препарат простациклина. Действует несколько минут. Вводят внутривенно капельно при экстракорпоральном кровообращении для предупреждения оседания тромбоцитов на поверхности аппарата, а также при легочной гипертензии.







Date: 2015-07-01; view: 489; Нарушение авторских прав



mydocx.ru - 2015-2026 year. (0.737 sec.) Все материалы представленные на сайте исключительно с целью ознакомления читателями и не преследуют коммерческих целей или нарушение авторских прав - Пожаловаться на публикацию