Главная Случайная страница


Полезное:

Как сделать разговор полезным и приятным Как сделать объемную звезду своими руками Как сделать то, что делать не хочется? Как сделать погремушку Как сделать так чтобы женщины сами знакомились с вами Как сделать идею коммерческой Как сделать хорошую растяжку ног? Как сделать наш разум здоровым? Как сделать, чтобы люди обманывали меньше Вопрос 4. Как сделать так, чтобы вас уважали и ценили? Как сделать лучше себе и другим людям Как сделать свидание интересным?


Категории:

АрхитектураАстрономияБиологияГеографияГеологияИнформатикаИскусствоИсторияКулинарияКультураМаркетингМатематикаМедицинаМенеджментОхрана трудаПравоПроизводствоПсихологияРелигияСоциологияСпортТехникаФизикаФилософияХимияЭкологияЭкономикаЭлектроника






Література





1. Головчук А. Ф. Експлуатація та ремонт сільськогосподарської техніки: Підручник: У 3 кн. / А. Ф. Гловчук, В. Ф. Орлов, О. П. Строков; За ред. А. Ф. Головчука. – К.: Грамота, 2003. – Кн. 1: Трактори. – С. 105…145.

2. Мельников Д.И. Тракторы. – М.: Колос, 1981.– с.105...131.

3. Кривенко П.М., Федосов И.М. Ремонт и техническое обслуживание системы питания автотракторных двигателей. – М.: Колос, 1980. – с.78-84; 99-101; 251-262.

4. Бахтиаров Н.И. и др. Топливная аппаратура тракторных и комбайновых двигателей. – М.: Колос, 1980. – с.58-72; 130-131; 134-135.

5. Строков О.П., Головчук А.Ф. и др. Система питания дизелей типа СМД: Справочник. – Днепропетровск: Пороги, 1996.

Рис. 1. Схема системи живлення двигуна Д-240:

1–глушник; 2–повітроочисник; 3–електрофакельний підігрівник; 4 і 14–паливопроводи до підігрівника і паливного насоса; 5–дренажна трубка; 6–палпвопровід високого тиску; 7–заливна горловина; 8– паливні баки; 9–паливовимірювальна трубка; 10–зливний край; 11 і 13–фільтри очистки палива; 12–продувний вентиль; 15–регулятор; 16–важіль регулятора; 17–підкачувальна помпа з насосом ручного підкачування палива; 18–перепускний паливопровід; 19–паливний насос; 20–форсунка; 21–камера згоряння; 22–випускний колектор; 23–заслінка аварійної зупинки двигуна

Рис. 2. Фільтр грубого очищення палива двигуна Д-240:

1–сітка; 2–напрямний конус; 3–кільце; 4–болт; 5–корпус; 6 і 7 –штуцерні болти; 8–паливопровід; 9–кільцева порожнина; 10–пробка; 11–прокладка; 12–розподільна шайба; 13–пружинна шайба; 14–втулка з шестигранною головкою; 15–стакан; 16–заспокоювач; 17–зливна пробка

 

Рис. 3. Загальна будова й робота паливопідкачувального насоса:

1–ексцентрик кулачкового вала паливного насоса високого тиску; 2–пружина штовхача; 3–корпус; 4–нагнітальний клапан; 5–трубка відведення палива до фільтра тонкого очищення; 6–пружина поршня; 7–насос ручного підкачування; 8–впускний клапан; 9–трубка відведення надлишку палива від паливного насоса високого тиску; 10–трубка підведення палива; 11–поршень; 12–шток; 13–штовхач; А –надпоршнева порожнина; Б –підпоршнева порожнина; а –підготовчий хід; б –робочий хід

 

Рис. 4. Форсунка високого тиску:

1–корпус; 2–фільтр; 3–ущільнювальне кільце; 4– тарілка пружини; 5–пружина; 6–проставка; 7–розпилювач форсунки; 8–гайка розпилювача; 9–голка; 10–регулювальний гвинт; 11 – контргайка регулювального гвинта

 

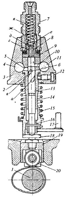
Рис. 5. Насосна секція (насосний елемент) паливного насоса типу УТН-5:

1 – кулачковий вал; 2 – відсічна кромка; 3 – головка паливного насоса; 4, 11 – повздовжні канали; 5 – відсічний отвір; 6, 15 – пружини; 7 – штуцер; 8–нагнітальний клапан; 9 – сідло; 10 – впускний отвір; 12 – установлювальний гвинт; 13 – плунжер; 14 – втулка (гільза); 16 – тарілка пружини; 17 – повідець плунжера; 18 – регулювальний болт; 19 – штовхач плунжера; 20 – ролик штовхача; а, в – гвинтові канали; б – радіальний канал; г – канавка; д – поясок; е – запірний конус; ж – простір над нагнітальним клапаном

Рис. 6. Принцип дії насосної секції (насосного елемента) секційного паливного насоса:

а – наповнення надплунжерного простору паливом; б – витіснення палива з надплунжерного простору; в – подача палива; г – відсікання і перепуск палива; 1 – плунжер; 2 – втулка плунжера (гільза); 3 – відсічна кромка; 4 – відсічний отвір; 5 – сідло нагнітального клапана; 6 – прокладка; 7 – нагнітальний клапан; 8 – натискний штуцер; 9 – пружина клапана; 10 – запірний конус; 11– розвантажувальний поясок; 12 – впускний отвір; 13 – осьовий канал; 14 – радіальний канал; 15 – гвинтовий паз

Рис. 7. Повітроочисник тракторних дизелів типу СМД-60:

1 — патрубок вихідний; 2 — корпус повітроочисника; 3 — болт стяжний; 4 — патрубок вхідний; 5 — шайби; 6,7,8 — гайки-баранчики; 9 — кришка; 10,13,14 — кільця ущільнювальні; 11 — фільтр патрон основний; 12 — фільтр патрон запобіжний; 15 — бонка для підключення трубопроводу індикатора забрудненості повітроочисника або засобів діагностування

 

Рис. 8. Схема регулятора паливного насоса УТН–5:

1–болт обмеження максимальної частоти колінчастого вала; 2– важіль управління регулятором; 3 – пружина пускового збагачувача; 4 – серга основної пружини; 5 – основна пружина регулятора; 6 – проміжний важіль; 7 – основний важіль; 8 – пружина коректора; 9 – гвинт жорсткого упору; 10 – гвинт номінальної подачі палива; 11 – шток коректора; 12 – регулювальний гвинт коректора; 13 – п’ята муфти регулятора; 14 – тягарець; 15– болт обмеження розкривання важелів; 16 – тяга рейки; 17 – рейка паливного насоса


 

Роботу регулятора можна простежити за схемами, наведеними на рис.9.

На режимі пуску (див. рис.9, а) важіль керування двигуном 9 знаходиться на упорі в гвинт 8. Пружина 13 максимально розтягнута, тому основний важіль 16 займає крайнє ліве положення, впираючись у головку болта номінальної подачі 18. Проміжний важіль 15 також займає крайнє ліве положення під дією пускової пружини 11. Він впирається при цьому в головку з'єднувального болта 19, оскільки муфта 21 не впливає на проміжний важіль 15. Рейка 12 знаходиться в положенні пускової подачі палива.

 

 

Рис. 9. Схема роботи регулятора паливного насоса УТН-5

на різних режимах роботи дизеля:

а - в режимі пуску; 6 - на максимальній частоті холостого ходу; в - в номінальному режимі; г - в режимі короткочасного перевантаження; д - під час зупинки двигуна; 1 - корпус регулятора; 2 - тягарці регулятора; 3 - упорний підшипник; 4 - маточина; 5 - гумовий сухар; 6 - упорна шайба; 7 - кулачковий вал насоса; 8 - регулювальний упорний гвинт; 9 - зовнішній важіль; 10 - внутрішній важіль; 11 - пружина пускового збагачувача; 12 - рейка насоса; 13 - пружина регулятора; 14 - тяга рейки; 15 - проміжний важіль; 16 - основний важіль; 17 - жорсткий упор; 18 - болт номінальної подачі; 19 - з'єднувальний болт; 20 - п'ята; 21 - муфта регулятора; 22 - вісь; 23 - шток коректора; 24 - пружина коректора; 25 - корпус коректора.

 

Після пуску дизеля і за відсутності зовнішнього навантаження частота обертання зростає до максимального значення (див. рис.9, б). Вантажі 2 регулятора розходяться на максимальну величину і переміщують проміжний важіль 15, який через корпус коректора 25 переміщує основний важіль 16 у положення зменшеної подачі палива, за якого приведена відцентрова сила вантажів 2 врівноважується силою розтягнутої пружини 13 (шток коректора 23 при цьому заглиблений у корпус коректора 25, оскільки пружина коректора 24 слабка). Двигун працює на максимальній частоті холостого ходу.

Після навантаження двигуна до номінального режиму (див. рис.9, в) частота падає, а подача зростає; при цьому основний важіль 16 притискується до головки болта номінальної подачі 18, а проміжний важіль 15 продовжує бути притиснутим до основного важеля 16 і утримувати шток коректора 23 у заглибленому положенні під дією сили тиску муфти 21 на проміжний важіль 15. У цьому режимі двигун розвиває максимальну потужність.

На рис.9, г зображене взаємне розміщення важелів регулятора у разі короткочасного перевантаження. Частота обертання падає, і тиск муфти 21 на проміжний важіль 15 не може подолати сили відштовхування штока коректора 23 від основного важеля 16. Важіль 15 додатково повертається проти годинникової стрілки, збільшуючи подачу палива.

Рис. 10. Секція високого тиску паливного насоса типу НД:

1 — ролик штовхача; 2 — штовхач; 3 — зубчаста втулка; 4, 21 — (верхня і нижня) тарілки пружини; 5 — важiль; 6 — втулка привода дозатора; 7 — поводок дозатора; 8 — дозатор; 9 — плунжер; 10 — пружина зворотного клапана; 11 — сідло нагнітального клапана; 12 — зворотний клапан; 13 — нагнітальний клапан; 14 — пружина нагнітального клапана; 15 — штуцер високого тиску; 16 — пробка; 17 — втулка плунжера; 18 — ущільнювальне кільце; 19 — привідна шестерня привода обертання плунжера; 20 — пружина штовхача


Рис. 11. Фільтр тонкої очистки палива двигуна Д-240:

1 — фільтруючі елементи; 2 — трубка для відведення повітря; 3 — корпус; 4 — кільце ущільнювальне; 5 — кришка; 6 — штуцер вентиля; 7 — кульковий клапан; 8, 10 — гайка; 9 — вентиль; 11 — прокладка; 12 — пробка зливного отвору; 13 — ущільнювач; А — отвір для відведення очищеного палива; Б — отвір для підведення неочищеного палива; В — канал для підведення неочищеного палива; Г – канал для відведення очищеного палива.

Роботу регулятора насоса типу НД на різних режимах наведено на рис.12.

Для пуску дизеля (рис.12,а) важіль керування регулятором 4 встановлюється у положення максимальної подачі палива до упору в гвинт 5. Основний важіль 10 під дією пружини пуску 2 вибирає зазор у з'єднанні з віссю 9 важеля коректора 8, займає крайнє нижнє положення і через систему важелів установлює дозатори 1 у крайнє верхнє положення, забезпечуючи необхідне для пуску дизеля збільшення циклової подачі палива. Після пуску дизеля, зізбільшенням частоти обертання кулачкового вала насоса, відцентрова сила тягарців 12, долаючи зусилля пружини пуску 2 і пружини регулятора 6, переміщує муфту регулятора 11, основний важіль 10 і дозатори у бік зменшення подачі палива.

При роботі дизеля на максимальній частоті обертання холостого ходу (рис. 12,б) основний важіль 10 перебуває у такому положенні, коли відцентрова сила тягарців, прикладена до нього через муфту регулятора 11, врівноважується зусиллям пружини регулятора 6 і через систему важелів установлює дозатори у

Рис.12. Схема роботи регулятора паливного насоса НД 22/6Б в різних режимах роботи дизеля: а - пуск двигуна; б - на максимальному холостому ходу; в - при номінальному навантаженні; г - при перевантаженні дизеля; 1 - дозатори; 2 – пускова пружина; 3 - плунжер; 4 - важіль керування; 5 - гвинт максимальної частоти обертання холостого ходу; 6 - пружина регулятора; 7 - обмежувач коректора; 8 - важіль коректора; 9 - вісь; 10 - основний важіль; 11 - муфта регулятора; 12 - тягарці; 13 - коректор; 14 - шток коректора.  

положення, при якому забезпечується мінімальна подача палива. Зазор у з'єднанні основного важеля 10 осі 9 важеля регулятора вибраний і вони працюють як один важіль. Коректор у роботі участі не бере.

При збільшенні навантаження дизеля від холостого ходу до номінальної частоти обертання (рис.12,в) частота обертання вала дизеля і насоса зменшуються. Відцентрова сила тягарців, яка діє на основний важіль 10 через муфту 11, теж зменшується. Основний важіль 10 і важіль коректора 8 під дією пружини регулятора 6 переміщуються в бік збільшення подачі палива – до зіткнення важеля коректора 8 зі штоком коректора 14, а зусилля відцентрової сили тягарців урівноважується зусиллям пружини регулятора. При збільшенні навантаження важіль 8 спирається на шток коректора 14. Відповідно переміщенню важеля 10 дозатори 1 змінюють своє положення на плунжерах, змінюючи таким чином подачу палива.


При перевантаженні трактора (рис.12, г) відбувається помітне зниження частоти обертання дизеля і вала насоса. Відцентрові сили тягарців зменшуються, основний важіль 10 і важіль коректора 8 під дією пружини регулятора 6 переміщується в бік збільшення подачі палива, стискуючи пружину коректора 13, переміщують шток 14 до упора в обмежувач 7. При цьому дозатори 1 одержують додатковий хід, збільшуючи подачу палива, а отже, і обертовий момент дизеля. Припинення подачі палива відбувається встановленням важеля керування 6 у положення “Стоп”. При цьому пружина регулятора 6 штовхає вниз основний важіль 10, який встановлює дозатори 1 у крайнє нижнє положення – і подача палива до форсунок припиняється.







Date: 2015-07-01; view: 2357; Нарушение авторских прав



mydocx.ru - 2015-2026 year. (0.895 sec.) Все материалы представленные на сайте исключительно с целью ознакомления читателями и не преследуют коммерческих целей или нарушение авторских прав - Пожаловаться на публикацию