Главная Случайная страница


Полезное:

Как сделать разговор полезным и приятным Как сделать объемную звезду своими руками Как сделать то, что делать не хочется? Как сделать погремушку Как сделать так чтобы женщины сами знакомились с вами Как сделать идею коммерческой Как сделать хорошую растяжку ног? Как сделать наш разум здоровым? Как сделать, чтобы люди обманывали меньше Вопрос 4. Как сделать так, чтобы вас уважали и ценили? Как сделать лучше себе и другим людям Как сделать свидание интересным?


Категории:

АрхитектураАстрономияБиологияГеографияГеологияИнформатикаИскусствоИсторияКулинарияКультураМаркетингМатематикаМедицинаМенеджментОхрана трудаПравоПроизводствоПсихологияРелигияСоциологияСпортТехникаФизикаФилософияХимияЭкологияЭкономикаЭлектроника






Поверка прогиба панели





 

, где - предельный прогиб [1, табл.16]

 

-относительный прогиб.

условие выполняется.

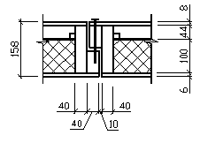
Конструкция стыков панели

 

При неравномерно приложенной нагрузке может произойти смещение продольных кромок панелей относительно друг друга. Для предотвращения повреждения рулонного ковра продольные кромки стыкуются в четверть и сшиваются гвоздями (рис.3).

Рис. 3. Стык панелей воль ската.

 

Разрыв рулонного ковра может произойти и над стыками панелей в местах их опирания на главные несущие конструкции. Над опорой происходит поворот кромок панелей и раскрытие шва:

,

где hоп =15,8см - высота панели на опоре

o - угол поворота опорной грани панели

 

 

Для предупреждения разрыва рулонного ковра опорные стыки панелей необходимо устраивать с компенсаторами в виде отрезков стеклопластиковых волнистых листов толщиной 5мм при волне 50´167мм. Отрезки прибиваются гвоздями к опорным вкладышам и сверху покрываются рулонным ковром (рис.4).

Рис.4. Стык панелей на опоре.

 

Такие компенсаторы создают каналы, необходимые для вентиляции внутреннего пространства покрытия.

Компенсатор, работая в пределах упругости материала, должен допускать перемещения опорных частей панели, связанные с поворотом торцевых кромок панелей и раскрытием швов.

Произведём расчёт компенсатора при aшв=0,1см ( рис. 5).

Перемещение конца компенсатора при изгибе панели:

В этой формуле P× r – изгибающий момент в компенсаторе при его деформировании, который выражается через напряжение:

Из этих выражений получим формулу для проверки нормальных напряжений в волнистом компенсаторе:

,

где - ширина раскрытия шва

Ест =30000кгс/см2 – модуль упругости полиэфирного стеклопластика

(прил 4, табл.8) [1]

dст =0,5см – толщина листа стеклопластика

r =5cм – высота волны

Rст =150кгс/см2 – расчётное сопротивление стеклопластика (прил.4, табл.7) [1]

 

 

Вывод:

Условие прочности и жесткости панели выполняется. Запас по деформациям составляет 50%. В целях экономного расхода материала панели можно уменьшить высоту сечения деревянных досчатых продольных ребер.

 

 







Date: 2015-06-11; view: 465; Нарушение авторских прав



mydocx.ru - 2015-2026 year. (0.489 sec.) Все материалы представленные на сайте исключительно с целью ознакомления читателями и не преследуют коммерческих целей или нарушение авторских прав - Пожаловаться на публикацию