Главная Случайная страница


Полезное:

Как сделать разговор полезным и приятным Как сделать объемную звезду своими руками Как сделать то, что делать не хочется? Как сделать погремушку Как сделать так чтобы женщины сами знакомились с вами Как сделать идею коммерческой Как сделать хорошую растяжку ног? Как сделать наш разум здоровым? Как сделать, чтобы люди обманывали меньше Вопрос 4. Как сделать так, чтобы вас уважали и ценили? Как сделать лучше себе и другим людям Как сделать свидание интересным?


Категории:

АрхитектураАстрономияБиологияГеографияГеологияИнформатикаИскусствоИсторияКулинарияКультураМаркетингМатематикаМедицинаМенеджментОхрана трудаПравоПроизводствоПсихологияРелигияСоциологияСпортТехникаФизикаФилософияХимияЭкологияЭкономикаЭлектроника






Скатные крыши и их конструкции





 

Крыши обычно выполняют в виде наклонных плоскостей-скатов, покрытых кровлей из водонепроницаемых материалов.

В чердачных крышах образуемое между несущей и ограждающей частью покрытия помещение (чердак) используют для размещения инженерного оборудования (труб центрального отопления, вентиляционных коробов и шахт, машинного, отделения лифтов). Для входа на чердак делают лестницы, двери или входные люки. Высоту чердака для движения по нему людей принимают не менее 190 см. Для освещения и проветривания чердака в крыше устраивают чердачные окна (рис.7.1, д).

Форма скатных крыш зависит от формы здания и архитектурных соображений (рис.7.1). Уклон крыш выражают в градусах наклона ската к условной горизонтальной плоскости (рис.7.1, е) через тангенс этого угла в виде дроби или процентов.

В зданиях небольшой ширины часто устраивают односкатные крыши (рис.7.1, а). Крыша здания со стоком воды на две противоположные стороны называется двускатной. Ребро двугранного угла, образуемого в вершине крыши двумя скатами, называется коньком (рис.7.1, б).

Пересечение скатов, образующих выступающий наклонный угол, называется накосным ребром, а западающий угол – ендовой или разжелобкой. Нижняя часть ската называется спуском, а нижняя кромка ската – обрезом кровли. Торец двухскатной крыши может быть решен в виде фронтона (рис.7.1, д). Фронтон образуется в том случае, если скаты крыши перекрывают торцовую стену дома и выступают перед ней.

 

 

Рис.7.1 – Основные типы форм чердачных скатных крыш:

а – односкатная; б – двухскатная; в – крыша с мансардой; г – шатровая, д, е – общий вид и план крыши дома; ж – пример построения ската крыши; и, к – полувальмовые торцы двускатной крыши; л, м, н, о – схемы развертывания чердаков и воздушных прослоек крыши; п – схема образования наледи на карнизеж; р – схема слухового окна; с – обозначения уклонов крыши; 1 – свес крыши; 2 – слуховое окно; 3 – тимпан фронтона; 4 – фронтон; 5 – конек; 6 – скат; 7 – щипец; 8 – ендова; 9 – накосное ребро; 10 – вальма; 11 – полувальма; 12 – приточное вентиляционное отверстие; 13 – вытяжное отверстие; 14 – снег и наледь на карнизе; 15 – решетка жалюзи

 

Крыша квадратного или многогранного в плане здания имеет треугольные скаты – вальмы (рис.7.1, г). Если наклонный скат срезает не весь торец двускатной крыши, а только верхнюю или нижнюю ее часть, то неполный торцовый скат называют полувальмой (рис.7.1, и).

Линия пересечения двух скатов крыши, образующих выступающий двугранный угол, называется накосным ребром (рис.7.1, к). Линия пересечения скатов крыши (линии ендов и накосных ребер) проходит по биссектрисам углов между стенами (рис.7.1, е, ж), поэтому при построении плана крыши необходимо руководствоваться этим правилом, если дом имеет прямые углы, то проекции накосных ребер чертят в плане под углом 45°.

Внутри чердака целесообразно устраивать жилые мансардные помещения (рис.7.1, в), которые в каменных зданиях отделяют от чердака брандмауэрами, а в деревянных – трудносгораемыми перегородками.

Для вентиляции используют слуховые окна и окна, устраиваемые во фронтонах и полуфронтонах полувальмовых крыш, заполняемых створками типа “жалюзи”, хорошо пропускающих воздух и не допускающих попадания в чердак дождевой воды. Слуховые окна размещают на высоте 1-1,2 м от уровня чердачного перекрытия.

Несущие конструкции скатных крыш состоят из стропил и обрешетки. Стропила – основная несущая конструкция крыши, которая, опираясь на стены или отдельные опоры здания, определяет количество скатов и угол их наклона. Стропила выполняют из дерева в виде бревен, брусьев или досок. Все сопряжения отдельных элементов стропил делают с помощью врубок и металлических креплений (скоб, болтов, гвоздей, хомутов). Стропила бывают наклонными и висячими. Наклонными называют стропила, основные элементы которых – стропильные ноги – работают как наклонно положенные балки. Длина таких балок должна быть не более 6,5 м (максимальная длина стандартной деловой древесины). Висячие стропила (рис.7.2) представляют собой простейший тип стропильной фермы, где наклонные стропильные ноги передают распор на затяжку (нижний пояс фермы).

Простейший тип наклонных стропил применяют при односкатных крышах (рис.7.3). Стропильные ноги опираются на брусья – мауэрлаты, уложенные по верхнему обрезу стен. Мауэрлаты служат для равномерного распределения нагрузки от стропильных ног на стену. Их изолируют от каменной стены прокладкой толя.


При наличии внутри здания опор применяют и двускатные наклонные стропила. В этом случае по внутренним опорам укладывают лежни (при внутренней стене) или прогоны (при отдельностоящих опорах), по которым через каждые 3-4 м устанавливают стойки как опоры для верхнего, конькового прогона (рис.7.3). На верхний прогон и мауэрлаты опираются стропильные ноги. Для придания жесткости в продольном направлении от стоек к верхнему прогону подводят подкосы, которые, сокращая пролет верхнего прогона, дает возможность уменьшить его сечение.

 

Рис.7.2 – Висячие стропила (стропильные фермы):

а – с поднятой затяжкой; б – с затяжкой, используемой для подвески чердачного перекрытия; в – с подвесной бабкой; г – с подвесной бабкой и подкосами; д – с двумя подвесными бабками; е – металло-деревянная ферма; 1 – стропильная нога; 2 – мауэрлат;

3 – затяжка; 4 – подвесная бабка; 5 – распорка; 6 – стальная стойка фермы; 7 – подкос; 8 – болт; 9 – коротыш; 10 – деревянная накладка; 11 – хомут; 12 – скоба

При асимметричном расположении внутренних опор верхний прогон не совпадает с коньком крыши. В этом случае в общую конструктивную схему вводят горизонтальную схватку, которая придает дополнительную жесткость в поперечном направлении и гасит возникающий в конструкции распор. Схватку выполняют из досок и располагают ниже верхнего прогона. При пролете стропильной ноги более 4,8 м под нее подводят подкос, который позволяет уменьшить сечение стропильной ноги и придает, как и схватка, дополнительную жесткость в поперечном направлении.

Для предотвращения сноса крыши при сильном ветре стропильные ноги (обычно через одну) крепят проволочными скрутками к костылям (или ершам), забиваемым в стену.

 

Рис.7.3 – Наклонные стропила:

а – односкатных крыш; б – то же, двускатных; в – план стропил; 1 – лежень; 2 – мауэрлат; 3 – подкос; 4 – стропильная нога; 5 – стена; 6 – чердачное перекрытие; 7 – стойка; 8 – прогон; 9 – распорка; 10 – схватка; 1 1 – кобылка; 12 – накосная (диагональная) стропильная нога; 13 – нарожник; 14 – скоба; 15 – болт

Вальмовый скат образуется с помощью диагональных (накосных) стропильных ног и нарожников – укороченных стропильных ног, опирающихся на мауэрлат и диагональную стропильную ногу. Шаг стропильных ног выбирают из расчета оптимального пролета для досок или брусьев. Обычно его принимают равным 0,7 м для дощатой обрешетки и 1,2-1,5 м для брусчатой.

Обрешетка является непосредственным основанием для кровли и устраивается по стропильным ногам в виде настила из досок или брусьев. Характер настила – сплошной или разряженный – зависит от применяемого кровельного материала.

Верхний гидроизоляционный слой крыши, который поддерживается несущими стропильными конструкциями и обрешеткой, называется кровлей. Для скатных крыш применяют различные кровельные материалы, каждый из которых требует определенных уклонов ската. Кровлю выполняют из листовой стали, асбестоцементных листов, черепицы или рулонных материалов (рис.7.4).

Рис.7.4 – Кровли скатных крыш:

а – из кровельной стали; б, в – из плоской асбестоцементной плитки; г – рулонная; д – черепичная; е – из волнистых асбоцементных листов; 1 – мауэрлат; 2 – водосточная воронка; 3 – желоб; 4 – костыли; 5 – крюк; 6 – настенные желоба; 7 – стоячий фальц; 8 – лежачий фальц; 9 – обрешетка; 10 – стропильные ноги; 11 – двойной фальц; 12 – одинарный стоячий фальц; 13 – асбестоцементные листы; 14 – крепежная деталь; 15 – рубероид; 16 – пергамин; 17 – черепица; 18 – листы асбоцемента


 

Лидером кровельных материалов в мире вот уже несколько столетий выступает керамическая черепица. К ее преимуществам относятся огнестойкость, долговечность, экологичность. Недостатком являются большой вес и трудоемкость монтажа.

Традиционно черепицу применяют в западных и юго-западных регионах Украины. Производится она в небольших объемах и в настоящее время вытесняется из строительства металлочерепицей.

Металлочерепицу изготавливают на основе металлического листа, профилированного под черепичный рисунок, с многослойным защитным покрытием и с цветовой гаммой свыше 30 тонов.

Срок службы кровли из металлочерепицы составляет 50 лет. Она выдерживает любые климатические условия и загрязнение атмосферы промышленными выбросами.

Битумная черепица – идеальный кровельный материал, который украшает дом, коттедж или дачу. Она превосходно вписывается в современный городской пейзаж и актуальна на фоне сельского ландшафта.

Достоинством мягкой черепицы является простота монтажа на кровлях с различными уклоном и конфигурацией.

Многослойность черепицы обеспечивает абсолютную гидроизоляцию, что исключает коррозию и гниение основания. Верхний слой из сланцевой посыпки различных цветов защищает битумную черепицу от климатических воздействий и обеспечивает длительный период эксплуатации (до 15 лет).

Профилированный настил-плиты выпускают как трапецевидного, так и волнообразного профиля, они применяются для облицовки стен, а также в качестве кровельного покрытия.

Шиферные кровли продолжают лидировать в массовом строительстве благодаря невысокой цене и удобству монтажа.

Для устройства паропроницаемых гидроизоляционных слоев в подкровельном пространстве предназначены подкровельные диффузионные пленки. Применение их необходимо прежде всего при использовании металлочерепицы, а также других кровельных материалов.

Использование диффузионных пленок обеспечивает:

а) защиту чердачных помещений от проникновения пыли;

б) защиту чердачных помещений от остаточной дождевой и талой воды;

в) условия для циркуляции воздуха, необходимой для вентиляции подкровельного пространства и, как следствие, обеспечения эффективной теплоизоляции крыши;

г) удаление водяных паров из теплоизоляции (благодаря микроперфорации).

Для повышения огнестойкости деревянных конструкций крыш их окрашивают известковыми или специальными растворами. Все деревянные конструкции, работающие в контакте с каменными, нужно тщательно антисептировать и между ними прокладывать толь или рубероид.

Бесчердачные (совмещенные) покрытия выполняют с уклоном до 5%. Они могут быть вентилируемыми (рис.7.5, в) наружным воздухом через воздушные прослойки или через каналы в верху панели с целью избежания конденсата и невентилируемыми (рис.7.5, а, б) из сплошных или многослойных панелей.


Вода с совмещенных крыш отводится по внутренним водостокам (организованный водосток). С чердачных покрытий вода может отводиться по водосточным желобам, водосборным воронкам и водосточным трубам (организованный водосток) и неорганизованный водоотвод, обеспечивающий сброс воды непосредственно с обреза кровли. При неорганизованном отводе воды следует предусматривать свес карниза не менее 550 мм.

 

 

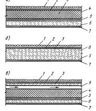
1 2 3
а)

    Рис.7.5 – Принципиальные конструктивные схемы совмещения крыш: 1 – защитный слой; 2 – рулонный ковер; 3 – стяжка (из раствора или сборных железобетонных плит); 4 – теплоизоляция; 5 – пароизоляция; 6 – несущая конструкция; 7 – отделочный слой; 8 – теплоизоляционный несущий слой; 9 – воздушная прослойка  

 

 







Date: 2015-06-11; view: 1757; Нарушение авторских прав



mydocx.ru - 2015-2026 year. (0.352 sec.) Все материалы представленные на сайте исключительно с целью ознакомления читателями и не преследуют коммерческих целей или нарушение авторских прав - Пожаловаться на публикацию