Главная Случайная страница


Полезное:

Как сделать разговор полезным и приятным Как сделать объемную звезду своими руками Как сделать то, что делать не хочется? Как сделать погремушку Как сделать так чтобы женщины сами знакомились с вами Как сделать идею коммерческой Как сделать хорошую растяжку ног? Как сделать наш разум здоровым? Как сделать, чтобы люди обманывали меньше Вопрос 4. Как сделать так, чтобы вас уважали и ценили? Как сделать лучше себе и другим людям Как сделать свидание интересным?


Категории:

АрхитектураАстрономияБиологияГеографияГеологияИнформатикаИскусствоИсторияКулинарияКультураМаркетингМатематикаМедицинаМенеджментОхрана трудаПравоПроизводствоПсихологияРелигияСоциологияСпортТехникаФизикаФилософияХимияЭкологияЭкономикаЭлектроника






Каротаж, оборудование и заканчивание скважины





После бурения скважины до проектной глубины обычно про­водят скважинные исследования (каротаж), как в открытом, так и в обсаженном стволе с помощью специальной аппара­туры, спускаемой на кабеле.

Основные дели исследования скважины в необсаженном стволе — определение пористости, водонасыщенности и границ продуктивной зоны или зон. Эти параметры необходимы для установления количества извлекаемой нефти и времени экс­плуатации пласта. Скважинные исследования подробно из­ложены в работе. В большинстве разведочных и эксплуатационных скважин проводят текущие исследования и определяют пластовое давле­ние, тип и качество углеводородов. Эксплуатационные исследо­вания проводят для определения показателя продуктивности нефтяной или газовой скважины. Опробование испытателем пласта, спущенным на колонне бурильных труб, проводят с целью контроля скважинных эксплуатационных характери­стик, для определения видов флюида и некоторых пластовых параметров.

Заканчивание нефтяной скважины включает установку экс­плуатационного пакера, спуск колонны НКТ и перфорацию продуктивной зоны (зон). Эксплуатационный пакер устанавли­вают непосредственно над продуктивной зоной, в результате чего з-атрубное пространство изолируется от пластового давле­ния, а также ограничивается поступление жидкости в НКТ. НКТ навинчивают на подвесное устройство в колонной головке (рис. 1.15) и устанавливают в катушку колонной головки.

В районах с несколькими нефтяными пластами в одной и той же скважине нельзя допускать двойную эксплуатацию, когда две колонны НКТ спускают в разные продуктивные зоны. Таким образом, необходимо два пакера для изоляции продук­тивных зон от затрубного пространства.

К верхнему фланцу катушки головки НКТ присоединяют фонтанную арматуру (елку).

Фонтанная арматура — это стальное устройство с полым каналом внутри, соединенное с верхней частью НКТ. Она имеет ряд клапанов для управления потоком углеводородов, посту­пающих из

скважины.

 

П

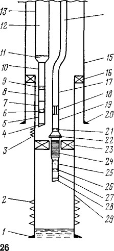
Рис. 1.15. Схема оборудования для эксплуа­тации скважины двумя колоннами НКТ:

/ — башмак обсадной колонны диаметром 177,8 мм; 2,3 — интервалы перфорации для длинной и корот­кой колонн НКТ; 4, 28 — направляющий безмуфто­вый башмак диаметром 60,3 мм с резьбой типа CS для спуска приборов на кабеле; 5 — короткий без­муфтовый переводник с резьбой типа CS; 6 — нип­пельный переводник диаметром 60,3 мм типа XN фирмы «Отис» (имеет суженное проходное отвер­стие); 7 — перфорированная труба-фильтр диаметром 60,3 мм; «— труба НКТ диаметром 50,8 мм; 9, 21 — ниппельный переводник диаметром 60,3 мм типа X фирмы «Отис»; 10, П— НКТ диаметром 60,3 мм; // — переводник НКТ 60,3X73 мм; 12 — НКТ диа­метром 73 мм; 13 — короткая колонна НКТ 60.3Х Х73 мм; 14 — длинная колонна НКТ диаметром 73 мм; 15 — обсадная колонна диаметром 219 мм; 16 — подвеска потайной обсадной колонны диамет­ром 177,8 мм; 18 — устройство типа SSD фирмы «Отис» со скользящей боковой дверцей; 19 — секция защитных труб диаметром 60,3 мм; 20 — башмак об­садной колонны диаметром 219 мм; 22 — локатор (посадочный переводник) типа G-22 фирмы «Бэй-кер»; 23 — пакер типа F-1 фирмы «Бэйкер»; 24 — уплотнительное устройство; 25 — безмуфтовые пер­форированные трубы диаметром 60,3 мм с резьбой; 26 — ниппельный переводник диаметром 60,3 мм типа XN; 27 — короткий переводник диаметром 60,3 мм; 29 — потайная колонна диаметром 177,8 мм

 







Date: 2015-07-17; view: 992; Нарушение авторских прав



mydocx.ru - 2015-2026 year. (0.328 sec.) Все материалы представленные на сайте исключительно с целью ознакомления читателями и не преследуют коммерческих целей или нарушение авторских прав - Пожаловаться на публикацию