Главная Случайная страница


Полезное:

Как сделать разговор полезным и приятным Как сделать объемную звезду своими руками Как сделать то, что делать не хочется? Как сделать погремушку Как сделать так чтобы женщины сами знакомились с вами Как сделать идею коммерческой Как сделать хорошую растяжку ног? Как сделать наш разум здоровым? Как сделать, чтобы люди обманывали меньше Вопрос 4. Как сделать так, чтобы вас уважали и ценили? Как сделать лучше себе и другим людям Как сделать свидание интересным?


Категории:

АрхитектураАстрономияБиологияГеографияГеологияИнформатикаИскусствоИсторияКулинарияКультураМаркетингМатематикаМедицинаМенеджментОхрана трудаПравоПроизводствоПсихологияРелигияСоциологияСпортТехникаФизикаФилософияХимияЭкологияЭкономикаЭлектроника






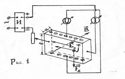
Краткая теория исследуемого явления. Если проводник (или полупроводник), по которому течет ток, поместить в однородное магнитное поле, направленное под углом к силовым линиям электрического поля





Если проводник (или полупроводник), по которому течет ток, поместить в однородное магнитное поле, направленное под углом к силовым линиям электрического поля, вызываю­щего протекание тока, то в нем возникает разность потенциалов, направленная перпендикулярно плоскости, содержащей векторы плотности тока и напряженности магнитного поля. Этот эффект, названный в честь Холла, открывшего его в 1879 году, стал одним из самых действенных методов исследования свойств носителей заряда в полупроводниках.

Почему же происходит возникновение поперечной разности потенциалов? Рассмотрим образец полупроводника с электронной прово­димостью, вдоль которого протекает электрический ток I (рис. 1), помещенный в однородное магнитное поле с индукцией В.

Рис. 1

В этом случае на электроны, движущиеся под дей­ствием сил электрического поля, вызывающего протекание электрического тока I, со стороны магнитного поля действует сила Лоренца или в векторной форме . Здесь е – заряд электрона; – дрейфовая скорость движения электронов под дей­ствием продольного электрического поля ; величина вектора магнитной индукции.

Под действием силы Лоренца электроны отклоняются к верхней грани образца, и на этой грани накапливается от­рицательный заряд, а на противоположной грани остается нескомпенсированный положительный заряд. Вследствие этого воз­никает поперечное электрическое поле и поперечная (холловская) разность потенциалов UX.

Поперечное электрическое поле действует на электро­ны с силой, направленной противоположно силе Лоренца и равной

Процесс накопления заряда продолжается до тех пор, пока действие поперечного электрического поля не уравновесит силу Лоренца. После этого электроны будут двигаться вдоль образца, накопление заряда прекратится и установится ста­ционарное состояние.

Если вектор магнитной индукции перпендикулярен век­тору напряженности продольного электрического поля (этот случай и реализован в экспериментальной установке данной работы), то сила Лоренца равна и для ста­ционарного состояния получаем . Отсюда можно вычислить напряженность поперечного элек­трического поля

.

Это поле складывается с полем в результирующее поле , при этом угол между направлением тока и результирующим электрическим полем (угол Холла) можно найти по формуле

 







Date: 2015-05-18; view: 724; Нарушение авторских прав



mydocx.ru - 2015-2026 year. (0.637 sec.) Все материалы представленные на сайте исключительно с целью ознакомления читателями и не преследуют коммерческих целей или нарушение авторских прав - Пожаловаться на публикацию