Главная Случайная страница


Полезное:

Как сделать разговор полезным и приятным Как сделать объемную звезду своими руками Как сделать то, что делать не хочется? Как сделать погремушку Как сделать так чтобы женщины сами знакомились с вами Как сделать идею коммерческой Как сделать хорошую растяжку ног? Как сделать наш разум здоровым? Как сделать, чтобы люди обманывали меньше Вопрос 4. Как сделать так, чтобы вас уважали и ценили? Как сделать лучше себе и другим людям Как сделать свидание интересным?


Категории:

АрхитектураАстрономияБиологияГеографияГеологияИнформатикаИскусствоИсторияКулинарияКультураМаркетингМатематикаМедицинаМенеджментОхрана трудаПравоПроизводствоПсихологияРелигияСоциологияСпортТехникаФизикаФилософияХимияЭкологияЭкономикаЭлектроника






Воздушный выключатель ВВН-35-2





Воздушный выключатель типа ВВН-35-2 (В - выключатель, В - воздушный, Н - наружной установки, 35 - номинальное напряжение, 2-количество резервуаров сжатого воздуха) предназначен для использования в электроустановках переменного тока частотой 50 Гц.

Номинальный рабочий ток выключателя 2000 А, номинальный ток отклонения 31,5 кА, полное время отклонения 0,08 с (собственное время 0,06 с).

На рисунке 1.9 показан общий вид выключателя ВВН-35-2. Основанием выключателя являются два соединенных между собой резервуара. На резервуаре 15 установлены три дутьевых клапана 4 и два шкафа управления 9 и 11.

На каждом из дутьевых клапанов установлено по два опорных изолятора 3 и гасительная камера 2 с клапаном отсечки 13 и выхлопным устройством 1. На каждом полюсе выключателя имеются токосъемные фланцы 16.

На резервуаре 15 расположен также промежуточный клапан 10, осуществляющий управление дутьевыми клапанами через распределительные трубы 5.

Выключатель снабжен тремя указателями продувки 14 и обратными клапанами продувки. Болт заземления 6 расположен на лапе резервуара 15.

В шкафу управления 11 расположены: манометр 12, являющийся указателем наличия давления в гасительной камере; промежуточный клапан; обратный клапан; кабельная муфта 8, через которую осуществляется ввод проводов вторичной коммутации в шкаф управления; блок пусковых клапанов с электромагнитами; подогреватель и ниппель для присоединения трубки местного пневматического отключения.

В шкафу управления 9 расположены лампы 7 (зеленая и красная) световой сигнализации положения выключателя, блок-контактное устройство и кабельные муфты 8.

Блок-контактное устройство состоит из сигнально-блокировочных контактов (СБК), привода СБК, клемм, образующих три колодки, и счетчика с кронштейном.

Рисунок 1.9 - Выключатель ВВН 35-2

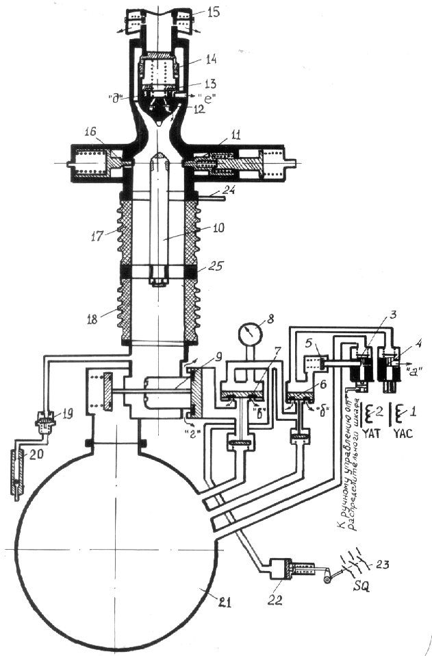
На рисунке 1.10 приведены полюс выключателя в разрезе и электропневматическая схема (для положения выключателя “отключено”), на рисунке 1.11 - разрез клапана отсечки выключателя ВВН-35-2.

На токосъемном фланце 25 (рисунок 1.10), в который при помощи гаек закреплен неподвижный контакт 10 с тугоплавкими контактами, расположен изолятор 17 гасительной камеры. На верхнем конце изолятора камеры расположен токосъемный фланец 24 с корпусом, в котором крепится система подвижных контактов с антивибрационными контактами: два дугогасительных 11 и четыре главных (рабочих) 16, передающих ток на токосъемный фланец 24.

Для включения выключателя командный импульс через блок - контакты SQ 23 и нормально замкнутые блок - контакты электромагнита отключения 2 (YAT) подается на обмотку электромагнита включения 1 (YAC), якорь которого открывает пусковой клапан включения 4, благодаря чему сжатый воздух, находящийся над поршнем промежуточного клапана 6, сбрасывается в атмосферу через открывшееся отверстие (а) пускового клапана включения 4.

Промежуточный клапан 6 под действием пружины перемещается вверх и закрывает доступ воздуха из резервуара 21 к поршню промежуточного клапана 7. Остаток сжатого воздуха, находящийся над поршнем 7, сбрасывается в атмосферу через открывшийся кольцевой зазор (б) в корпусе промежуточного клапана 6; под действием пружины промежуточный клапан 7 перемещается вверх, прекращая доступ воздуха из резервуара 21 к поршню дутьевого клапана 9. Остаток воздуха сбрасывается в атмосферу через открывшийся кольцевой зазор (в) в корпусе промежуточного клапана 7, и дутьевой клапан 9 под действием пружины закрывается. В результате этого прекращается доступ воздуха в гасительную камеру и создается возможность для эвакуации воздуха из внутренней полости камеры через изоляторы 17, 18 и открывшийся кольцевой зазор (г) в корпусе дутьевого клапана.

После сброса давления в камере дугогасительные контакты 11 вместе с антивибрационными контактами под действием пружин начинает двигаться на замыкание. С небольшим отставанием от них начинают двигаться на замыкание главные контакты 16.

Замыкание с неподвижным контактом 10 первыми осуществляют антивибрационные контакты, причем их нажатие увеличивается по мере хода на включение дугогасительных контактов. Кроме того, давление воздуха на антивибрационные контакты с обеих сторон всегда уравновешено, что предотвращает отскок антивибрационных контактов при ударе о неподвижный контакт. Через некоторое время, определяемое ходом 12 мм, замыкаются дугогасительные контакты, а затем главные.

В процессе включения выключателя воздух, находящийся в объеме под клапаном 14, отжимает шайбу 12 и выходит через отверстие в полости гасительной камеры. После этого антикомпрессионный клапан 4 (рисунок 1.11) и шайба 10 под действием своих пружин возвращаются в верхнее положение.


При закрытии промежуточного клапана 6 (рисунок 1.10) воздух выходит из привода СБК-22 и поршень привода под действием пружины, перемещаясь в крайнее левое положение, поворачивает вал СБК 23, разрывая, тем самым, цепи включения и подготавливая цепи отключения.

Для отключения включателя командный импульс через блок - контакты SQ 23 подается на электромагнит отключения 2 (YAT), якорь которого открывает пусковой клапан отключения 3. После открытия пускового клапана отключения 3 воздух, идущий из резервуара 21, открывает обратный клапан 5, поступает в пространство над поршнем промежуточного клапана 6 и открывает его. В результате этого воздух из резервуара поступает в пространство над поршнем промежуточного клапана 7 и открывает его. Через этот клапан воздух поступает в дутьевой клапан 9, перемещает его поршень в левое положение и, тем самым, открывает его. Через открывшийся дутьевой клапан 9 сжатый воздух из резервуара 21 поступает в гасительную камеру и клапан отсечки (рисунок 1.11) и перемещает клапан 3 и антикомпрессионный клапан 4 вниз, благодаря чему начинается истечение воздуха из камеры (рисунок 1.10) через выхлопное устройство 15. После открытия клапана 14 размыкаются главные 16 и дугогасительные 11 контакты, но электрическая цепь не размыкается, пока дугогасительные контакты не пройдут расстояние 12 мм и не увлекут за собой антивибрационные контакты. Это предохраняет главные контакты от обгорания.

Рисунок 1.10 - Электропневматическая схема ВНН-35-2

После размыкания антивибрационных контактов загорается дуга между ними и неподвижным контактом, которая затем перебрасывается потоком сжатого воздуха на тугоплавкую накладку и тугоплавкий наконечник 9 (рисунок 1.11). Затем дуга гаснет, охлаждаясь потоком сжатого воздуха.

В процессе хода клапана 3 сначала частично, а затем полностью совмещаются отверстия в клапане 3 и гильзе 5, и начинается натекание воздуха в объем под клапаном 3. В конце хода антикомпрессионный клапан 4 закрывает кольцевой зазор 12, преграждая воздуху выход в атмосферу из объема под клапаном через ниппель 7. Время нахождения клапана 3 в открытом состоянии определяется количеством отверстий в нем и должно быть больше времени горения дуги.

Клапан 3 закрывает выход воздуху в атмосферу, когда давление в полости под клапаном, натекшего через отверстия в клапане 3 и в гильзе 5 становится равным давлению в камере. В процессе отключения выключатели шайба 10 прижата воздухом и пружиной к крайнему верхнему положению и не допускает натекания воздуха в объем под клапаном 3 через отверстие над шайбой 10.

Рисунок 1.11 - Клапан отсечки воздушного выключателя ВВН-35-2

 

При открытии промежуточного клапана 7 (рисунок 1.10) воздух из резервуара 21 поступает в пространство над поршнем привода СБК 22, который, перемещаясь в крайнее правое положение, поворачивает вал СБК 23, разрывая, тем самым, цепи отключение и подготавливая цепи включение, идущие через блок - контакты.

Система вентиляции предназначена для непрерывной продувки внутренних полостей опорных изоляторов и камеры выключатели при его включенном положении, так как в отключенном положении внутренние полости заполнены сжатым воздухом. Продувка осуществляется следующим образом: сжатый воздух пониженного давления поступает от редукторного клапана, установленного в распределительном шкафу, по трубкам к полюсам выключателя.

На подходе к каждому полюсу установлен указатель продувки 20, представляющий собой трубку из органического стекла с помещенным в нее шариком.

При нормальном давлении воздуха для продувки шарик находится примерно в среднем положении. От указателя продувки 20 воздух поступает через обратный клапан 19 продувки в полость дутьевого клапана 9 и через полые изоляторы 17 и 18 в гасительную камеру. Вентиляционный воздух выходит из камеры и клапана отсечки (рисунок 1.11) через кольцевую щель между клапаном 3 и гильзой 5, кольцевое отверстие 12 и отверстие в гильзе 7.







Date: 2015-05-17; view: 2477; Нарушение авторских прав



mydocx.ru - 2015-2026 year. (1.533 sec.) Все материалы представленные на сайте исключительно с целью ознакомления читателями и не преследуют коммерческих целей или нарушение авторских прав - Пожаловаться на публикацию