Главная Случайная страница


Полезное:

Как сделать разговор полезным и приятным Как сделать объемную звезду своими руками Как сделать то, что делать не хочется? Как сделать погремушку Как сделать так чтобы женщины сами знакомились с вами Как сделать идею коммерческой Как сделать хорошую растяжку ног? Как сделать наш разум здоровым? Как сделать, чтобы люди обманывали меньше Вопрос 4. Как сделать так, чтобы вас уважали и ценили? Как сделать лучше себе и другим людям Как сделать свидание интересным?


Категории:

АрхитектураАстрономияБиологияГеографияГеологияИнформатикаИскусствоИсторияКулинарияКультураМаркетингМатематикаМедицинаМенеджментОхрана трудаПравоПроизводствоПсихологияРелигияСоциологияСпортТехникаФизикаФилософияХимияЭкологияЭкономикаЭлектроника






Циклы паротурбинных установок





Современная стационарная теплоэнергетика базируется в основном на паровых теплосиловых установках. Продукты сгорания топлива в этих установках являются лишь промежуточным теплоносителем (в отличие от ДВС и ГТУ), а рабочим телом служит чаще всего водяной пар.

Металлы, которыми располагает современное машиностроение, позволяют перегревать пар до 550 – 600 °С. Все без исключения тепловые электрические станции на органическом топливе работают сейчас на перегретом паре, а иногда пар на станции перегревают дважды и даже трижды. Перегрев пара все шире применяется и на атомных электростанциях, особенно в реакторах на быстрых нейронах.

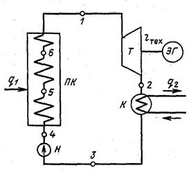
Цикл Ренкина на перегретом паре. Этот цикл был предложен в 50-х годах ХIХ века шотландским инженером и физиком Ренкиным и почти одновременно Клаузиусом. Принципиальная схема, по которой работает современная паросиловая установка, приведена на рис. 6.7, а изображение идеального цикла Ренкина в Т, s - диаграмме – на рис. 6.8.

Теплота в этом цикле подводится по изобаре 4–5–6–1. По линии 4–5, практически совпадающей с нижней пограничной кривой, вода нагревается до температуры кипения, соответствующей давлению р 1 (в углу, в кружочке показано, что точка 4 лежит на самом деле несколько выше пограничной кривой, но так как вода несжимаема, то эта разница заметна лишь при очень больших давлениях р 1 воды, поступающей в котел). По линии 5–6 вода кипит, превращаясь в сухой насыщенный пар (на этом участке изобара совпадает с изотермой, так как температура насыщенного пара зависит только от его давления). Наконец, по линии 6–1 пар перегревается до заданной температуры. На схеме рис. 6.7 условно показаны экономайзерная (4–5), кипятильная (5–6) поверхности нагрева и пароперегреватель (6–1), составляющие паровой котлоагрегат (или просто котел).

Рис. 6.7. Схема паросиловой установки: ПК – паровой котел; Т – паровая турбина; ЭГ – электрогенератор; К – конденсатор; Н – насос Рис. 6.8. Цикл Ренкина на перегретом паре в Т, s - координатах

 

В процессе 4–5–6–1 каждый килограмм пара получает теплоту q 1, эквивалентную площади 8–4–5–6–1–7 на рис 6.8. Из котла пар поступает в турбину, где расширяясь адиабатно (d q = 0, s = const) до давления р 2 (точка 2), совершает техническую работу, затрачиваемую на привод электрического генератора. Пар из турбины (обычно влажный, как видно из рис 6.8) с давлением р 2 попадает в конденсатор, где конденсируется по линии 2–3, отдавая теплоту охлаждающей воде (ее берут из водоема) или охлаждающему воздуху. При этом холодному источнику (воде или воздуху) каждый килограмм пара, превращаясь в конденсат, отдает теплоту q 2, эквивалентную площади 8–3–2–7.

Из конденсатора конденсат подается насосом в котел. Поскольку вода почти несжимаема, на ее сжатие теоретически нужно затратить очень небольшую энергию (см. процесс 3–4 в кружочке на рис. 6.8), то есть точки 3 и 4 в идеальном цикле практически совпадают и техническую работу, затраченную в насосе, можно считать равной нулю (в реальном цикле необходимо, конечно, учитывать сопротивление трубопроводов течению воды по ним).

В результате полезная работа, совершенная одним килограммом пара за цикл , эквивалентна площади 1–2–3–4–5–6–1.

В соответствии с первым законом термодинамики для потока , , термический КПД цикла Ренкина

.

Если пренебречь работой насоса, считая что h 3= h 4, то

. (6.6)

где – энтальпия кипящей воды при давлении р 2.

Из формулы (6.6) видно, что КПД идеального цикла Ренкина определяется значениями энтальпий пара до турбины h1 и после нее h2 и энтальпии воды , находящейся при температуре кипения t2. В свою очередь эти значения определяются тремя параметрами цикла: давлением р1 и температурой t1 пара перед турбиной и давлением р2 за турбиной, т.е. в конденсаторе.

В самом деле, зная р 1 и t 1, легко отыскать положение точки 1 в h, s - диаграмме и найти энтальпию h 1. Пересечение адиабаты, проведенной из точки 1, с изобарой р 2 определяет положение точки 2, т. е. энтальпию h 2. Наконец, энтальпия воды, закипающей при давлении р 2, зависит только от этого давления.

Перегрев пара увеличивает среднюю температуру подвода теплоты в цикле, не меняя при этом температуру отвода теплоты. Поэтому термический КПД паросиловой установки возрастает с увеличением температуры пара перед двигателем. Для примера ниже приведена зависимость ht от t 1 при абсолютных давлениях р 1 = 9,8 МПа и р 2 = 3,9 кПа:

, °С        
ht, % 40,5   42,5 44,2

Повышение параметров пара определяется уровнем развития металлургии, поставляющей металлы для котлов и турбин. Получение пара с температурой 535 – 565 °С стало возможным лишь благодаря применению низколегированных сталей, из которых изготовляются пароперегреватели и горячие части турбин. Переход на более высокие параметры (580 – 650 °С) требует применения дорогостоящих высоколегированных (аустенитных) сталей.


При уменьшении давления р 2 пара за турбиной уменьшается средняя температура t 2 отвода теплоты в цикле, а средняя температура подвода теплоты меняется мало. Поэтому, чем меньше давление пара за турбиной, тем выше КПД паросиловой установки.

Давление за турбиной, равное давлению пара в конденсаторе, определяется температурой охлаждающей воды. Если среднегодовая температура охлаждающей воды на входе в конденсатор составляет приблизительно 10 -15 °С, то из конденсатора она выходит нагретой до 20 – 25 °С. Пар может конденсироваться только в том случае, если обеспечен отвод выделяющейся теплоты, а для этого нужно, чтобы температура пара в конденсаторе была больше температуры охлаждающей воды хотя бы на 5 – 10 °С. Поэтому температура насыщенного пара в конденсаторе составляет обычно 25 - 35 °С, а абсолютное давление этого пара р 2 соответственно 3 – 5 кПа. Повышение КПД цикла за счет дальнейшего снижения р 2 практически невозможно из-за отсутствия естественных охладителей с более низкой температурой.

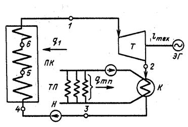
Теплофикация. Имеется, однако, возможность повысить эффективность паросиловой установки путем увеличения, а не уменьшения давления и температуры за турбиной до такой величины, чтобы отбросную теплоту (которая составляет больше половины всего количества теплоты затраченной в цикле) можно было использовать для отопления, горячего водоснабжения и различных технологических процессов (рис. 6.9). С этой целью охлаждающая вода, нагретая в конденсаторе К, не выбрасывается в водоем, как в чисто конденсационном цикле, а направляется в отопительные приборы теплового потребителя ТП и? охлаждаясь в них, отдает полученную в конденсаторе теплоту. В результате станция, работающая по такой схеме, одновременно вырабатывает и электрическую энергию, и теплоту. Такая станция называется теплоэлектроцентралью (ТЭЦ).

Рис. 6.9. Схема установки для совместной выработки тепловой и электрической энергии: ПК – паровой котел; Т – паровая турбина; К – конденсатор-подогреватель; Н – насос; ТП – тепловой потребитель. Цифры соответствуют точкам цикла в Т, s - диаграмме

Охлаждающую воду можно использовать для отопления лишь при том условии, что ее температура не ниже 70-100 °С. Температура пара в конденсаторе (подогревателе) К должна быть хотя бы на 10-15 °С выше. В большинстве случаев она получается больше 100 °С, а давление насыщенного пара р 2 при этой температуре выше атмосферного. Поэтому турбины, работающие по такой схеме, называются турбинами с противодавлением.

Итак, давление за турбиной с противодавлением получается обычно не менее 0,1-0,15 МПа вместо 4 кПа за конденсационной турбиной, что, конечно, приводит к уменьшению работы пара в турбине и соответствующему увеличению количества отбросной теплоты. Это видно из рис. 6.10, где полезно использованная теплота q ц в конденсационном цикле изображается площадью 1–2¢–3¢–4¢–5–6, а при противодавлении – площадью 1–2–3–4–5–6. Площадь 2–2¢–3¢–4 дает уменьшение полезной работы из-за повышения давления за турбиной с до р 2.


Рис. 6.10. Теплофикационный цикл в Т, s - диаграмме

Термический КПД установки с противодавлением получается ниже, чем конденсационной установки, т. е. в электроэнергию превращается меньшая часть теплоты топлива. Зато общая степень использования этой теплоты становится значительно большей, чем в конденсационной установке. В идеальном цикле с противодавлением теплота, затраченная в котлоагрегате на получение пара (площадь 1–7–8–4–5–6), полностью используется потребителями. Часть ее (площадь 1–2–4–5–6) превращается в механическую или электрическую энергию, а часть (площадь 2–7–8–4) отдается тепловому потребителю в виде теплоты пара или горячей воды.

КПД паросиловых установок в среднем выше, чем у ГТУ, и близок к КПД ДВС, прежде всего за счет хорошего использования располагаемой энергии пара. (Как указано выше, его температура на выходе из конденсационной турбины составляет 28-30 °С). С другой стороны, располагаемый теплоперепад в турбине и связанный с этим относительно низкий удельный расход пара на выработку 1 кВт позволяют создать паровые турбины на колоссальные мощности – до 1200 МВт в одном агрегате! Поэтому паросиловые установки безраздельно господствуют как на тепловых, так и на атомных электростанциях. Паровые турбины применяют также для привода турбовоздуходувок (в частности, в доменном производстве). Недостаток паротурбинных установок – большие затраты металла, связанные прежде всего с большой массой котлоагрегата. Поэтому они практически не применяются на транспорте.

 







Date: 2015-05-09; view: 1264; Нарушение авторских прав



mydocx.ru - 2015-2026 year. (0.343 sec.) Все материалы представленные на сайте исключительно с целью ознакомления читателями и не преследуют коммерческих целей или нарушение авторских прав - Пожаловаться на публикацию