Главная Случайная страница


Полезное:

Как сделать разговор полезным и приятным Как сделать объемную звезду своими руками Как сделать то, что делать не хочется? Как сделать погремушку Как сделать так чтобы женщины сами знакомились с вами Как сделать идею коммерческой Как сделать хорошую растяжку ног? Как сделать наш разум здоровым? Как сделать, чтобы люди обманывали меньше Вопрос 4. Как сделать так, чтобы вас уважали и ценили? Как сделать лучше себе и другим людям Как сделать свидание интересным?


Категории:

АрхитектураАстрономияБиологияГеографияГеологияИнформатикаИскусствоИсторияКулинарияКультураМаркетингМатематикаМедицинаМенеджментОхрана трудаПравоПроизводствоПсихологияРелигияСоциологияСпортТехникаФизикаФилософияХимияЭкологияЭкономикаЭлектроника






Оборудование и инструмент для самоспасания и спасания людей





Оборудование и инструмент делят на две группы: лестницы и спасательные средства. К спасательным средствам относятся: пожарный пояс, пожарный карабин и спасательная веревка.

Лестницы и спасательная веревка являются частью укомплектования автоцистерны. Пояс и пожарный карабин входят в снаряжение пожарного.

Ручные пожарные лестницы предназначены для подъема пожарных на верхние этажи зданий и работы внутри помещений. В пожарной охране России применяются три вида ручных пожарных лестниц: лестница штурмовая, лестница-палка и трехколенная выдвижная лестница. Общие требования для изготовления ручных пожарных лестниц и их сертификационных испытаний обусловлены НПБ 171-98.Для всех типов лестниц общими являются следующие требования. Шаг ступени лестницы должен быть не более 355 мм, а ширина лестниц в свету должна быть не менее 250 мм.

Лестница штурмовая – лестница ручная пожарная, конструктивно состоящая из двух параллельных тетив, жестко соединенных опорными ступеньками, и оборудованная крюком для подвески на опорную поверхность (рис. 1.5).

Тетивы 1 и 4 лестницы соединены тринадцатью ступенями 2 и 5. Кроме того, они в пяти местах стянуты металлическими стяжками 3 и 6. На трех верхних ступенях закреплен крюк 7. Сечение крюка увеличивается по направлению к хвостовой части, что приближает его к телу равного сопротивления по изгибу.

Лестницы могут быть изготовленными из дерева или металла.

На внутренней стороне деревянных лестниц с обеих сторон ступеней проложены в пазах стальные канатики, закрепленные за верхнюю и нижнюю стяжки. Канатики предназначены для предотвращения несчастных случаев при изломе тетив.

На нижних концах тетив установлены башмаки, а на верхних – наконечники.

Металлические лестницы изготавливаются из алюминиевого сплава Д16Т. Масса лестниц не более 10 кг.

Лестницы штурмовые используются пожарными для подъема на этажи зданий через окна или балконы. Для обеспечения безопасности они также применяются при работе на крутых скатах крыш.

Лестница-палка (рис. 1.6) – лестница ручная складная, конструктивно состоящая из двух параллельных тетив, шарнирно соединенных опорными ступенями. Тетивы 1 и 2 лестницы соединены восемью ступенями 3.

 

Концы ступеней имеют металлическую оковку и втулки, через которые проходят оси для поворота ступеней. Шарнирное соединение 4 ступеней с тетивами позволяет их складывать, перемещая одну тетиву относительно другой.

Одни концы тетив имеют деревянные наделки 5. За них убирают другую тетиву при складывании лестницы. Наделки прикреплены к тетивам стяжками 6 и обтянуты наконечниками 7. Другие концы тетив скошены под углом 45о и защищены металлическими пластинами 8.

В сложенном состоянии лестница представляет собой палку с закругленными и окованными концами. Масса лестницы 10,5 кг.

Лестница-палка предназначена для работы в помещениях, подъема пожарных на первый этаж через оконные проемы горящих зданий и сооружений, а также для учебно-тренировочных занятий.

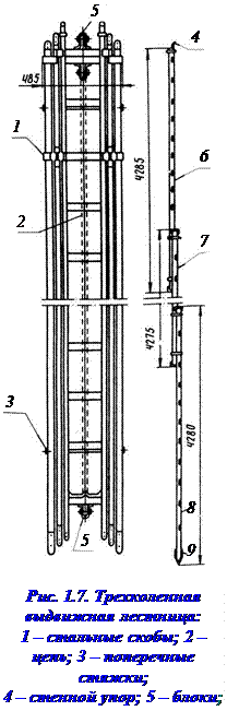
Трехколенная выдвижная лестница – лестница ручная пожарная, состоящая из трех параллельно связанных колен и оборудованная механическим устройством для перемещения их относительно друг друга в осевом направлении в целях регулирования ее длины.

Лестница (рис. 1.7) состоит из трех телескопически соединенных колен 6, 7 и 8, механизма выдвигания и механизма останова. Каждое колено состоит из двух тетив, соединенных двенадцатью ступенями. Тетива нижнего колена 8 стянута внизу, посередине и наверху стяжками 3.

Колена соединены между собой стальными скобами 1. Нижние концы тетив нижнего колена имеют стальные башмаки 9, а верхние концы верхнего колена имеют стенные упоры 4. Среднее колено выдвигается цепью 2.

Механизм выдвигания работает в соответствии с принципиальной схемой, представленной на рис. 1.8. Среднее колено 7 (см. рис. 1.8) соединяется с первым коленом 8 цепью 2, огибающей ролики 5 и верхний блок нижнего колена. При перемещении цепи по часовой стрелке среднее колено 7 будет выдвигаться вверх. Верхнее колено 6 тросом 3 через блок среднего колена 7 соединено с центром верхнего блока первого колена 8. При выдвигании среднего колена 7 будет перемещаться вверх и верхнее колено 6. Среднее колено по отношению к нижнему совершает относительное движение. Обозначим его скорость через v ' 'r. Верхнее колено, в свою очередь, совершает относительное движение по отношению к среднему колену со скоростью v '''r, в то же время перемещается вместе со средним коленом в переносном движении. Таким образом, абсолютная скорость v ''' движения верхнего колена равна v ''' = v "r + v '''' r. (1.1)


При равенстве длины всех трех колен абсолютная скорость выдвигания верхнего колена равна удвоенной скорости выдвигания среднего колена, т.е.

v ''' = 2 v "r.

Для фиксирования выдвинутой лестницы на заданной высоте применяется механизм останова. Он установлен на тетиве второго колена на нижней его части. Механизм состоит из двух частей: направляющего угольника и упора, а также специального валика с двумя упорами и рычагом.

Тетиву колена охватывает уголок (рис. 1.9) с двух сторон.

Полка 1 располагается на внутренней широкой стороне тетивы. Полка 2 располагается на узкой стороне тетивы, выступая из нее на 10 мм. Эта выступающая часть входит в шпунт первого колена и служит направляющим. Отогнутая часть 3 обращена внутрь лестницы и является упором для механизма останова. Уголки установлены на обеих тетивах. Отверстия 4 в них служат подшипниками валика 1 механизма останова (рис. 1.10). На концах валика 1 имеются по одному кулачку 4, которые в сочетании с упорами 2 (поз. 3 на рис. 1.9) производят закрепление выдвинутых колен.

Посередине валика под углом около 45о к полости кулачков имеется выступающий палец 6 с проушиной на конце. К этой проушине прикреплен конец цепи 7 (поз. 2 на рис. 1.8). Если в вертикальном положении лестницы подтянуть цепь против часовой стрелки вниз, то валик 1, а также кулачок 4 повернутся так, что окажутся в плоскости ступеней второго колена, и не будут мешать выдвиганию колен лестницы.

 

 


Рис. 1.10. Механизм останова:

1 – валик; 2 – упор (поз. 3 на рис. 1.9); 3 – полка (поз. 1 на рис. 1.9); 4 – кулачок;
5 – тетива; 6 – выступающий палец; 7 – цепь (поз. 2 на рис. 1.8);
8 – ступень первого колена

 

Для закрепления колен лестницы, выдвинутой на заданную высоту, надо отрывисто подтянуть цепь в обратном направлении, т.е. снизу вверх. При этом начнется сдвигание колен лестницы и, кроме того, поворот валика 1. Палец 6 опустится вниз, а кулачки 4 поднимутся вверх до упора 2. При сдвигании колен кулачки 4 встретят на своем пути ступень 8 первого колена, упрутся в них и задержат сдвигание лестницы. При этом вся нагрузка передается на ступень 8 первого колена.

Пояс пожарный спасательный – индивидуальное приспособление, предназначенное для страховки при работе на высоте, спасания людей и самоспасания пожарных во время тушения пожаров, первоочередных аварийно-спасательных работ, а также для топора пожарного и карабина.

Пожарный пояс (рис. 1.11) состоит из ленты 2, пряжки 6, кожаной облицовки 3 с пятью парами люверсов (укрепленных отверстий 1 на конце пояса).

Карабин пожарный – карабин (рис. 1.12), входящий в состав снаряжения пожарного и предназначенный для страховки пожарного при работе на высоте, а также для спасания и самоспасания с высотных уровней. Он состоит из силовой скобы крюка 1, воспринимающего рабочую нагрузку, замкового соединения 2, обеспечивающего соединение крюка и откидной части затвора 4. Она шарниром 5 соединена с крюком 1. Откидная часть затвора замыкателем 3 (муфта с резьбой) запирает замковое соединение. Рабочий участок карабина обозначен цифрой 6.


Веревка пожарная спасательная – веревка, предназначенная для вооружения подразделений ГПС, используемая для страховки пожарных при тушении пожаров и проведения связанных с ними первоочередных аварийно-спасательных работ. Веревки могут быть обычного исполнения (ВПС) и термостойкие (ТПВ). Веревки изготовляют из высококачественного льна или из синтетических волокон. Длина спасательной веревки 25–30 м. Хранят веревки в чехлах из водонепроницаемой ткани. Веревки должны храниться в закрытых помещениях (отсеках автомобиля) с влажностью не более 70 %, защищенных от прямых солнечных лучей, масла, бензина и других растворителей, на расстоянии не менее 1 м от отопительных приборов.

Испытание оборудования осуществляется по нормативам, обусловленным Правилами по охране труда в подразделениях ГПС (табл. 1.3).

Таблица 1.3

Наименование ПТВ Периодич-ность испытаний Условия испытаний   Критерий годности
Установка Нагрузка, кгс Продолжительность, мин
Выдвижная лестница 1 раз в году и после ремонта На твердом грунте, под углом 75 о прислоняются к стене На каждое колено по 100     Не иметь повреждений. Выдвигание и складывание без заеданий
Лестница-палка Посередине 120 Не иметь повреждений и легко складываться
Штурмовая лестница Подвешивается за крюк На второй снизу ступени на каждую тетиву 80 Не иметь трещин и деформаций
Спасательная веревка 1 раз в 6 месяцев Распустить на длину. Подвесить     Отсутствие видимых повреждений. Удлинение менее 5 %
Пояса пожарные, спасательные поясные карабины 1 раз в году Подвесить на балке     Не иметь разрывов и повреждений. Карабин не должен иметь повреждения и изменения формы
Рукавные задержки 1 раз в году   Крюк не должен иметь повреждений, а тесьма разрывов

 







Date: 2015-05-09; view: 1238; Нарушение авторских прав



mydocx.ru - 2015-2026 year. (1.171 sec.) Все материалы представленные на сайте исключительно с целью ознакомления читателями и не преследуют коммерческих целей или нарушение авторских прав - Пожаловаться на публикацию