Главная Случайная страница


Полезное:

Как сделать разговор полезным и приятным Как сделать объемную звезду своими руками Как сделать то, что делать не хочется? Как сделать погремушку Как сделать так чтобы женщины сами знакомились с вами Как сделать идею коммерческой Как сделать хорошую растяжку ног? Как сделать наш разум здоровым? Как сделать, чтобы люди обманывали меньше Вопрос 4. Как сделать так, чтобы вас уважали и ценили? Как сделать лучше себе и другим людям Как сделать свидание интересным?


Категории:

АрхитектураАстрономияБиологияГеографияГеологияИнформатикаИскусствоИсторияКулинарияКультураМаркетингМатематикаМедицинаМенеджментОхрана трудаПравоПроизводствоПсихологияРелигияСоциологияСпортТехникаФизикаФилософияХимияЭкологияЭкономикаЭлектроника






Общие сведения. В настоящей лабораторной работе рассматривается применение ПЛК для управления шаговым двигателем





 

В настоящей лабораторной работе рассматривается применение ПЛК для управления шаговым двигателем. Структурная схема лабораторного стенда представлена на рисунке 1.

 

 

Рисунок 1 - Структурная схема лабораторного стенда.

 

Контроллер Melsec FX3u-16M имеет 8 дискретных входов и 8 дискретных выходов транзисторного типа, рассчитанных на постоянное напряжение 24В. В составе стенда используются модули ЦАП и АЦП (FX3u-4DA и FX3u-4AD), рассчитанные на коммутируемое напряжение в диапазоне -10 + 10В., а также модули интерфейсов ASI и CC-Link. Графическая сенсорная панель GOT940 программируется с помощью компьютера.

Пульт управления стендом содержит восемь тумблеров и светодиодов, подключенных к входам контроллера X0 – X7.

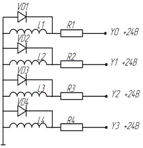
Используемый в составе стенда шаговый двигатель имеет четыре обмотки и подключен к контроллеру в соответствии с рисунком 2.

 

 
 

 

 


Рисунок 2 - Подключение шагового двигателя

 

Обмотки двигателя L1 - L4 подключены к выходам контроллера Y0 - Y3 через токоограничивающие резисторы R1 - R4. Диоды VD1 - VD4 предназначены для защиты транзисторов от обратных напряжений в момент выключения обмотки.

Для управления шаговым двигателем необходимо подавать на его обмотки напряжение питания в последовательности, указанной в таблице 1. (L4 L3 L2 L1)

 

Этап Обмотка L1 L2 L3 L4
  +      
  + +    
    +    
    + +  
      +  
      + +
        +
  +     +

 

За восемь этапов ротор двигателя совершит четыре полных шага, при этом, время необходимое на один оборот будет зависеть от суммарной длительности временных задержек между шагами.

Таким образом, управляя обмотками двигателя - включена (есть ток в обмотке), выключена, посредством выходов контроллера Y0 - Y3, можно управлять скоростью вращения двигателя и необходимой величиной перемещения рабочего органа.

 







Date: 2015-05-09; view: 597; Нарушение авторских прав



mydocx.ru - 2015-2026 year. (1.014 sec.) Все материалы представленные на сайте исключительно с целью ознакомления читателями и не преследуют коммерческих целей или нарушение авторских прав - Пожаловаться на публикацию