Главная Случайная страница


Полезное:

Как сделать разговор полезным и приятным Как сделать объемную звезду своими руками Как сделать то, что делать не хочется? Как сделать погремушку Как сделать так чтобы женщины сами знакомились с вами Как сделать идею коммерческой Как сделать хорошую растяжку ног? Как сделать наш разум здоровым? Как сделать, чтобы люди обманывали меньше Вопрос 4. Как сделать так, чтобы вас уважали и ценили? Как сделать лучше себе и другим людям Как сделать свидание интересным?


Категории:

АрхитектураАстрономияБиологияГеографияГеологияИнформатикаИскусствоИсторияКулинарияКультураМаркетингМатематикаМедицинаМенеджментОхрана трудаПравоПроизводствоПсихологияРелигияСоциологияСпортТехникаФизикаФилософияХимияЭкологияЭкономикаЭлектроника






Контрольные задачи





 

1. Определить скорость обыкновенного и необыкновенного лучей в кристаллах исландского шпата, считая n0 = 1,66; ne= 1,44.

2. Во сколько раз уменьшится интенсивность падающего света после прохождения через два николя, главные сечения которых составляют угол 60°. Потерями на отражение и преломление пренебречь.

 

ЛИТЕРАТУРА.

 

1. Савельев И.В. Курс общей физики, т.2, гл. ХIХ, §§134-136,141, 1978

2. Ландсберг Г.С. Оптика, с. 429, 197б.

 

ЛАБОРАТОРНАЯ РАБОТА №4

 

ЭКСПЕРИМЕНТАЛЬНОЕ ОПРЕДЕЛЕНИЕ ПОСТОЯННОЙ В ЗАКОНЕ

СТЕФАНА-БОЛЬЦМАНА ПРИ ПОМОЩИ ОПТИЧЕСКОГО ПИРОМЕТРА.

 

Теоретическое введение.

 

Заряженные частицы, которые входят в состав всякого реального тела, при любой температуре Т > 0 участвуют в различного вида тепловых движениях с ускорением и, следовательно, способны излучать электромагнитные волны. Это электромагнитное излучение получило название теплового, а интенсивность его зависит от температуры, химической природы и агрегатного состояния нагретого тела.

Энергия теплового движения частиц переходит в энергию электромагнитного излучения. Величина, численно равная количеству энергии, излучаемой за секунду с единицы поверхности тела, нагретого до температуры Т, называется энергетической светимостью тела (или излучательность):

, (1)

Нагретые твердые и жидкие тела излучают электромагнитные волны всех длин, т.е. тепловое излучение этих тел имеет сплошной спектр. Однако доля энергии, приходящаяся на различные участки спектра не одинакова, и зависит от температуры излучающего тела. Энергетическую светимость, приходящуюся на единичный интервал частот, называют спектральной плотностью энергетической светимости (или спектральной испускательной способностью); другими словами спектральной испускательной способностью называют энергию света, испускаемую единицей площади нагретого тела в единицу времени в единичном интервале частот:

, (2)

Таким образом,

(3)

Излучение называют равновесным, если вся подводимая к телу энергия теряется им в виде электромагнитных волн.

Электромагнитные волны, излучаемые нагретым телом, могут частично или полностью поглощаться другим телом. Спектральной поглощательной способностью тела называется физическая величина равная части падающего потока, поглощаемого единичной поверхностью в единичном интервале частот или длин волн. Для различных тел . Если (телом поглощаются волны всех частот), то тело называется абсолютно черным (при этом оно может иметь свое тепловое излучение).

Для различных тел величины спектральной испускательной и поглощательной способностей при одинаковых условиях резко отличаются, но их отношение не зависит от природы материала и является универсальной функцией частоты и температуры:

. (4)

Это соотношение носит название закона Кирхгофа. Так как для абсолютно черного тела и , то функция Кирхгофа представляет собой спектральную испускательную способность абсолютно черного тела.

Спектральная испускательная способность абсолютно черного тела описывается аналитической формулой Планка:

(5)

где: h =6,62 × 10-34 Дж × с - постоянная Планка;

- скорость света в вакууме;

е=2,72 - основание натуральных логарифмов;

.

Эта формула очень хорошо согласуется с опытом. Зависимость спектральной испускательной способности от частоты и температуры показана на рис. 1.

Площадь, охватываемая кривой распределения и осью абсцисс, пропорциональна энергетической светимости (излучательности) абсолютно черного тела RЭ. Подставляя (5) в (3), после интегрирования получим закон Стефана-Больцмана:

(6)

Энергетическая светимость (излучательность) абсолютно черного тела пропорциональна четвертой степени его абсолютной температуры. Постоянная Стефана-Больцмана

.

Из рис. 1 видно, что при увеличении температуры максимальное значение спектральной испускательной способности абсолютно черного тела смещается в сторону более высоких частот по закону Вина:

(7)

где: с – скорость света в вакууме, b=2,897 10-3 м×К., - частота на которую приходиться максимум величины .

 

 

Для объяснения экспериментально полученных законов (6) и (7) Планк высказал гипотезу, что испускание энергии электромагнитного излучения атомами и молекулами возможно только отдельными «порциями» - квантами энергии, величина которых . Колоколообразная форма кривых на рис. 1 объясняется тем, что наибольшее число квантов энергии, излучаемых телом при данной температуре (например при Т1 = сonst), приходиться на частоты близкие к . При повышении температуры тела возрастает число и энергия возбужденных атомов. Следовательно, растет число и энергия испускаемых фотонов. Это влечет за собой увеличение интегральной и спектральной испускательных способностей и увеличение относительного числа фотонов большей частоты. Поэтому при Т2 > Т1, все точки кривой лежат выше, чем при Т1, а максимум смещается в соответствии с законом Вина.


 

Цель работы.

 

Изучение законов теплового излучения.

Ознакомление с работой оптического пирометра.

Определение постоянной в законе Стефана-Больцмана.

 

Описание установки.

 


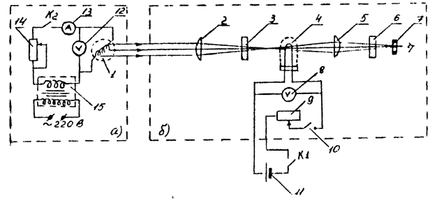
Схема установки приведена на рис. 2. Объектом исследования является вольфрамовая нить лампы 1. Температура этой нити пропорциональна силе тока, протекающего через нить и измеряемого амперметром 13. Силу тока можно изменять реостатом 14. Величину падений напряжения на нити накала, необходимую для расчета мощности (P=IU), затрачиваемой для поддержания заданной температуры нити лампы, измеряют вольтметром 12. Цепь накала спиралеобразной нити включается через понижающий трансформатор 15 в сеть 220В.

 
 

Основной частью пирометра является пирометрическая лампа 4 с дугообразной нитью, расположенной в фокусе объектива 2. Этот же объектив фокусирует лучи, идущие от

 

 

исследуемого объекта (спиралеобразной нити лампы 1), расположенной достаточно далеко. Можно поэтому считать, что в фокальной плоскости объектива изображение спиралеобразной нити накладывается на дугообразную нить пирометрической лампы. В оптическую схему кроме объектива 2 входят, окуляр 5, диафрагма 7, ослабляющий светофильтр 3, монохроматический светофильтр 6, позволяющий рассматривать в лучах красного цвета нить пирометрической лампы на фоне раскаленной спиралеобразной нити. Нить пирометрической лампы, служащей эталоном измеряемой яркостной температуры, запитывается от аккумулятора 11 или блока питания. Температура отсчитывается по шкале электроизмерительного прибора 8, представляющего собой дифференциальный вольтметр магнитоэлектрической системы, шкала которого проградуирована в градусах яркостной температуры спиралеобразной нити лампы 1.

Принцип действия ОПИР – 017

По мере возрастания температуры любого накаленного тела яркость его свечения увеличивается, а цвет изменяется.

Если сравнить различные удельные мощности излучения для одних и тех же монохроматических длин волн, то эти мощности будут зависеть от температуры накаленных тел.

Зависимость между удельной мощностью излучения (мощностью, излучаемой единицей поверхности тела в единицу времени), частотой излучения и температурой излучателя определяется формулой Планка.

Между тем формула Планка полностью справедлива только для так называемого абсолютно черного тела, представляющего собой воображаемый идеальный излучатель, развивающий наибольшую, принципиально возможную при данной температуре, мощность излучения.

Мощность излучения всех реальных физических тел отличается (в зависимости от разных длин волн) от мощности излучения абсолютно черного тела, оставаясь всегда меньше последней при прочих равных условиях. Поскольку мощность излучения реального тела при какой-то температуре всегда меньше мощности излучения абсолютно черного тела при той же температуре, то, оценивая температуру по монохроматической яркости, нельзя определить действительную температуру реального физического тела. Вместо нее всегда определиться относительно меньшая, так называемая яркостная температура.


Яркостной температурой абсолютно черного тела называется такая температура, при которой его монохроматическая яркость была равна соответствующей физической яркости реального физического тела. (Понятие яркости и других фотометрических величин вводится в §114 Курса общей физики И.В.Савельева, т.2, 1988 г.)

От яркостной, всегда можно перейти расчетным путем к истинной температуре, если только известно отношение монохроматических яркостей данного реального физического тела и абсолютно черного тела, для выбранного цвета излучения и данного интервала температуры, т.е. если известен коэффициент монохроматической излучательной способности (так называют указанное соотношение яркостей).

Итак, рассматриваемый оптический метод измерения температуры раскаленных тел сводиться к измерению их монохроматической яркости.

Так как измерение абсолютного значения яркости представляется затруднительным, то в оптическом пирометре помещают эталон яркости, для которого заранее способом сравнения с искусственным абсолютно черным телом установлена зависимость яркости от температуры. С яркостью эталона сравнивают яркость тела, температура которого измеряется. В оптическом пирометре с исчезающей нитью таким эталоном служит яркость нити специальной электрической лампы накаливания, именуемой пирометрической (или фотометрической) лампой.

Оптическая система пирометра позволяет рассматривать нить лампы на фоне изображения раскаленного тела (Рис. 3). Доводя яркость нити изменением тока накала до совпадения с яркостью накаленного тела, можно утверждать, что поскольку равны монохроматические яркости, то равны и температуры. А так как температура эталона всегда известна, то известна и измеряемая яркостная температура тела.

Момент достижения равенства монохроматических яркостей определяется на глаз с большей точностью, поскольку человеческий глаз является исключительно чувствительным нулевым индикатором контрастности излучения светящихся тел.

Достижение равенства яркостей, называемое фотометрическим равновесием, воспринимается наблюдателем, как исчезновение нити лампы на фоне изображения тела. По достижении фотометрического равновесия отсчитывается яркостная температура объекта измерения. Эту температуру отсчитывают по шкале прибора, градуированной в градусах температуры.

Для длительного сохранения неизменности характеристик пирометрической лампы температура ее нити не должна превышать 1400 оС. Поэтому при измерении температур свыше 1400 оС надо ослабить яркость излучения тела, температура которого изменяется, настолько, чтобы ослабленная яркость объекта измерения при его возможной наивысшей температуре не превосходила яркости, соответствующей 1400 оС.


 
 

Рис. 3

Такое ослабление яркости тела, температура которого измеряется, достигается введением на пути лучей между нагретым телом и пирометрической лампой поглощающего стекла (светофильтра), которое поглощает часть энергии излучения нагретого тела.

 

Порядок выполнения работы.

 

1. Проверить электрическую цепь, собранную на лабораторном столе, в соответствии со схемой на рис. 2. Ключ K1 должен быть замкнут.

2. Установить нулевую отметку на поворотном кольце реостата 1 (рис. 3) против такой же отметки на корпусе. Стрелка прибора при этом должна стоять на нулевой отметке шкалы (если это не так, следует обратиться к преподавателю).

3. Вывести ослабляющий светофильтр. Для чего головку 5 (рис. 3), утопив её, повернуть так, чтобы указательная точка на головке совпадала с голубой точкой, нанесенной на корпусе прибора.

4. Поворотом головки 4 вывести красный светофильтр, если он введен и взявшись рукой за накатанный конец трубки окуляра 3, перемещать тубус окуляра вдоль оси, добиваесь четкого изображения нити пирометрической лампы.

5. Ввести в поле зрения красный светофильтр.

6.

 
 

Включить источник питания в цепи накала лампы 1. Установить силу тока через спиралеобразную нить, заданную преподавателем.

7. Направить объектив прибора 2 на спираль лампы 1 (Рис. 2). Приложив глаз к входной диафрагме окуляра, перемещать тубус до тех пор, пока в поле зрения не появиться четкое изображение спиралеобразной нити одновременно с нитью пирометрической лампы.

8. Добиться совмещения изображения спиралеобразной нити с верхней частью нити пирометрической лампы, как показано на рис. 4.

9. Изменяя яркость нити пирометрической лампы поворотом кольца реостата, добиться одинаковой яркости обеих спиралей.

10. Отсчитать яркостную температуру tярк в градусах Цельсия по нижней шкале 6 (Рис. 3);значения I накала, U накала и tярк занести в таблицу.

11. Не изменяя величины I накала, повторить измерения яркостной температуры еще два раза путем подхода со стороны слишком малой и слишком большой яркости нити пирометрической лампы. Данные занести в таблицу.

12. Описанные выше измерения провести еще при четырех значениях тока накала, указанных в таблице или заданных преподавателем. Если температура спиралеобразной нити больше 1400 оС и не удается добиться исчезновения контраста между нитью пирометрической лампы и фоном раскаленной спиралеобразной нити, то вводят ослабляющий светофильтр, путем совмещения указательной точки на головке 5 (см. рис. 3) с красной точкой, нанесенной на корпусе прибора. Температуру отсчитывают по верхней шкале.

Таблица 1.

 

           
I   делен          
А          
U делен          
В          
    оС          
         
         
оС          
Тярк = tярк+273   (К)          
(К)          
(К)          
         
         
  sср  
  Ds          
  Dsср  

 

Измерения на этом заканчиваются. Повернуть кольцо реостата против часовой стрелки до упора. Разомкнуть ключи К1 и К2.

Записать цену деления амперметра и вольтметра, включенных в цепь лампы накаливания (см. рис. 2).

Обработка результатов измерения (заполнение таблицы).

Рассчитать среднее из трех значений яркостной температуры по шкале Цельсия Записать яркостную температуру по шкале Кельвина:

Так как спиралеобразная нить лампы накаливания выполнена из вольфрама и не является абсолютно черным телом, то для определения истинной температуры Тист по измеренной яркостной Тярк. необходимо воспользоваться поправочным графиком, прилагаемым к установке.

С помощью вспомогательного графика рассчитать и занести в таблицу значения .

Рассчитать по формуле мощность, излучаемую с единицы поверхности спиралеобразной нити при измеренных температурах, где площадь поверхности нити S=0,83×10-5 м2, или указанная преподавателем.

Вычислить значения постоянной в законе Стефана-Больцмана для всех пяти температур нити накаливания.

Рассчитать sсред ..

Вычислить абсолютную ошибку Dsсред.

Окончательный ответ записать в виде:

 

Вопросы для защиты.

 

1. Что такое энергетическая светимость, спектральная испускательная способность тела, спектральная поглощательная способность тела.

2. Что такое абсолютно черное тело? Примеры.

3. Закон Кирхгофа.

4. Закон Стефана-Больцмана.

5. Закон смещения Вина. Как объяснить законы смещения Вина с точки зрения квантовой теории излучения?

6. В чем состоит и как преодолена так называемая «ультрафиолетовая катастрофа»?

7. Гипотеза Планка. Формула Планка для теплового излучения.

 

Литература.

1. И.В.Савельев. Курс физики. т. 3, §§1-6, стр. 7-32. М.Наука 1989 г.

2. Г.С.Ландсберг. Оптика. §§ 194-201, стр. 682-700, М.Наука 1976 г.

 

 







Date: 2015-05-08; view: 772; Нарушение авторских прав



mydocx.ru - 2015-2026 year. (1.647 sec.) Все материалы представленные на сайте исключительно с целью ознакомления читателями и не преследуют коммерческих целей или нарушение авторских прав - Пожаловаться на публикацию