Главная Случайная страница


Полезное:

Как сделать разговор полезным и приятным Как сделать объемную звезду своими руками Как сделать то, что делать не хочется? Как сделать погремушку Как сделать так чтобы женщины сами знакомились с вами Как сделать идею коммерческой Как сделать хорошую растяжку ног? Как сделать наш разум здоровым? Как сделать, чтобы люди обманывали меньше Вопрос 4. Как сделать так, чтобы вас уважали и ценили? Как сделать лучше себе и другим людям Как сделать свидание интересным?


Категории:

АрхитектураАстрономияБиологияГеографияГеологияИнформатикаИскусствоИсторияКулинарияКультураМаркетингМатематикаМедицинаМенеджментОхрана трудаПравоПроизводствоПсихологияРелигияСоциологияСпортТехникаФизикаФилософияХимияЭкологияЭкономикаЭлектроника






Транзистор





 

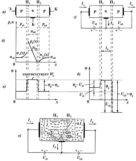
Транзистор – это полупроводниковый триод, предназначенный для усиления или генерирования электрических сигналов. Биполярный транзистор сплавного типа представляет собой монокристалл, имеющий три области с различными типами электропроводности. В транзисторе p-n-p-типа левую p-область называют эмиттером, правую – коллектором, среднюю n-область – базой. В транзисторе n-p-n-типа левая n-область является эмиттером, правая – коллектором, средняя p-область – базой. Рассмотрим принцип действия транзистора на примере структуры p-n-p-типа. При отсутствии внешних напряжений распределение концентраций основных и неосновных носителей заряда показано на рис. 1.1, б пунктирными линиями.

  Рис. 1.1. Структура биполярного транзистора типа p-n-p, распределение потенциала φ и концентраций основных и неосновных носителей

 

Концентрация дырок в эмиттере и коллекторе больше, чем концентрация электронов в базе. В состоянии равновесия на границах p-n-переходов (П1 и П2) возникают потенциальные барьеры, как показано на рис. 1.1, в. Если к выводам транзистора подключить внешние напряжения таким образом, что эмиттерный переход смещается в прямом направлении, а коллекторный – в обратном, то такое включение соответствует усилительному режиму работы транзистора и называется нормальным. Применительно к структуре p-n-p-типа такому смещению переходов соответствуют напряжения и . При наличии внешних напряжений распределение концентраций носителей заряда показано на рис. 1.1, б сплошными линиями, потенциальные барьеры показаны на рис. 1.1, д. При этом потенциальный барьер эмиттерного перехода уменьшился на величину , а потенциальный барьер коллекторного перехода увеличился на величину . Поскольку потенциальный барьер коллекторного перехода увеличился, дырки через этот переход из коллектора в базу не поступают. Снижение потенциального барьера эмиттерного перехода приводит к тому, что увеличивается количество дырок, которые могут преодолеть этот барьер и перейти в базу, в результате чего концентрация дырок на границе эмиттерного перехода увеличивается. При этом создаются условия для движения электронов из базы в эмиттер, но так как концентрация дырок на 2-3 порядка выше, бóльшая часть дырок после рекомбинации с электронами базы попадает в базовую область и образует ток эмиттера .

Для базы дырки являются неосновными носителями. В базе происходит рекомбинация дырок с электронами, поступающими от "–" источника питания , поэтому концентрация дырок в базе начинает уменьшаться. За счет того, что база выполняется очень тонкой (толщина базовой области составляет несколько микрометров), время свободного пробега дырок через базу намного меньше времени их жизни. Таким образом, бóльшая часть дырок быстро проходит базовую область, достигает границы коллекторного перехода, втягивается его полем в коллекторную область и образует ток коллектора .

Ток базы характеризует ту часть дырок, которая теряется на рекомбинацию с основными носителями базы (электронами) и с электронами, поступающими от "–" источника питания . – обратный ток коллекторного перехода (обусловлен движением неосновных носителей заряда через коллекторный переход).

Ток эмиттера равен сумме токов коллектора и базы:

. (1.1)

Ток коллектора

, (1.2)

где – коэффициент передачи тока от эмиттера к коллектору.

. (1.3)

Рассматриваемая схема включения транзистора (рис. 1.1, г) называется схемой с общей базой (ОБ), так как база является общим электродом для входной и выходной цепи.

В зависимости от того, какой электрод является общим для входной и выходной цепи, существует три схемы включения транзистора: с общей базой (ОБ), с общим эмиттером (ОЭ) и с общим коллектором (ОК). В схеме с ОБ эмиттерный ток называется управляющим, а коллекторный ток – управляемым. Схема с ОБ усилением по току не обладает, так как ток коллектора меньше тока эмиттера < . Усиление по мощности в данной схеме может быть достигнуто только за счет усиления по напряжению.

 







Date: 2015-05-08; view: 804; Нарушение авторских прав



mydocx.ru - 2015-2026 year. (2.861 sec.) Все материалы представленные на сайте исключительно с целью ознакомления читателями и не преследуют коммерческих целей или нарушение авторских прав - Пожаловаться на публикацию