Главная Случайная страница


Полезное:

Как сделать разговор полезным и приятным Как сделать объемную звезду своими руками Как сделать то, что делать не хочется? Как сделать погремушку Как сделать так чтобы женщины сами знакомились с вами Как сделать идею коммерческой Как сделать хорошую растяжку ног? Как сделать наш разум здоровым? Как сделать, чтобы люди обманывали меньше Вопрос 4. Как сделать так, чтобы вас уважали и ценили? Как сделать лучше себе и другим людям Как сделать свидание интересным?


Категории:

АрхитектураАстрономияБиологияГеографияГеологияИнформатикаИскусствоИсторияКулинарияКультураМаркетингМатематикаМедицинаМенеджментОхрана трудаПравоПроизводствоПсихологияРелигияСоциологияСпортТехникаФизикаФилософияХимияЭкологияЭкономикаЭлектроника






Выходные устройства





Выходные устройства (ВУ), под которыми понимаются устройства, предназначенные для формирования, размножения и распределения импульсов управления между парал­лельно и последовательно соединенными тиристорами, являются одним из наиболее важных и ответственных узлов системы управления мощными преобразователя­ми, определяющим их технико-экономические показате­ли и надежность преобразователя. Выходные устройст­ва состоят из генераторов-формирователей и размножи­телей импульсов.

Генераторы импульсов (ГИ) вырабатывают импуль­сы управления такой длительности, формы и мощности, которые необходимы для обеспечения надежного вклю­чения параллельно и последовательно соединенных ти­ристоров в зоне проводимости.

Генераторы импульсов могут быть выполнены с исполь­зованием как тиристорных ключей, так и транзистор­ных. Тиристорные ключи имеют практически неограни­ченную амплитудную мощность, меньшую стоимость, но требуют применения специальных мер для обеспечения их быстрого и надежного выключения.

Транзисторные ключи имеют ограниченную мощ­ность, повышенную стоимость, но легко, надежно и быстро запираются уменьшением тока базы.

 
 

Амплитудные мощности импульсов управления для преобразователей повышенной мощности составляют от единиц до десятков киловатт, и поэтому целесообразнее использовать в качестве ключевого элемента тиристор.

 

Рис. 15. Принципиальная схема тиристорного генерато­ра импульсов.

 

Размножители импульсов (РИ) предназначены для гальванической развязки СУ от силовой части преобра­зователя и получения числа импульсов управления, определяемого числом последовательно или параллель­но соединенных тиристоров.

При параллельном соединении тиристоров размножение им­пульсов осуществляется параллельным соединением ИТр. При последовательном соединении тиристоров, ввиду высокого напряжения требуется кабельное или каскадное соединение ИТр.

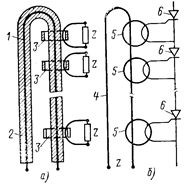
Кабельное соединение ИТР представляет собой частный случай последова­тельного, когда все последо­вательно включенные обмот­ки выполнены кабельным витком (рис. 16), где циф­рами обозначены:

1 жила высоковольтного кабеля;

2—изоляция кабеля (рас­считана на максимальное напряжение выпрямителя);

3 — групповые ИТр, к кото­рым подключается вторая ступень кабельного размно­жения импульсов Z через индивидуальные ИТр 5 для включения силовых тиристоров 6;

4— условное обозначение кабеля второй ступени (более низковольтного, чем кабель 7).

К недостаткам кабельно-кабельных схем размноже­ния, относятся их повышенная чувствительность к помехам и неудобство в производстве.

Рис.16. Двухступенчатая кабельно-

кабельная система раз­множения

импульсов.

 







Date: 2015-05-08; view: 742; Нарушение авторских прав



mydocx.ru - 2015-2026 year. (0.917 sec.) Все материалы представленные на сайте исключительно с целью ознакомления читателями и не преследуют коммерческих целей или нарушение авторских прав - Пожаловаться на публикацию