Главная Случайная страница


Полезное:

Как сделать разговор полезным и приятным Как сделать объемную звезду своими руками Как сделать то, что делать не хочется? Как сделать погремушку Как сделать так чтобы женщины сами знакомились с вами Как сделать идею коммерческой Как сделать хорошую растяжку ног? Как сделать наш разум здоровым? Как сделать, чтобы люди обманывали меньше Вопрос 4. Как сделать так, чтобы вас уважали и ценили? Как сделать лучше себе и другим людям Как сделать свидание интересным?


Категории:

АрхитектураАстрономияБиологияГеографияГеологияИнформатикаИскусствоИсторияКулинарияКультураМаркетингМатематикаМедицинаМенеджментОхрана трудаПравоПроизводствоПсихологияРелигияСоциологияСпортТехникаФизикаФилософияХимияЭкологияЭкономикаЭлектроника






Полупроводниковые резисторы





 

Полупроводниковыми резисторами называют приборы, принцип действия которых основан на свойствах полупроводников изменять свое сопротивление под действием температуры, электромагнитного излучения, приложенного напряжения и других факторов. Они все имеют нелинейные вольт-амперные характеристики (ВАХ).

Терморезистор (термистор) – полупроводниковый прибор, сопротивление которого зависит от температуры. Имеет вид диска, цилиндра, стержня, шайбы, бусинки. Обладает отрицательным температурным коэффициентом сопротивления. Типовая вольт-амперная характеристика термистора показана на рисунке 16.

Начальный участок почти линеен, так как при малых токах мощность рассеяния терморезистора мала и не влияет на его температуру (ОА на рисунке 16). С увеличением тока растет температура, его сопротивление уменьшается, на участке ВС напряжение падает. Часто пользуются температурной характеристикой термистора R = f (t).

Параметры:

- холодное сопротивление (при t = 20°C);

- температурный коэффициент сопротивления (TKR), %;

- t max, τ, P max.

Применяют для измерения и регулирования температуры, термокомпенсации.

U

B
R

I
C
 
U = f (I)
R = f (t)
 
t, ° C
A

 


Рисунок 16 – ВАХ и температурная характеристика термистора

 

Маркировка:

1 элемент – буквы: СТ – резисторы (сопротивления) термочувствительные; Т и ТШ – резисторы измерительные; ТП – стабилизирующие; ТКП – регулируемые бесконтактные.

2 элемент – цифра, обозначающая тип полупроводника: 1 – кобальт-марганцевые, 2 – медно-марганцевые, 3 – медно-кобальтово-марганцевые, 4 – кобальт-никель-марганцевые.

3 элемент – номер конструкторской разработки.

Например: СТ2-26, СТ4-15, ММТ-6, ТШ-2, ТКП – 450.

Позисторы – полупроводниковые термисторы с положительным температурным коэффициентом (титанат бария с примесями), сопротивление увеличивается при увеличении температуры.

Основные характеристики – вольт-амперная и температурная
(рисунок 17).

Включая позистор последовательно и параллельно с резистором,
можно изменять форму характеристики. Параметры аналогичны
параметрам термистора.

Применяют для схем автоматического регулирования усиления (АРУ), регулирования температуры, термокомпенсации, в схемах ограничителей и стабилизаторов тока, для предохранительных приборов и устройств защиты от перегрева, в качестве бесконтактных переключающих элементов.

Варисторы – полупроводниковые резисторы (из карбида Si), сопротивление которых зависит от приложенного напряжения.

I = f (U) – нелинейная ВАХ варистора (рисунок 18).

 

R,Ом
105
104
103
– 50
 
 
 
t, °С
R = f (t)
–20
–10
–20
–10
 
 
 
 
I = f (U)
 
U, В
I, мА

 

Рисунок 17 – ВАХ и температурная характеристика позистора  
Рисунок 18 – ВАХ варистора  

 


Параметры:

- статическое сопротивление при постоянных значениях тока и напряжения: R ст = U / I;

- динамическое сопротивление переменному току: R д = ∆ U / ∆ I;

- коэффициент нелинейности – отношение статического сопротивления к динамическому в данной точке характеристики: β = R ст / R д;

- показатель нелинейности;

-

Применяют для регулирования электрических величин, стабилизации токов и напряжений, для защиты элементов от перенапряжений.

Маркировка состоит из 4 элементов:

1 элемент – буквы СН (сопротивление нелинейное);

2 элемент – цифра, тип полупроводникового материала (1 – карбид Si);

3 элемент – цифра, тип конструктивного выполнения (1 – стержневой и т. д.);

4 элемент – цифра, соответствующая длине токоведущего элемента.

Например: СН1 -1, СН -3.

Тензорезистор – пластина или стержень из полупроводника с омическими контактами, при деформации которого происходит изменение его удельного сопротивления.

Чаще всего используют при двух видах деформации: всестороннем сжатии, одностороннем сжатии или растяжении.

При одноосной деформации нарушается симметрия кристалла, что приводит к искажению формы активных зон и изменению эффективной массы носителей заряда и концентрации заряда.

Один конец пластины закрепляется неподвижно, а на другой действует сила F. Для характеристики изменения сопротивления при деформации коэффициент тензочувствительности


 

 

отношение относительного изменения сопротивления к относительной деформации в данном направлении (l – размер полупроводника в направлении деформации).

Для уменьшения влияния температуры на сопротивление тензорезисторы изготавливают из примесных полупроводников:

 

m = 150 – 175 (для Te и Si).

 

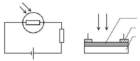
Фоторезисторы – полупроводниковые приборы, электрическое сопротивление которых изменяется под действием светового потока (обычно R резко уменьшается).

Конструкция: светочувствительный элемент – прямоугольная или круглая таблетка, спрессованная из полупроводникового материала, или тонкая пленка на стеклянной подложке с электродами с малым переходным сопротивлением (рисунок 19). Наиболее применяемы фоторезисторы на основе сернистого и селенистого свинца или кадмия.

 

Ф
+
E
R н
 
 
 

 

Рисунок 19 – Конструкция фоторезистора:

1 – светочувствительный элемент; 2 – электроды; 3 – изолятор

 

При отсутствии тока через фоторезистор течет темновой ток

 

где R Т – темновое сопротивление фоторезистора.

 

При освещении световой ток

I Ф = I СI Т – первичный фототок.

Основные характеристики (рисунок 20):

• спектральная – зависимость чувствительности фоторезистора от длины волны светового излучения;

• световая – зависимость фототока от падающего светового потока постоянного спектрального состава;

• вольт-амперная – зависимость фототока (или темнового тока) от приложенного напряжения при постоянном световом потоке:

I Ф (I Т) = f (U Ф) = const – близка к линейной.

Принцип действия: при увеличении светового потока часть электронов проводимости сталкивается с атомами, ионизирует их и создает дополнительный поток электронов (возникает фототок проводимости).

 
I
I Ф = f (U)
Ф = const
U = const
I Ф = f (E)
I Ф
U
E
 
 
 
 
 
λ, мкм
 
 

Рисунок 20 – Характеристики фоторезистора

Основные параметры:

• темновое сопротивление R Т, τ;

• темновой и световой токи;

• удельная чувствительность – отношение фототока к произведению светового потока на приложенное напряжение:

 

 

где I Ф – фототок, изменяющийся в пределах освещенности от 0 до 200 лк;

• рабочее напряжение для

Маркировка: ФСК -1, ФСК – 2, ФСА – 6, СФЗ – 1.

Применение: в промышленной электронике позволяют заменить зрение человека автоматически действующим прибором, в телевидении, фототелеграфии, сигнализации и связи в диапазоне инфракрасных волн и в схемах электронной автоматики.

Магниторезисторы – полупроводниковые резисторы, электрическое сопротивление которых существенно изменяется под действием
магнитного поля.

 







Date: 2015-05-05; view: 1772; Нарушение авторских прав



mydocx.ru - 2015-2026 year. (0.866 sec.) Все материалы представленные на сайте исключительно с целью ознакомления читателями и не преследуют коммерческих целей или нарушение авторских прав - Пожаловаться на публикацию