Главная Случайная страница


Полезное:

Как сделать разговор полезным и приятным Как сделать объемную звезду своими руками Как сделать то, что делать не хочется? Как сделать погремушку Как сделать так чтобы женщины сами знакомились с вами Как сделать идею коммерческой Как сделать хорошую растяжку ног? Как сделать наш разум здоровым? Как сделать, чтобы люди обманывали меньше Вопрос 4. Как сделать так, чтобы вас уважали и ценили? Как сделать лучше себе и другим людям Как сделать свидание интересным?


Категории:

АрхитектураАстрономияБиологияГеографияГеологияИнформатикаИскусствоИсторияКулинарияКультураМаркетингМатематикаМедицинаМенеджментОхрана трудаПравоПроизводствоПсихологияРелигияСоциологияСпортТехникаФизикаФилософияХимияЭкологияЭкономикаЭлектроника






Измерение вакуума





Под измерением вакуума понимают измерение давления разреженного газа. В зависимости от диапазонов измеряемых давлений применяют различные типы манометров. Основными из них являются жидкостные (ртутные), термоэлектрические, электроразрядные и магнитные.

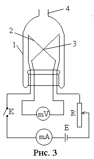
В настоящей работе применяется термопарный манометр (рис. 3). Он состоит из двух частей: манометрической лампы ЛТ – 4М, подключаемой к вакуумной системе, и электрического измерительного прибора ВТ – 2А. Манометрическая лампа выполняет функцию датчика, а с помощью прибора устанавливается режим работы лампы и измеряется давление.

Манометрическая лампа состоит из металлического баллона 1, внутри которого помещена нить накала 2, в виде тонкой платиновой проволоки, и термопары 3 из хромеля и копеля. Термопара приварена к средней части нити накала, благодаря чему между ними осуществляется хороший тепловой контакт. Отросток 4 служит для подключения лампы к вакуумной системе.

Принцип действия манометра заключается в том, что при достаточно низком давлении, когда средняя длина свободного пробега молекул ~ L, теплопроводность газа начинает зависеть от давления. Чем меньше давление, тем меньше теплоотдача с нити накала и поэтому выше температура горячего спая термопары, а следовательно, и ЭДС термопары при том же токе накала. Прибор ВТ–2А, измеряющий термо-ЭДС термопары, может быть проградуирован в милливольтах или непосредственно в единицах измеряемого давления.







Date: 2015-05-05; view: 757; Нарушение авторских прав



mydocx.ru - 2015-2026 year. (1.262 sec.) Все материалы представленные на сайте исключительно с целью ознакомления читателями и не преследуют коммерческих целей или нарушение авторских прав - Пожаловаться на публикацию