Главная Случайная страница


Полезное:

Как сделать разговор полезным и приятным Как сделать объемную звезду своими руками Как сделать то, что делать не хочется? Как сделать погремушку Как сделать так чтобы женщины сами знакомились с вами Как сделать идею коммерческой Как сделать хорошую растяжку ног? Как сделать наш разум здоровым? Как сделать, чтобы люди обманывали меньше Вопрос 4. Как сделать так, чтобы вас уважали и ценили? Как сделать лучше себе и другим людям Как сделать свидание интересным?


Категории:

АрхитектураАстрономияБиологияГеографияГеологияИнформатикаИскусствоИсторияКулинарияКультураМаркетингМатематикаМедицинаМенеджментОхрана трудаПравоПроизводствоПсихологияРелигияСоциологияСпортТехникаФизикаФилософияХимияЭкологияЭкономикаЭлектроника






Рыбозащитные устройства на водотоках





Для водозаборных сооружений с далеко выдвинутыми оголовками обычно применяются плоские сетки, иногда со специальными каналами – рыбоотводами, и сетчатые барабаны.

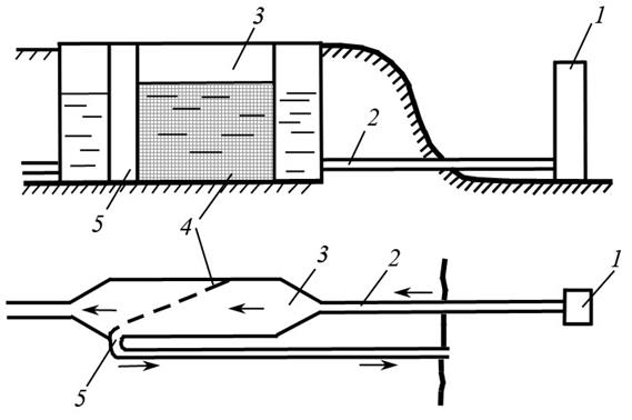
Плоская сетка с рыбоотводом:

1 – оголовок; 2 – линия всасывания или самотечная линия; 3 – сеточная камера;

4 – сетка; 5 – рыбоотвод

 

Плоские сетки с рыбоотводами устанавливаются на водоподводящих линиях после водоприемников.

Сетчатые барабаны устанавливаются непосредственно на входе в водозаборные отверстия оголовков.

Установка сетчатых барабанов на водозаборе:

1 – оголовок; 2 – линия всасывания; 3 – сетчатые барабаны

 

Для водозаборов, расположенных недалеко от берега, плоские сетки и барабаны иногда дополняются струенаправляющими щитами (отбойными козырьками).

При этом плоские сетки устанавливаются непосредственно на входе в водозаборные сооружения. Плоские сетки рекомендуется использовать и на понтонных водозаборах.

Защита водозабора на понтоне:

1 – понтон; 2 – напорная линия; 3 – плоская сетка

Сетчатые барабаны устанавливаются непосредственно на входе в водозаборные отверстия.

Сетчатые барабаны на водозаборах:

1 – линия всасывания; 2 – сетчатый барабан; 3 – эстакада или мостки

 

Отбойные козырьки устанавливаются непосредственно в водотоках, перед понтонами и вертикально расположенными всасывающими трубами.

Расположение отбойных козырьков на водозаборах:

1 – понтон; 2 – линия всасывания; 3 – напорная линия; 4 – отбойный козырек

 

Для водозаборных сооружений, расположенных на берегу или в теле плотины рекомендуются: плоские сетки, плоские сетки с рыбоотводами (см. выше), сетчатые барабаны и запони – плавучие заграждения.

Сетчатые барабаны на береговом водозаборе:

1 – оголовок; 2 – линия всасывания или самотечная линия; 3 – сетчатые барабаны

 

Запони устраиваются непосредственно в водотоках перед оголовками.

Запонь на водозаборе:

1 – оголовок; 2 – линия всасывания или самотечная линия; 3 – запонь

 

Для водозаборных сооружений с оголовками, расположенными в ковшах рекомендуются плоские сетки, иногда с рыбоотводами, запони и электрические заградители.

Водозабор в ковше или подходящем канале:

1 – оголовок; 2 – линия всасывания или самотечная линия; 3 – плоская сетка

Использование плоской сетки с рыбоотводом:

1 – оголовок; 2 – линия всасывания или самотечная линия; 3 – сетка; 4 – рыбоотвод

 

Запонь на ковше или подходном канале:

1 – оголовок; 2 – линия всасывания или самотечная линия; 3 – запонь

Электрические заградители на ковше или подходном канале:

1 – оголовок; 2 – линия всасывания или самотечная линия; 3 – электроды электрозаградителя

 







Date: 2015-06-08; view: 852; Нарушение авторских прав



mydocx.ru - 2015-2026 year. (0.999 sec.) Все материалы представленные на сайте исключительно с целью ознакомления читателями и не преследуют коммерческих целей или нарушение авторских прав - Пожаловаться на публикацию